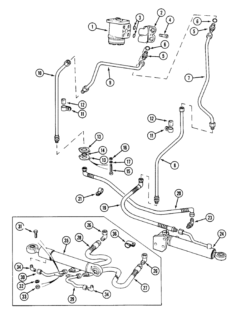
Запчасти Case IH 1594 (5-112) - STEERING CYLINDER AND TUBES, MFD TRACTORS WITH CAB (05) - STEERING

Схема запчастей Case IH 1594 - (5-112) - STEERING CYLINDER AND TUBES, MFD TRACTORS WITH CAB (05) - STEERING
28
12
34
24
21
16
1
6
10
36
27
2
34
20
30
23
29
19
12
3
35
13
11
17
32
6
9
31
15
5
4
26
13
8
33
26
11
14
5
7
FIT
1:1
100%

Артикул

Название

Примечание

Количество

1

REF

INSTRUCTION

VALVE - steering, See Figure 5-106

1шт.

2

K207388

BLOCK

- valve connections

1шт.

3

238-6118

O-RING,0.103" Thk x 0.862" ID, -118, Cl 6, 90 Duro

4шт.

4

K653941

HEX SOC SCREW,M10 x 1 x 30mm, Cl 12.9

- M10 x 30 mm

2шт.

5

218-5059

HYD CONNECTOR,3/4"-16, 37 Degree x 3/4"-16, O-Ring

ADAPTER - straight, 3/4-16 inch flare x O-ring boss

2шт.

6

K623591

O-RING

- 5/8 inch (16 mm) ID

2шт.

7

K207444

PIPE

TUBE - left-hand, upper

1шт.

8

K202292

PIPE,0.5" OD x 16.5, 10.875" L

TUBE - left-hand, lower

1шт.

9

K207445

PIPE

TUBE - right-hand, upper

1шт.

10

K206655

PIPE,0.5" OD x 10.562, 18.344" L

TUBE - right-hand, lower

1шт.

11

K621717

CLIP

CLAMP - tube

2шт.

12

K926858

TUBE,0.47" ID x 0.625" OD x 1" L

SLEEVE - nylon

2шт.

13

K945907

RING, SNAP

- clamp

4шт.

14

K628856

O-RING,0.649" ID x 0.25" Width

- 5/8 inch (16 mm) ID

2шт.

15

K602704

SCREW

BOLT - 1/4 UNC x 7/8 inch

4шт.

16

K626662

WASHER

- 1/4 inch

8шт.

17

492-11025

LOCK WASHER,1/4"

WASHER, LOCK, 1/4"

4шт.

19

K210216

HOSE

TUBE - flexible, 3/4 UNF x 30-1/2 inch, P.I.N. 11221501 and after

1шт.

20

K210237

HOSE

TUBE - flexible, 3/4 UNF x 36 inch, P.I.N. 11221501 and after

1шт.

21

K13116

CLIP

- tube, P.I.N. 11221501 and after

1шт.

23

K395116

FITTING

ELBOW - M18 x 3/4 inch UNF (Carraro 117985), P.I.N. 11221501 and after

1шт.

24

REF

INSTRUCTION

CYLINDER ASSEMBLY - steering, See Figure 5-120, P.I.N. 11221501 and after

1шт.

26

K260228

FITTING

ELBOW - (Carraro 105935), prior to P.I.N. 11221501

2шт.

27

K205101

HOSE ASSY.

TUBE - flexible, left-hand (Carraro 105869), prior to P.I.N. 11221501

1шт.

28

K205100

TUBE

- flexible, right-hand (Carraro 110196), prior to P.I.N. 11221501

1шт.

29

K260227

PIPE

TUBE - rigid, left-hand (Carraro 101521), prior to P.I.N. 11221501

1шт.

30

K260226

PIPE

TUBE - rigid, right-hand (Carraro 101520), prior to P.I.N. 11221501

1шт.

31

614-8025

BOLT,Hex, M8 x 1.25 x 25mm, Cl 8.8, Full Thd

- hex, full threads, 8 - 1.25 x 25 mm, prior to P.I.N. 11221501

1шт.

32

892-11008

LOCK WASHER,8mm ID

WASHER, LOCK, , Prior to P.I.N. 11221501 M8

1шт.

33

43362

NUT,M8 x 1.25, Cl 10

M8, Cl 10, Tube screw (Carraro 22115), prior to P.I.N. 11221501

1шт.

34

K260225

FITTING

ELBOW - cylinder tube (Carraro 101522), prior to P.I.N. 11221501

2шт.

35

REF

INSTRUCTION

CYLINDER ASSEMBLY - steering, See Figure 5-118, prior to P.I.N. 11221501

1шт.

36

K13116

CLIP

- tube

1шт.

Выбрано товаров: 33