Запчасти Case IH 1594 (5-120) - STEERING CYLINDER, MFD TRACTORS P.I.N. 11221501 AND AFTER (05) - STEERING

Схема запчастей Case IH 1594 - (5-120) - STEERING CYLINDER, MFD TRACTORS P.I.N. 11221501 AND AFTER (05) - STEERING
16
23
25
13
21
11
17
22
14
15
18
10
12
24
19
20
FIT
1:1
100%

Артикул

Название

Примечание

Количество

K262503

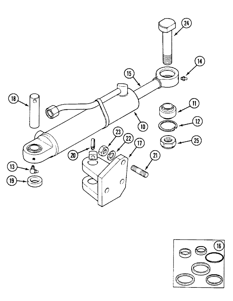
CYLINDER

ASSEMBLY - steering, Includes: Ref. 10 - 16

1шт.

10

NSS

NOT SOLD SEPARAT

TUBE - cylinder

1шт.

11

1966059C1

BEARING CAP

BEARING - cylinder and piston rod

2шт.

12

K262195

RING, LOCKING

RING - snap (Carraro 43420)

2шт.

13

713608R91

LUBE NIPPLE,90 Degree, M8 x 1

1шт.

14

A52236

LUBE NIPPLE,M8 x 1

FITTING - grease

2шт.

15

K262196

PISTON ROD

ROD - piston, (Carraro 43422)

1шт.

16

K262197

KIT

- repair (Piston, sleeve and seals) (Carraro 43423), Includes: kit

1шт.

16

K262193

SEAL

KIT - seals (O-rings, seals etc.) (Carraro 43421)

1шт.

17

K395127

BRACKET

- cylinder anchor left-hand (Carraro 118998)

1шт.

18

K395107

PIN,22mm OD x 97mm L

- cylinder to bracket (Carraro 119298)

1шт.

19

1966158C1

SPACER

- pivot pin

1шт.

20

K395057

PIN

- 8 x 36 mm (Carraro 24445)

1шт.

21

K395109

STUD

- M14, axle housing (Carraro 71288)

3шт.

22

933828R1

BELLEVILLE WASHER,M14 Bolt Size x 28.6mm OD x 1.5mm Thk

WASHER - lock, 14 mm

3шт.

23

905873R1

NUT,M14 x 1.5, G8

NUT - M14

3шт.

24

K395106

BOLT

- M22 x 100 mm (Carraro 115779)

1шт.

25

905877R1

NUT,M22 x 1.5, G8

NUT - self-locking, M22

1шт.

Выбрано товаров: 18