Запчасти Case IH 1594 (5-146) - FRONT AXLE DRIVE SHAFT, MFD TRACTORS, P.I.N. 11221501 AND AFTER (05) - STEERING

Схема запчастей Case IH 1594 - (5-146) - FRONT AXLE DRIVE SHAFT, MFD TRACTORS, P.I.N. 11221501 AND AFTER (05) - STEERING
14
16
16
11
15
13
3
16
12
4
10
5
5
2
16
10
15
1
15
17
8
18
6
13
15
14
9
9
7
FIT
1:1
100%

Артикул

Название

Примечание

Количество

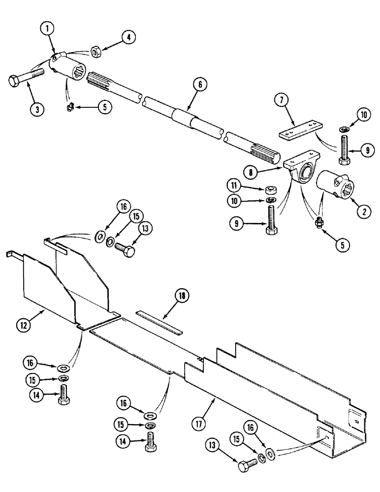
1

51200378

SPLINED COUPLING

COUPLING - driveshaft, front

1шт.

2

K260761

SPLINED COUPLING

SLEEVE - coupling (Carraro 102033)

1шт.

3

514-723

BOLT,Hex, M10 x 1.25 x 60mm, Cl 8.8

- hex, 10 - 1.25 x 60 mm

4шт.

4

K965414

NUT

- M10 (Carraro 22411)

4шт.

5

321204

LUBE NIPPLE,M6 x 1.0 x 16mm OAL

NIPPLE, LUBE, M6 x 1, 16mm lg

2шт.

6

K395174

SHAFT

- axle drive (Carraro 118236)

1шт.

7

K260174

BUSHING

SPACER - support (Carraro 108238)

1шт.

8

K260175

SUPPORT

BEARING AND HOUSING - driveshaft (Carraro 27700)

1шт.

9

K260168

SCREW

BOLT - (Carraro 21484)

4шт.

10

K260173

SPRING

WASHER - lock (Carraro 22917)

4шт.

11

K260172

WASHER

SPACER - (Carraro 23159)

2шт.

12

K260166

GUARD

- front, driveshaft (Carraro 108234)

1шт.

13

614-8020

BOLT,Hex, M8 x 1.25 x 20mm

- hex, full threads, 8 - 1.25 x 20 mm

4шт.

14

K260169

SCREW

BOLT - M8, 5/16 UNC x 3/4 inch (Carraro 21462)

4шт.

15

892-11008

LOCK WASHER,8mm ID

WASHER, LOCK, M8

8шт.

16

K965421

WASHER

- 8 mm(Carraro 23109)

8шт.

17

K260167

GUARD

- rear, driveshaft (Carraro 108235) (Synchromesh)

1шт.

17

K205190

GUARD

- rear, driveshaft (Carraro 116142) (Power shift)

1шт.

18

K307295

STRIP

- edging guard

2шт.

Выбрано товаров: 19