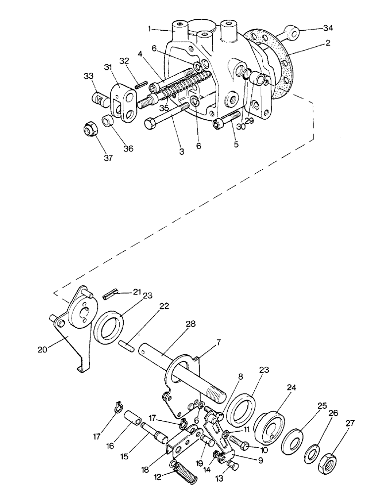
Запчасти Case IH 1690 (K12-1) - CONTROL HOUSING (07) - HYDRAULICS

Схема запчастей Case IH 1690 - (K12-1) - CONTROL HOUSING (07) - HYDRAULICS
26
12
29
11
20
37
23
6
36
27
18
4
13
6
35
2
17
15
17
10
22
21
6
30
5
33
34
19
25
14
28
31
7
3
32
24
16
23
8
1
9
FIT
1:1
100%

Артикул

Название

Примечание

Количество

1

K203118

LEVER

HOUSING - control

1шт.

2

K903026

GASKET

- housing

1шт.

3

K600217

BOLT

- 5/16 UNC x 3"

1шт.

4

61-33148

HEX SOC SCREW,5/16"-18 x 3"

SCREW, (Replaces K606570) Hex Soc Hd, 5/16"-18 x 3"

1шт.

5

K606558

SCREW

CAPSCREW - 5/16 UNC x 1-1/2"

1шт.

6

K19481

SPRING WASHER

WASHER - lock, 5/16"

3шт.

7

K950555

BRACKET

PLATE - friction

1шт.

8

9635884

BOLT,Hex, 5/16" - 18 1", Full Thd, Gr 5

SETSCREW - 5/16 UNC x 5/8"

2шт.

6

K19481

SPRING WASHER

WASHER - lock, 5/16"

2шт.

9

K949541

SPRING

CARRIER - spring

1шт.

10

K602746

SCREW,1/4" - 20 x 1/2"

SETSCREW - 1/4 UNC x 1/2", special

2шт.

11

K19470

WASHER

- 1/4"

2шт.

12

K950773

SPRING

TENSION SPRING - tension

1шт.

13

K949554

PIN

CLEVIS PIN - clevis

1шт.

14

K621482

RING, SNAP

RING - snap, 5/16"

1шт.

15

K949543

PIN

- lever

1шт.

16

K649544

ROLLER - lever pin

1шт.

17

K24568

SNAP RING,#25, Ext

Ring, Snap, #25, Ext

1шт.

18

K949542

SPRING

RETURN LEVER - spring

1шт.

17

K24568

SNAP RING,#25, Ext

Ring, Snap, #25, Ext

2шт.

19

K949545

PIN

PIVOT PIN - 1/4 x 3/4"

2шт.

20

K202811

LEVER

- friction

1шт.

21

K623942

PIN

- roll, 5/32 x 1-1/4"

1шт.

22

K621811

PIN

- dowel

2шт.

23

K909582

WASHER

- friction (Replaces K24568)

2шт.

24

K202811

LEVER

PLATE - friction

1шт.

25

K626740

WASHER

- Belleville, 5/8"

2шт.

26

K626686

WASHER

- 1/2"

1шт.

27

K617273

NUT

LOCKNUT - 1/2 UNF

2шт.

28

K965922

SHAFT

- friction lever

1шт.

29

K627068

BUSHING

SLEEVE - plastic

1шт.

30

K623424

RING

- sealing, 1/2" ID

1шт.

31

K909584

FORK

- friction shaft

1шт.

32

K623940

PIN

- roll

1шт.

33

K903370

PIN

- operating lever

1шт.

34

K909585

ROD

CONNECTING ROD - connecting

1шт.

35

K625161

SPRING

- return

1шт.

36

K903368

COLLAR

- connecting rod

2шт.

37

231-1435

LOCK NUT,5/16"-18, GB

NUT - 5/16" UNC, self-locking

1шт.

Выбрано товаров: 0