Запчасти Case IH 1690 (L06-1) - UNIVERSAL DRAWBAR (09) - IMPLEMENT LIFT

Схема запчастей Case IH 1690 - (L06-1) - UNIVERSAL DRAWBAR (09) - IMPLEMENT LIFT
13
24
6
4
10
22
9
15
25
26
3
5
16
27
8
18
1
7
14
11
23
12
20
19
6
17
21
2
FIT
1:1
100%

Артикул

Название

Примечание

Количество

K931342

SPARE PART

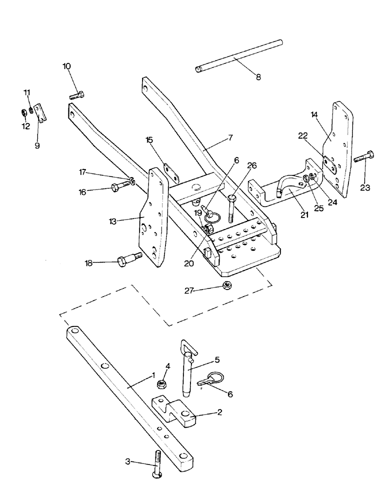
DRAWBAR ASSEMBLY - tractor, Includes Ref. 1 - 6

1шт.

1

K948406

DRAWBAR, SWINGING

DRAWBAR - towing

1шт.

2

K916516

CLEVIS

BRACKET - clevis

1шт.

3

K601664

BOLT

- 5/8 UNC x 3-1/4"

2шт.

4

K607463

NUT

- 5/8 UNC, self-locking

2шт.

5

K946789

HITCH PIN

PIN - hitch

1шт.

6

A33509

PIN,11.18mm OD

AND RING - linch

2шт.

K936707

SUPPORT

FRAME ASSEMBLY - drawbar, Includes Ref. 7 - 27

1шт.

7

K202889

SUPPORT

FRAME - drawbar

1шт.

8

K943026

HINGE

BAR - hinge

1шт.

9

K943027

PLATE

RETAINING PLATE - retaining

1шт.

10

113-221

BOLT,Hex, 3/8" - 16 x 7/8", Gr 5

1шт.

11

192-21

LOCK WASHER,3/8"

WASHER, LOCK, 3/8"

1шт.

12

129-103

NUT,Hex, 3/8" - 16, Gr 5

NUT, 3/8"-16, G5

1шт.

13

K948848

HITCH ASSY

HITCH PLATE - left-hand

1шт.

14

K948850

HITCH

PLATE - right-hand

1шт.

15

K917071

SHIM

- 1/16", hitch, Serial Range: plates-PTO

1шт.

15

K917072

SHIM

- 1/32", hitch, Serial Range: plates-PTO

1шт.

16

K603276

SCREW

BOLT - 5/8 UNC x 1-3/4", hitch, Serial Range: plates-PTO

8шт.

17

K626348

BELLEVILLE SPRING

WASHER - lock, 5/8", hitch, Serial Range: plates-PTO

8шт.

18

K908290

STEP BOLT

- 3/4 UNC, special

2шт.

19

K626348

BELLEVILLE SPRING

WASHER - lock, 3/4"

2шт.

20

129-108

NUT,3/4"-10, G5

2шт.

21

K201532

PLATE

BRIDGE PLATE - without pick-up hitch fitting

1шт.

21

K201534

PLATE

BRIDGE PLATE - with pick-up hitch fitting

1шт.

22

K947200

SHIM

- 1/16"

1шт.

22

K947201

SHIM

- 1/32"

1шт.

23

K601360

BOLT

- 5/8 UNC x 2-1/2"

4шт.

24

192-25

LOCK WASHER,5/8"

WASHER, LOCK, 5/8"

4шт.

25

129-107

NUT,5/8"-11, G5

4шт.

26

K601334

BOLT

- UNC x 4-1/2"

2шт.

27

131-64

LOCK NUT,5/8"-11, GC

NUT - 5/8 UNC, self-locking

2шт.

Выбрано товаров: 0