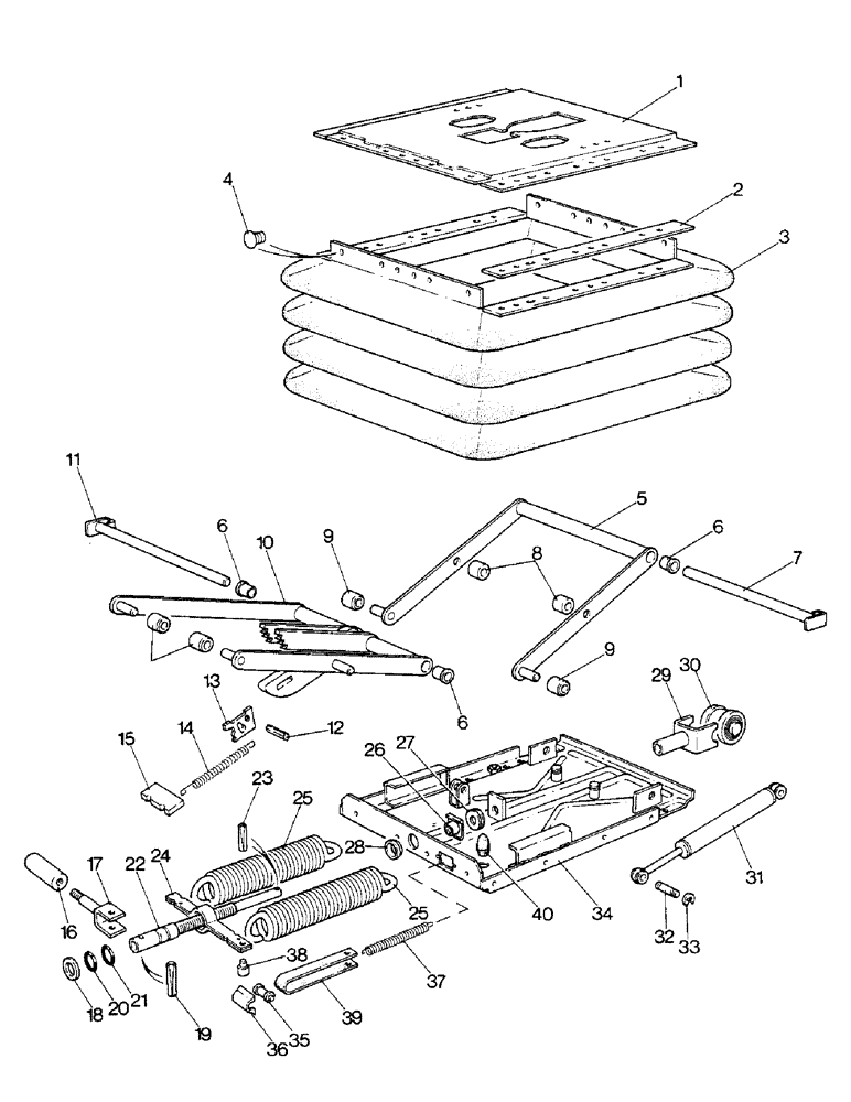
Запчасти Case IH 1690 (T10-1) - SEAT SUSPENSION, HIGH PLATFORM (10) - OPERATORS PLATFORM/CAB

Схема запчастей Case IH 1690 - (T10-1) - SEAT SUSPENSION, HIGH PLATFORM (10) - OPERATORS PLATFORM/CAB
38
29
36
6
27
11
17
37
22
7
1
9
23
10
8
25
39
12
16
5
19
31
2
3
34
28
20
32
21
35
9
25
6
4
14
26
40
15
13
33
6
24
18
30
FIT
1:1
100%

Артикул

Название

Примечание

Количество

UK302740

SUSPENSION

ASSEMBLY - operator, Includes Ref. 1 - 40

1шт.

1

K260641

PLATE

TOP PLATE - (Grammer 107682)

1шт.

2

K260638

STRIP

CLAMPING STRIP - (Grammer 109808)

2шт.

3

K260640

COVER

- (Grammer 107683)

1шт.

4

K964645

RIVET

PLASTIC RIVET - (Grammer 105-840-120)

26шт.

5

K260642

BRACKET

SUPPORT - outer half, (Grammer 110293)

1шт.

6

K964668

BUSHING

NYLON BUSHING - (Grammer 107684)

4шт.

7

K964659

SHAFT

SPINDLE - upper (Grammer 107673)

1шт.

8

K260639

BUSHING

- (Grammer 110066)

2шт.

9

K964667

ROLLER

NYLON ROLLER - (Grammer 107681)

4шт.

10

K964664

FRAME

SUPPORT - inner half (Grammer 107678)

1шт.

11

K964660

SHAFT

SPINDLE - lower (Grammer 107674)

1шт.

12

K964675

PIN

- (Grammer 107800)

1шт.

13

K964658

CAM

PLATE - (Grammer 107672)

2шт.

14

K964662

SPRING

- (Grammer 107676)

2шт.

15

K964661

SPRING

RETAINER - springs (Grammer 107675)

1шт.

K964647

ADJUSTER

- spring tension (Grammer 107650), Includes Ref. 16 - 23

1шт.

16

K964641

KNOB

- (Grammer 105021)

1шт.

17

K964642

FORK

- (Grammer 105631)

1шт.

18

K965794

BUSHING

WASHER - (Grammer 109510)

1шт.

19

K964643

PIN

- 5 x 28 MM (Grammer 105832)

1шт.

20

K964679

O-RING

- black (Grammer 107790)

1шт.

21

K964678

O-RING

- red (Grammer 107789)

1шт.

22

K964646

SHAFT

- M12 (Grammer 107649)

1шт.

23

K965790

PIN

- 3 x 16 MM (Grammer 111541)

1шт.

24

K964648

SPRING

CARRIER - (Grammer 107652)

1шт.

25

K965200

SPRING

- (Grammer 108111)

2шт.

26

K964672

NUT

CAPTIVE NUT - M12 (Grammer 107752)

1шт.

27

K964673

BEARING

THRUST BEARING - (Grammer 107753)

1шт.

28

K964649

BUSHING

NYLON BUSHING - (Grammer 107653)

1шт.

29

K964657

FORK

- (Grammer 107671)

1шт.

30

K964656

BEARING

NEEDLE ROLLER BEARING - (Grammer 107670)

1шт.

31

K964655

SHOCK ABSORBER

HYDRAULIC DAMPER - (Grammer 107699)

1шт.

32

K965791

PIN

CLEVIS PIN - (Grammer 107049)

2шт.

33

K621592

RING, SNAP

CLIP - 7/32"

2шт.

34

K260648

PLATE

BASEPLATE - (Grammer 114226)

1шт.

35

K964653

ROLLER

NYLON ROLLER - (Grammer 107660)

1шт.

36

K964638

COVER

PLASTIC COVER - roller (Grammer 104377)

1шт.

37

K965793

SPRING

- (Grammer 108260)

1шт.

38

K964670

INDICATOR

NYLON BUTTON - tape to carrier (Grammer 107731)

1шт.

39

K965792

INDICATOR

TAPE - adjustment indicator (Grammer 108058)

1шт.

40

K962434

STOP

RUBBER STOP - (Grammer 200072)

2шт.

Выбрано товаров: 0