Запчасти Case IH 1690 (T05-1) - FRONT BALLAST WEIGHTS (11) - WHEELS & WEIGHTS

Схема запчастей Case IH 1690 - (T05-1) - FRONT BALLAST WEIGHTS (11) - WHEELS & WEIGHTS
20
4
15
8
10
15
22
1
13
16
10
23
24
6
14
4
9
12
19
7
18
17
10
2
5
11
3
21
7
FIT
1:1
100%

Артикул

Название

Примечание

Количество

UK4398

X

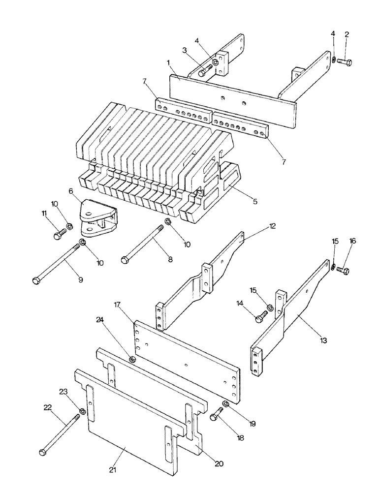
WEIGHT UNIT - front ballast, Includes Ref. 1 - 11

1шт.

1

K301613

FRAME

- support

1шт.

2

K603276

SCREW

BOLT - 5/8 UNC x 1-7/8"

4шт.

3

K603285

SCREW

BOLT - 5/8 UNC x 2-1/2"

4шт.

4

K19485

WASHER

- lock, 5/8"

8шт.

5

K203073

WEIGHT

BALLAST WEIGHT - 65 lb

16шт.

6

K204397

CLEVIS

BRACKET - tow

1шт.

7

K203078

BAR

- locking

2шт.

8

K601472

BOLT

- 3/4 UNC x 9", special

14шт.

9

K601473

BOLT

- 3/4 UNC x 10-1/2", special

2шт.

10

K19486

WASHER, LOCK

WASHER - lock, 3/4"

16шт.

11

K603438

SCREW

SETSCREW - 3/4 UNC x 2", tow, Serial Range: bracket-frame

2шт.

UK4363

KIT

WEIGHT UNIT - ballast, Includes Ref. 12 - 24

1шт.

12

K203171

FRAME

SIDE FRAME - right-hand

1шт.

13

K203172

FRAME

SIDE FRAME - left-hand

1шт.

14

K603285

SCREW

BOLT - 5/8 UNC x 2-1/2"

4шт.

15

K19485

WASHER

- lock, 5/8"

8шт.

16

K603278

SCREW

BOLT - 5/8 UNC x 2"

4шт.

17

K949317

FRAME

- front

1шт.

18

K601362

BOLT

- 5/8 UNC x 2-3/4"

6шт.

19

K19485

WASHER

- lock, 5/8"

6шт.

20

K949672

WEIGHT

BALLAST WEIGHT - first

1шт.

21

K949673

WEIGHT

- ballast

10шт.

22

K600900

BOLT

- 1/2 UNC x 15-1/2"

2шт.

23

K626345

LOCK WASHER

WASHER - lock, 1/2"

2шт.

24

280431

NUT,1/2"-13, G5

2шт.

Выбрано товаров: 26