Запчасти Case IH 1690 (T06-1) - FRONT BALLAST WEIGHTS (11) - WHEELS & WEIGHTS

Схема запчастей Case IH 1690 - (T06-1) - FRONT BALLAST WEIGHTS (11) - WHEELS & WEIGHTS
14
11
15
21
10
24
6
9
19
5
1
17
3
23
2
7
18
6
16
13
13
13
12
20
22
4
22
8
FIT
1:1
100%

Артикул

Название

Примечание

Количество

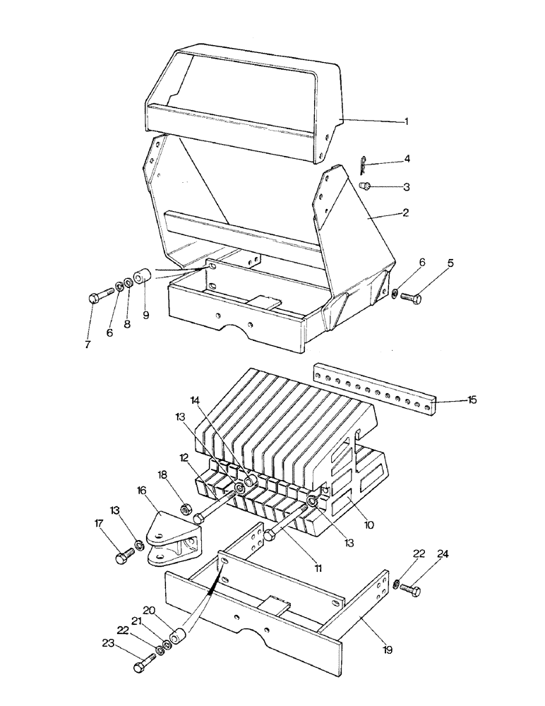
UK5129

RADIATOR

GUARD UNIT - radiator, Includes Ref. 1 - 9

1шт.

1

K301607

GUARD

- bonnet nose

1шт.

2

K301598

RADIATOR

GUARD - radiator

1шт.

3

K770632

PIN

- lock

4шт.

4

K771626

FASTENER

CLIP - spring

4шт.

5

K691849

BOLT

- 5/8 UNC x 2"

4шт.

6

K19485

WASHER

- lock, 5/8"

8шт.

7

K601336

BOLT

- 5/8 UNC x 3-1/4"

4шт.

8

K626855

WASHER

- 5/8"

4шт.

9

K301610

COLLAR

SPACER - bolt

4шт.

UK5135

WEIGHT

UNIT - ballast, use with UK5129, Includes Ref. 10 - 15

1шт.

10

K203073

WEIGHT

- ballast, use with UK5129

12шт.

11

K601472

BOLT

- 3/4 UNC x 9", use with UK5129

2шт.

12

K601473

BOLT

- 3/4 UNC x 10-1/2"

2шт.

13

K19486

WASHER, LOCK

WASHER - lock, 3/4" use with UK5129

4шт.

14

K301633

SPACER

- bolt, use with UK5129

2шт.

15

K301634

BAR

- locking, use with UK5129

1шт.

UK5140

CLEVIS

TOWING UNIT - front, Includes Ref. 16 - 18

1шт.

16

K204397

CLEVIS

TOW BRACKET - tow

1шт.

17

K603438

SCREW

SETSCREW - 3/4 UNC x 2", tow, Serial Range: bracket-frame

2шт.

18

280954

NUT,3/4"-10, G5

- 3/4 UNC, tow bracket to frame

2шт.

UK5132

FRAME

UNIT - frame, Includes Ref. 19 - 24

1шт.

19

K301613

FRAME

- support

1шт.

20

K301610

COLLAR

SPACER - bolt

4шт.

21

K626855

WASHER

- 5/8"

4шт.

22

K19485

WASHER

- lock, 5/8"

8шт.

23

601336

BOLT - 5/8 UNC x 3-1/4"

4шт.

24

K603276

SCREW

SETSCREW - 5/8 UNC x 1-3/4"

4шт.

UK5138

KIT

WEIGHT UNIT - ballast, use with UK5132, Includes Ref. 10 - 15

1шт.

10

K203073

WEIGHT

- ballast, use with UK5132

16шт.

11

K601472

BOLT

- 3/4 UNC x 9", use with UK5132

6шт.

12

K601473

BOLT

- 3/4 UNC x 10-1/2", use with UK5132

2шт.

13

K19486

WASHER, LOCK

WASHER - lock, 3/4", use with UK5132

8шт.

14

K301633

SPACER

- bolt, use with UK5132

2шт.

15

K203078

BAR

- locking

2шт.

Выбрано товаров: 35