Запчасти Case IH 1690 (A04-1) - VALVE MECHANISM AND TIMING GEARS (01) - ENGINE

Схема запчастей Case IH 1690 - (A04-1) - VALVE MECHANISM AND TIMING GEARS (01) - ENGINE
24
27
26
43
2
6
38
32
14
11
21
40
41
4
12
3
36
13
34
1
31
22
7
10
25
23
20
35
15
29
16
8
23
39
37
18
33
17
28
42
9
19
5
30
FIT
1:1
100%

Артикул

Название

Примечание

Количество

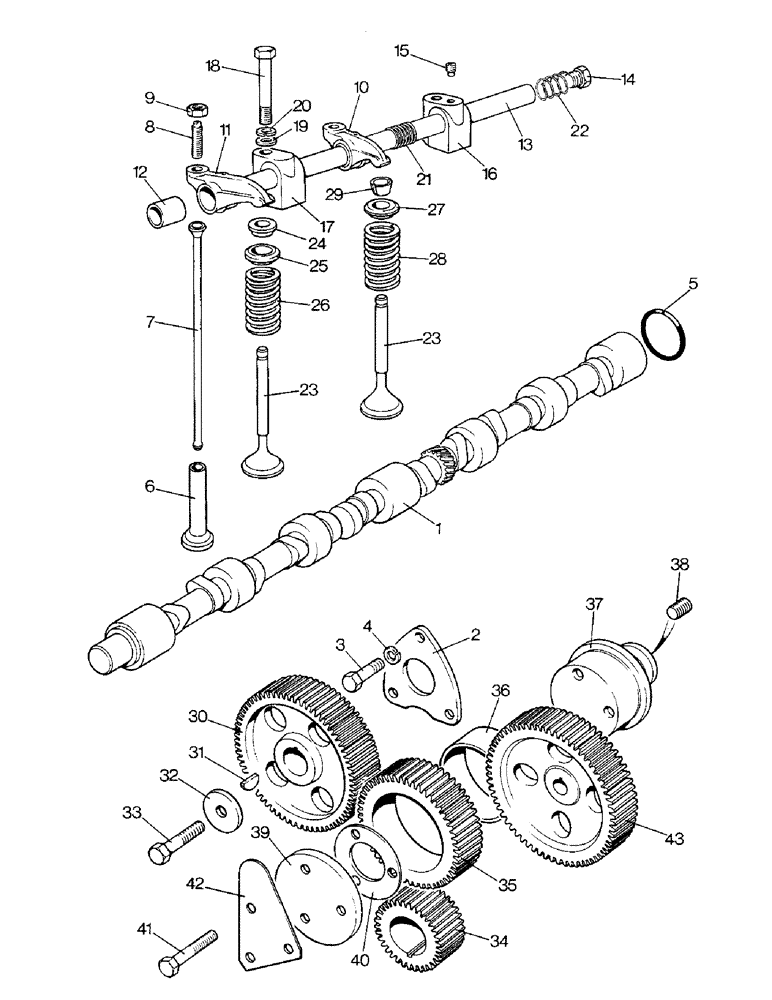
1

K957412

CAMSHAFT

- engine (Replaces K925485)

1шт.

2

K917037

PLATE

- locating

1шт.

3

K600203

BOLT,Hex, 5/16" - 18 x 1 1/4", Gr 5

- 5/16 UNC x 1-1/4"

3шт.

4

K19481

SPRING WASHER

WASHER - lock, 5/16"

3шт.

5

K623523

O-RING,1.802" OD x 0.143" Width

- 1-13/16" ID

1шт.

6

K901137

TAPPET

- push rod

12шт.

7

K917902

ROD

- push

12шт.

8

K900413

ADJUSTMENT SCREW,3/8" - 16 x 1 1/8"

ADJUSTING SCREW - 3/8 UNC

12шт.

9

87016560

JAM NUT,Jam, 3/8"-16, G5

LOCKNUT - 3/8 UNC

12шт.

10

K63089

ROCKER

VALVE ROCKER - right-hand

6шт.

11

K63090

ROCKER

VALVE ROCKER - left-hand, Includes Ref. 12

6шт.

12

K964733

BUSHING

- valve rocker

1шт.

13

K907920

TUBE

SHAFT - valve rockers

2шт.

14

K19590

PLUG

- 3/8 BSP

4шт.

15

K606051

SET SCREW,5/16" - 18 x 1/2"

LOCATING SCREW - 5/16 UNC

2шт.

16

K921432

BRACKET

- rocker shaft

2шт.

17

K921431

BRACKET

- rocker shaft

4шт.

18

K600705

BOLT

- 7/16 UNC x 2-5/8"

6шт.

19

K626314

WASHER

- 7/16"

6шт.

20

K626344

WASHER, LOCK

WASHER - lock, 7/16"

6шт.

21

K11017

SPRING

LOCATING SPRING - intermediate

4шт.

22

K907919

WASHER

LOCATING SPRING - ends

4шт.

23

K928622

STD INLET VALVE

VALVE - inlet and exhaust

12шт.

24

K928623

COLLAR

- inner, exhaust valve

6шт.

25

K928624

COLLAR

- outer, exhaust valve

6шт.

26

K921436

VALVE SPRING

SPRING - exhaust valve

6шт.

27

K921437

COLLAR

- inlet valve

6шт.

28

K921435

SPRING

- inlet valve

6шт.

29

K943439

LOCKING DEVICE

VALVE COTTER - halves

24шт.

30

K947639

CAMSHAFT

GEAR - 68 teeth, camshaft

1шт.

31

K19610

KEY

- Woodruff no. 607

1шт.

32

K66382

WASHER

- 7/16", special

1шт.

33

K600701

BOLT

- 7/16 UNC x 2-3/8"

1шт.

34

K947636

GEAR

- 34 teeth, crankshaft

1шт.

35

K948944

GEAR

INTERMEDIATE GEAR - 53 teeth, Includes Ref. 36

1шт.

36

K628743

BUSHING

- intermediate gear

1шт.

37

K205347

SHAFT

- intermediate gear

1шт.

38

K606221

SCREW

PLUG - 5/16 UNC

2шт.

39

K917649

PLATE

- locating

1шт.

40

K917651

SHIM

- 0.002"

1шт.

41

K600215

BOLT

- 5/16 UNC x 2-3/4"

3шт.

42

K917650

WASHER

- tab

1шт.

43

K948442

PINION

GEAR - 68 teeth, injection pump

1шт.

Выбрано товаров: 43