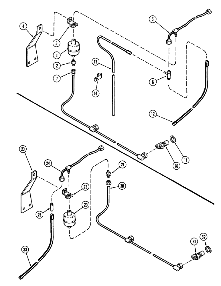
Запчасти Case IH 1690 (A07-3) - FUEL THERMOSTAT RESERVOIR AND PIPES, HIGH PALTFORM, CAB, P.I.N. 11213310 AND AFTER (01) - ENGINE

Схема запчастей Case IH 1690 - (A07-3) - FUEL THERMOSTAT RESERVOIR AND PIPES, HIGH PALTFORM, CAB, P.I.N. 11213310 AND AFTER (01) - ENGINE
25
21
24
22
11
4
1
12
5
14
13
3
6
10
2
32
33
30
31
23
7
20
FIT
1:1
100%

Артикул

Название

Примечание

Количество

1

K302979

RESERVOIR

- thermostat

1шт.

2

K205311

INSERT

- male, thermostat

1шт.

3

K205057

CLAMP

- reservoir

1шт.

4

K304182

BRACKET

- mounting, reservoir

1шт.

5

K205352

PIPE

ASSEMBLY -, Serial Range: leak-off-reservoir

1шт.

6

K304479

FITTING

RESTRICTOR - fuel

1шт.

7

K205365

HOSE

PIPE ASSEMBLY -, Serial Range: reservoir-thermostat

1шт.

10

K928523

GLOW PLUG

THERMOSTAT - fuel (Cav 1854102)

2шт.

11

K626957

WASHER

- fiber, 7/8"

2шт.

12

K205360

PIPE

- fuel return

1шт.

13

K205702

HOSE,0.18" ID x 0.187" OD x 47, 18" L

PIPE - venting, thermostat

1шт.

14

K628378

CLIP

- spring vent pipe

2шт.

20

K302979

RESERVOIR

- thermostat, low profile

1шт.

21

K205311

INSERT

- male, thermostat, low profile

1шт.

22

K205057

CLAMP

- reservoir, low profile

1шт.

23

K304182

BRACKET

- mounting, reservoir, low profile

1шт.

24

K205359

PIPE

ASSEMBLY - leak-off to reservoir, low profile

1шт.

25

K304124

FITTING

RESTRICTOR - fuel, low profile

1шт.

30

K205404

PIPE

ASSEMBLY - reservoir to thermostat, low profile

1шт.

31

K928523

GLOW PLUG

THERMOSTAT - fuel (Cav 1854102), low profile

2шт.

32

K626957

WASHER

- fiber, 7/8", low profile

2шт.

33

K205362

HOSE

PIPE - fuel return, low profile

1шт.

Выбрано товаров: 0