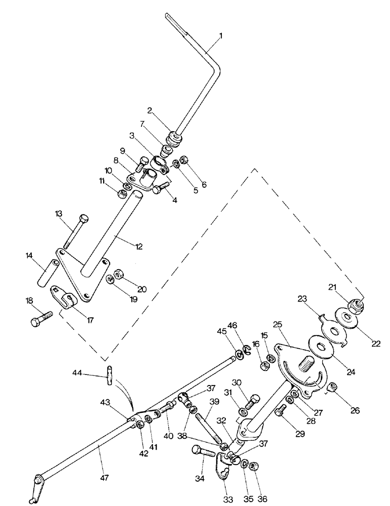
Запчасти Case IH 1690 (B07-1) - ENGINE SPEED HAND CONTROL, HIGH PLATFORM, CAB MODEL, PRIOR P.I.N. 11213130 (02) - COOLING & FUEL SYSTEMS

Схема запчастей Case IH 1690 - (B07-1) - ENGINE SPEED HAND CONTROL, HIGH PLATFORM, CAB MODEL, PRIOR P.I.N. 11213130 (02) - COOLING & FUEL SYSTEMS
33
1
15
46
37
27
16
22
36
20
2
38
14
32
42
44
41
43
29
5
25
6
11
47
21
9
17
34
45
18
37
39
24
13
26
35
30
31
4
12
7
8
19
23
10
40
3
28
FIT
1:1
100%

Артикул

Название

Примечание

Количество

1

K202473

LEVER

HAND LEVER - speed control

1шт.

2

K627767

GROMMET

- lever

1шт.

3

K621743

CLAMP

- lever

1шт.

4

K612705

SCREW

SETSCREW - 1/4 UNF x 1"

1шт.

5

K626341

SPRING WASHER

WASHER - lock, 1/4"

1шт.

6

K616980

NUT

- 1/4 UNF

1шт.

7

K202235

BUSHING

- lever

1шт.

8

K202482

SLEEVE

- clamping

1шт.

9

K612804

SCREW

SETSCREW - 5/16 UNF x 7/8"

2шт.

10

K19481

SPRING WASHER

WASHER - 5/16"

2шт.

11

K617001

NUT

- 5/16" UNF

2шт.

12

K202223

SUPPORT

BRACKET - support

1шт.

13

14-452

BOLT,Hex, 1/4" - 28 x 3-1/4", Gr 5

- 1/4 UNF x 3-1/4" (Package of 100) (Replaces K610019)

3шт.

14

K627326

BUSHING

SPACER - bracket

3шт.

15

K626341

SPRING WASHER

WASHER - lock, 1/4"

3шт.

16

K616980

NUT

- 1/4" UNF

3шт.

17

K202231

LEVER

- lock

1шт.

18

K600144

BOLT

- 1/4 UNC x 1-3/8"

1шт.

19

K626341

SPRING WASHER

WASHER - lock, 1/4"

1шт.

20

K607043

NUT

- 1/4 UNC

1шт.

21

131-377

LOCK NUT,5/8"-11, GC

NUT - 5/8 UNF, self-locking

1шт.

22

K626740

WASHER

- Belleville

1шт.

23

K202227

DRIVE

PLATE - lock

1шт.

24

K202226

DISC

FRICTION DISC - quadrant

1шт.

25

K202218

QUADRANT

SUPPORT - quadrant

1шт.

26

K943634

NUT

- special, 1/4 UNC

2шт.

27

K19470

WASHER

- 1/4"

2шт.

28

K626341

SPRING WASHER

WASHER - lock, 1/4"

2шт.

29

88542

BOLT,Hex, 1/4"-20 x 1/2", Gr 5

SETSCREW - 1/4 UNC x 1/2"

2шт.

30

K650643

BOLT

SETSCREW - M8 x 25

2шт.

31

K615848

WASHER

- 8 MM

2шт.

32

K627036

BUSHING

SPACER - support

1шт.

33

K202476

LEVER

- lock

1шт.

34

K600144

BOLT

- 1/4 UNC x 1-3/8"

1шт.

35

K626341

SPRING WASHER

WASHER - lock, 1/4"

1шт.

36

K607043

NUT

- 1/4 UNC

1шт.

37

K621903

BALL JOINT

SOCKET END - rod

2шт.

38

425-154

JAM NUT,Jam, 1/4"-28, G5

LOCKNUT - 1/4 UNF

2шт.

39

K202336

ROD

- 2-5/8"

1шт.

40

K621904

BALL JOINT

BALL END - socket

1шт.

41

K626341

SPRING WASHER

WASHER - lock, 1/4"

1шт.

42

K616980

NUT

- 1/4 UNF

1шт.

43

K928177

LEVER

- cross shaft

1шт.

44

K623747

SPLIT PIN/SAFETY PIN

PIN - roll

1шт.

45

K19472

WASHER

- 3/8"

1шт.

46

K621587

RING, SNAP

RING - snap, 3/8"

1шт.

47

K202517

SHAFT

CROSS SHAFT - speed control

1шт.

Выбрано товаров: 0