Запчасти Case IH 1690 (B11-1) - RADIATOR BLIND (02) - COOLING & FUEL SYSTEMS

Схема запчастей Case IH 1690 - (B11-1) - RADIATOR BLIND (02) - COOLING & FUEL SYSTEMS
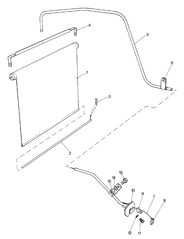
9
11
2
4
7
6
3
1
5
10
12
15
8
14
13
FIT
1:1
100%

Артикул

Название

Примечание

Количество

K933510

BLIND UNIT - radiator (UK5095), Includes Ref. 1 - 15

1шт.

1

K908846

COVER

BLIND - radiator

1шт.

2

K203058

ANCHOR

- blind

1шт.

3

K19520

PIN

- cotter, 1/16 x 3/8"

2шт.

4

K64925

ROD

- pull

1шт.

5

K203218

TUBE

- cord

1шт.

6

K628363

CLIP

- retaining

1шт.

7

K67196

ROPE

CORD - 90"

1шт.

8

K952646

KEY

RING - cord

1шт.

9

K952633

ROD

ANCHOR - cord

1шт.

10

K203044

GUIDE

TUBE - guide

1шт.

11

K613146

SCREW

- self tapping, 1/4"

2шт.

12

K626341

SPRING WASHER

WASHER - lock, 1/4"

2шт.

13

K650626

BOLT

SETSCREW - M6 x 14

1шт.

14

K651847

WASHER, LOCK

WASHER - lock, 6 MM

1шт.

15

15896221

NUT,Hex, M6, 5.20mm High, Cl 10

1шт.

Выбрано товаров: 0