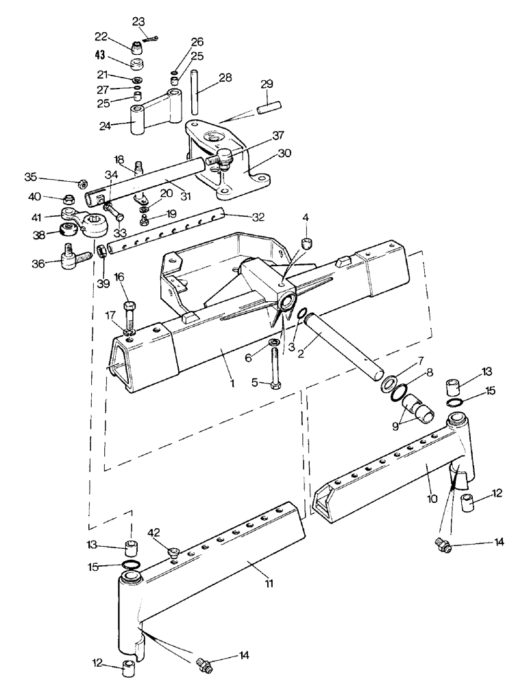
Запчасти Case IH 1690 (G02-1) - FRONT AXLE BEAM (04) - FRONT AXLE

Схема запчастей Case IH 1690 - (G02-1) - FRONT AXLE BEAM (04) - FRONT AXLE
25
38
1
42
15
33
10
20
12
36
14
15
13
27
4
16
24
32
5
18
25
39
34
8
43
7
22
30
28
40
31
26
11
3
13
29
21
14
23
2
12
9
19
17
37
35
6
41
FIT
1:1
100%

Артикул

Название

Примечание

Количество

1

K956665

SHAFT

CENTER BEAM - 56 to 80", track widths

1шт.

1

K956626

SHAFT

CENTER BEAM - 60 to 88", track widths

1шт.

1

K957287

SHAFT

CENTER BEAM - 60 to 80", track widths

1шт.

2

K947516

TRUNNION

PIN - trunnion

1шт.

3

K15596

RING,3.63mm Thk x 31.34mm ID

O-RING - 1-1/4", ID

1шт.

4

K913092

NUT

BUSHING - threaded

1шт.

5

K600505

BOLT

- 3/8 UNC x 2-3/4"

1шт.

6

K19482

SPRING WASHER

WASHER - lock, 3/8"

1шт.

7

K947188

FRICTION WASHER

WASHER - thrust

2шт.

8

K24764

O-RING

- 2-5/8", ID

2шт.

9

K15597

BUSHING

- main frame

4шт.

10

K962815

BEAM

EXTENSION - left-hand, 56 to 80", track widths

1шт.

10

K260502

BEAM

EXTENSION - left-hand, 60 to 88", track widths

1шт.

11

K962816

BEAM

EXTENSION - right-hand, 56 to 80", track widths

1шт.

11

K260503

BEAM

EXTENSION - right-hand, 60 to 88", track widths, Includes Ref. 12 and 13

1шт.

12

K621367

BUSHING

- lower

1шт.

13

K621331

BUSHING

- upper

1шт.

14

219-8

LUBE NIPPLE,1/4" - 28 NPTF

NIPPLE, LUBE, , ANF 1/4"-28 NPT x .54" lg

2шт.

15

K623524

O-RING,0.139" Thk x 2.109" ID, -227, Cl 5, 75 Duro

- 2-1/2", ID

2шт.

16

K601661

BOLT

- 7/8 UNC x 3-1/4"

4шт.

17

K626350

SPRING

WASHER - lock, 7/8"

4шт.

18

K948543

PIN

- pivot

1шт.

19

9627874

BOLT,Hex, 5/16" - 18 x 5/8", Gr 5, Full Thd

SETSCREW - 5/16, UNC x 5/8"

1шт.

20

K19481

SPRING WASHER

WASHER - lock, 5/16"

1шт.

21

K626921

WASHER

- 5/8", special

2шт.

22

231-2448

LOCK NUT,1/2"-20, GB

NUT - 1/2 UNF, special

1шт.

23

K19537

PIN

- cotter, 1/8 x 1-1/8"

1шт.

24

K948540

LINK

PIN - pivot, Includes Ref. 25

1шт.

25

K628741

BUSHING

- pivot pin

4шт.

26

K24676

O-RING,0.103" Thk x 0.612" ID, -114, Cl 6, 90 Duro

- 5/8", ID

2шт.

27

K623540

O-RING,0.614" ID x 0.754" OD x 0.07"

- 19/32", ID

4шт.

28

K948542

PIVOT PIN

PIN - pivot

1шт.

29

K690732

SPRING

PIN - 3/16 x 1-3/4"

1шт.

30

K948584

FORK

- spacer tube

1шт.

31

K945876

TUBE,25.8 mm ID x 16.25 " L

SPACER TUBE - 16", 56 to 80", track widths

2шт.

31

K200719

BUSHING

SPACER TUBE - 18", 60 to 80", track widths

2шт.

31

K204342

TUBE

SPACER TUBE - 17-1/2", 60 to 80", track widths

2шт.

32

K945878

ROD

TRACK ROD - 16", 56 to 80", track widths

2шт.

32

K204345

ROD

TRACK ROD - 17-3/4", 60 to 88", track widths

2шт.

33

K600563

BOLT

- 3/8 UNC x 2-1/4"

2шт.

34

K19482

SPRING WASHER

WASHER - lock, 3/8"

2шт.

35

280136

NUT,3/8"-16, G8

2шт.

36

K207722

BALL JOINT

BALL AND SOCKET ASSEMBLY - track rod (Replaces K915962)

2шт.

37

K207719

BALL JOINT

BALL AND SOCKET ASSEMBLY - spacer tube (Replaces K950476)

2шт.

37

K207720

BALL JOINT

BALL AND SOCKET ASSEMBLY - spacer tube (Replaces K204347), Includes Ref. 38 - 40

2шт.

38

K962155

CAP

EXCLUDER - dirt

1шт.

39

K622500

LOCK NUT

LOCKNUT - 3/4", special

1шт.

40

131-377

LOCK NUT,5/8"-11, GC

NUT - 5/8 UNF, self-locking

1шт.

41

K942943

LEVER

- steering

2шт.

42

K628089

PLUG

PLASTIC PLUG - beam extension holes

12шт.

43

K205429

BUSHING

SPACER - pivot pin

1шт.

Выбрано товаров: 0