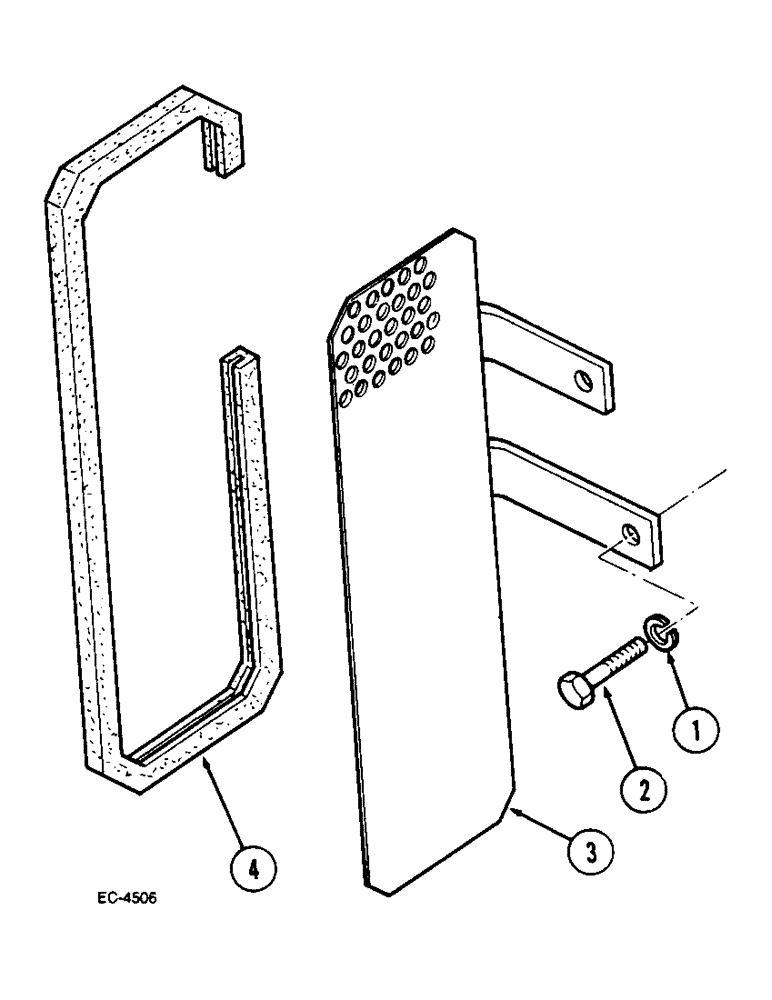
Запчасти Case IH 2120 (2-12) - FAN SHIELD, FOR GERMANY ONLY (02) - ENGINE

Схема запчастей Case IH 2120 - (2-12) - FAN SHIELD, FOR GERMANY ONLY (02) - ENGINE
2
3
1
4
FIT
1:1
100%

Артикул

Название

Примечание

Количество

1

892-11008

LOCK WASHER,8mm ID

2шт.

2

614-8025

BOLT,Hex, M8 x 1.25 x 25mm, Cl 8.8, Full Thd

2шт.

3

116261A1

PROTECTOR

1шт.

4

116262A1

PROTECTOR

Rubber

1шт.

Выбрано товаров: 4