Запчасти Case IH 2140 (3-02) - FUEL TANK (03) - FUEL SYSTEM

Схема запчастей Case IH 2140 - (3-02) - FUEL TANK (03) - FUEL SYSTEM
15
2
7
8
4
9
10
1
6
14
3
12
13
5
FIT
1:1
100%

Артикул

Название

Примечание

Количество

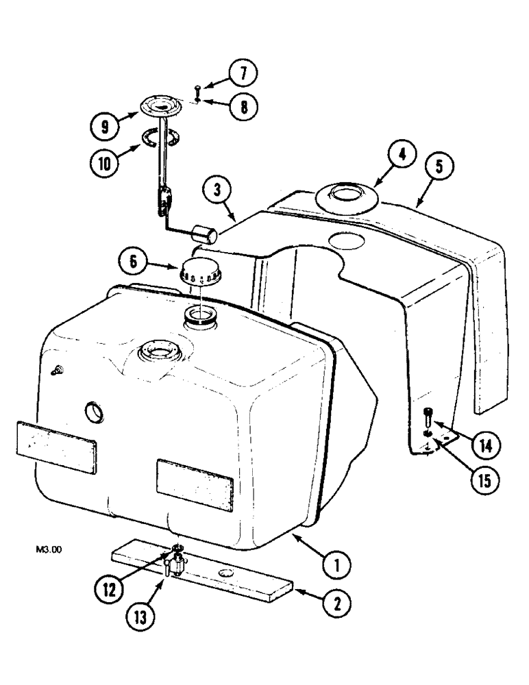
1

1530173C1

FUEL TANK

1шт.

2

1530529C1

SKID/SHOE

Front

1шт.

2

1530530C1

SKID/SHOE

Rear

1шт.

3

1967873C1

STRAP

1шт.

4

1530174C1

SEAL

1шт.

5

1530532C1

SEAL

1шт.

6

1967700C2

PLUG

1шт.

7

614-4010

BOLT,Hex, M4 x 0.7 x 10mm, Cl 8.8, Full Thd

M4 x 10 mm

6шт.

8

892-11004

LOCK WASHER,M4

6шт.

9

1967872C1

FUEL GAUGE

1шт.

10

1966949C1

GASKET

RUBBER SEAL

1шт.

11

1530531C1

FELT

2шт.

12

1967788C1

COPPER WASHER

1шт.

13

1967790C1

COCK

1шт.

14

864-8020

HEX SOC SCREW,M8 x 20mm, Cl 8.8

4шт.

15

892-1108

LOCK WASHER,M8

4шт.

Выбрано товаров: 16