Запчасти Case IH 2444 (B-13) - POWER TRAIN, DIFFERENTIAL LOCK (03) - POWER TRAIN

Схема запчастей Case IH 2444 - (B-13) - POWER TRAIN, DIFFERENTIAL LOCK (03) - POWER TRAIN
4
10
16
11
1
9
18
2
14
8
13
12
7
6
6
5
15
17
3
FIT
1:1
100%

Артикул

Название

Примечание

Количество

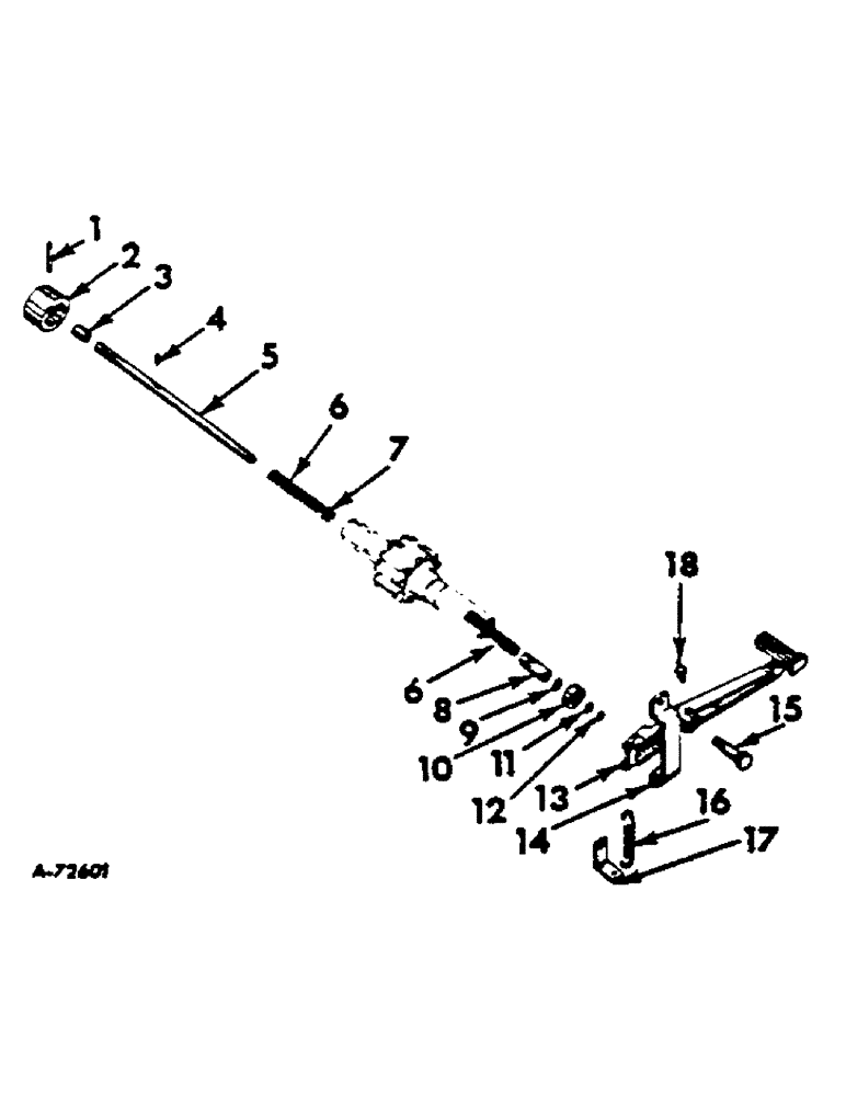
1

443050

PIN

groove, 5/16" x 2-1/2"

1шт.

2

704747R1

CLUTCH

differential lock

1шт.

3

704750R1

TUBE

SPACER shaft, differential lock

1шт.

4

141155

DOWEL,3/16" x 3/4"

dowel, 3/16" x 3/4"

1шт.

5

708997R2

SHAFT

differential lock

1шт.

6

705233R1

SPRING

differential lock

2шт.

7

704749R1

COLLAR

shaft, differential lock

1шт.

8

708996R1

RETAINER

O-ring, shaft, differential lock

1шт.

9

350667R1

O-RING,0.103" Thk x 0.674" ID, -115, Cl 5, 75 Duro

inner, shaft, differential lock, 11/16" x 7/8" x 3/32"

1шт.

10

708998R91

SEAL

oil, shaft, differential lock

1шт.

11

252739R1

O-RING,0.103" Thk x 0.487" ID, -112, Cl 5, 75 Duro

outer, shaft, differential lock, 1/2" x 11/16" x 3/32"

1шт.

12

708999R1

RETAINER

RING snap, ext.

1шт.

13

704744R4

LEVER

differential lock

1шт.

Q3501

WASHER

25/32" x 1-1/4" x 16 gauge

2шт.

14

704758R11

PLATE

ASSY. thrust, lever, differential lock

1шт.

179859

BOLT,Hex, 7/16" - 14 x 1 1/8", Gr 5

cap, hex head, 7/16"-14 x 1-1/8"

2шт.

W6652

WASHER

15/32" x 1" x 16 gauge

4шт.

103322

LOCK WASHER,7/16"

2шт.

15

704757R1

BOLT

SPARE PART pivot, differential lock

1шт.

615167R1

WASHER

25/32" x 1-3/16" x 16 gauge

2шт.

16

704759R2

SPRING

lever return, differential lock

1шт.

17

3064165R1

PLATE

lever return, differential lock

1шт.

18

109461

LUBE NIPPLE,1/8"-27 x .66 lg

1шт.

Выбрано товаров: 23