Запчасти Case IH 248 (8-682) - AUXILIARY VALVES "BOSCH" - THIRD BANK, 385, 485, 585 (08) - HYDRAULICS

Схема запчастей Case IH 248 - (8-682) - AUXILIARY VALVES "BOSCH" - THIRD BANK, 385, 485, 585 (08) - HYDRAULICS
24
13
28
5
19
33
10
6
26
9
21
7
30
22
11
23
14
32
2
16
4
12
29
7
3
27
2
1
17
15
31
18
8
28
25
20
6
FIT
1:1
100%

Артикул

Название

Примечание

Количество

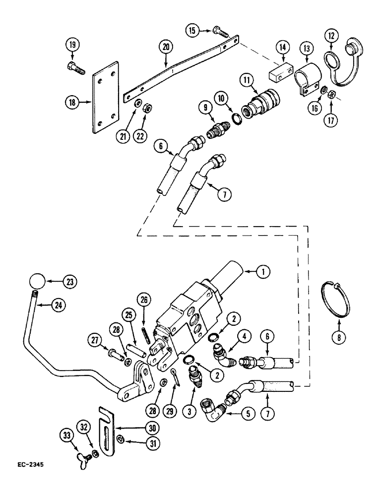
1

VALVE ASSEMBLY, see auxiliary valves Bosch

1шт.

2

364885R1

O-RING,0.097" Thk x 0.755" ID, -910, Cl 6, 90 Duro

2шт.

3

86165C1

FITTING

UNION

1шт.

4

93636C1

ELBOW

1шт.

5

9410282

ELBOW,90 Degree, 7/8"-14, 37 Degree x 7/8"-14, 37 Degree Fem Sw

1шт.

6

99908C1

HOSE

1шт.

7

99906C1

HOSE

1шт.

8

386170C1

CABLE TIE,.30" x 27 1/2"

CABLE STRAP

1шт.

9

9410204

HYD CONNECTOR,7/8"-14, 37 Degree x 7/8"-14, O-Ring

2шт.

10

364885R1

O-RING,0.097" Thk x 0.755" ID, -910, Cl 6, 90 Duro

2шт.

11

3067993R91

COUPLING, BREAK AWAY

2шт.

12

373220R91

PLUG

2шт.

13

3114106R1

CLAMP

2шт.

14

3129557R1

SPACER

2шт.

15

413-548

BOLT,Hex, 5/16" - 18 x 3", Gr 5

2шт.

16

80681

LOCK WASHER,5/16"

2шт.

17

120376

NUT,5/16"-18, G5

2шт.

18

99909C1

BRACKET

1шт.

22

18022

BOLT, 1/4 inch

2шт.

23

533143R1

BAR

2шт.

24

103319

LOCK WASHER,1/4"

2шт.

25

109084

NUT,1/4"-20, G5

2шт.

26

99877C1

BUTTON

KNOB, blue

1шт.

27

94158C1

LEVER ASSY.

1шт.

28

99609C1

PIN

1шт.

29

18518R1

LOCK PIN,1/8" x 1", Slotted

1шт.

30

23840R1

CLEVIS PIN,5/16" x 1 3/16"

1шт.

31

31130R1

WASHER,M8 x 17.5 x 2, HT

2шт.

32

103373

COTTER PIN,3/32" x 3/4"

1шт.

33

3125862R1

PLATE

1шт.

34

120394

WASHER,3/8", SAE

1шт.

35

120382

LOCK WASHER,Helical Spring, 3/8"

1шт.

36

164603

SCREW, 3/8 inch

1шт.

Выбрано товаров: 33