Запчасти Case IH 248 (8-706) - HYDRAULIC PUMP AND CONNECTIONS (08) - HYDRAULICS

Схема запчастей Case IH 248 - (8-706) - HYDRAULIC PUMP AND CONNECTIONS (08) - HYDRAULICS
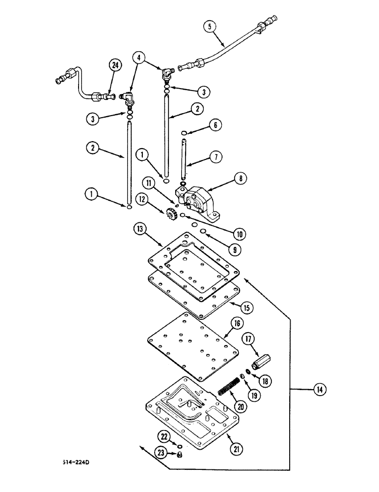
12
17
1
24
8
11
3
7
22
1
20
16
4
6
23
15
9
5
13
10
2
18
2
3
21
14
19
FIT
1:1
100%

Артикул

Название

Примечание

Количество

1

252739R1

O-RING,0.103" Thk x 0.487" ID, -112, Cl 5, 75 Duro

4шт.

2

402545R1

PRESSURE PIPE

TUBE

2шт.

3

570828R1

O-RING,0.087" Thk x 0.644" ID, -908, Cl 6, 90 Duro

2шт.

4

9410977

ELBOW,90 Degree, 3/4"-16, 37 Degree x 3/4"-16, O-Ring

90°

2шт.

5

66116C2

TUBE ASSY.,0.5" OD, 13.04, 2.26" Length

forward-reverse

1шт.

6

382997R1

O-RING,0.07" Thk x 0.489" ID, -14, Cl 6, 90 Duro

2шт.

7

402544R1

SUCTION PIPE

1шт.

8

527757R92

PUMP

1шт.

179841

BOLT,Hex, 3/8" - 16 x 1 1/4", Gr 5

2шт.

103321

LOCK WASHER,3/8"

2шт.

9

574069R1

O-RING,0.750" ID x .062"

1шт.

10

379181R1

O-RING,0.614" ID x 0.07" Width

2шт.

11

427261

KEY

1шт.

12

528076R1

GEAR

14 T

1шт.

115548

LOCK WASHER,Int Tooth, 5/16"

1шт.

114493

JAM NUT,Jam, 5/16"-24, G5

1шт.

13

402556R2

GASKET

1шт.

14

402547R97

VALVE

ASSEMBLY, consists of: Ref. 15 thru 23

1шт.

15

402554R1

PLATE

1шт.

16

402555R3

GASKET

1шт.

17

PLUG, order: P/N 1502344C92

1шт.

18

570828R1

O-RING,0.087" Thk x 0.644" ID, -908, Cl 6, 90 Duro

1шт.

19

SHIM, order: P/N 1502344C92

1шт.

20

SPRING, order: P/N 1502344C92

1шт.

21

BODY, order: P/N 402547R97

1шт.

413-622

BOLT,Hex, 3/8" - 16 x 1-3/8", Gr 5

BOLT, 3/8 x 35 mm

11шт.

103321

LOCK WASHER,3/8"

11шт.

22

369751R2

O-RING

1шт.

23

9410356

PLUG

1шт.

24

66117C1

TUBE ASSY.

1шт.

534263R91

SEALING RING

PACKAGE seals, not illustrated

1шт.

1502344C92

PACKAGE

regulator valve service, not illustrated

1шт.

Выбрано товаров: 32