Запчасти Case IH 248 (8-718) - REGULATOR VALVE - 4 WHEEL DRIVE, VERSION WITHOUT 2 SPEED POWER SHIFT,248, 258, 385, 485, 585: 18001- (08) - HYDRAULICS

Схема запчастей Case IH 248 - (8-718) - REGULATOR VALVE - 4 WHEEL DRIVE, VERSION WITHOUT 2 SPEED POWER SHIFT,248, 258, 385, 485, 585: 18001- (08) - HYDRAULICS
4
3
2
7
6
1
5
FIT
1:1
100%

Артикул

Название

Примечание

Количество

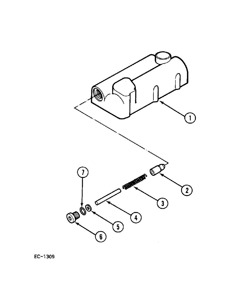
1

83190C91

VALVE

ASSEMBLY, with 2 thru 7

1шт.

2

399882R1

POPPET

1шт.

3

88426C1

SPRING

1шт.

4

399881R2

PIN

1шт.

5

1954071C1

WASHER

1шт.

6

87951C1

PLUG

1шт.

7

364839R1

O-RING,0.078" Thk x 0.468" ID, -906, Cl 6, 90 Duro

1шт.

Выбрано товаров: 7