Запчасти Case IH 248 (8-720) - REGULATOR VALVE - 2 SPEED POWER SHIFT, FOR 2 AND 4 WHEEL DRIVE (08) - HYDRAULICS

Схема запчастей Case IH 248 - (8-720) - REGULATOR VALVE - 2 SPEED POWER SHIFT, FOR 2 AND 4 WHEEL DRIVE (08) - HYDRAULICS
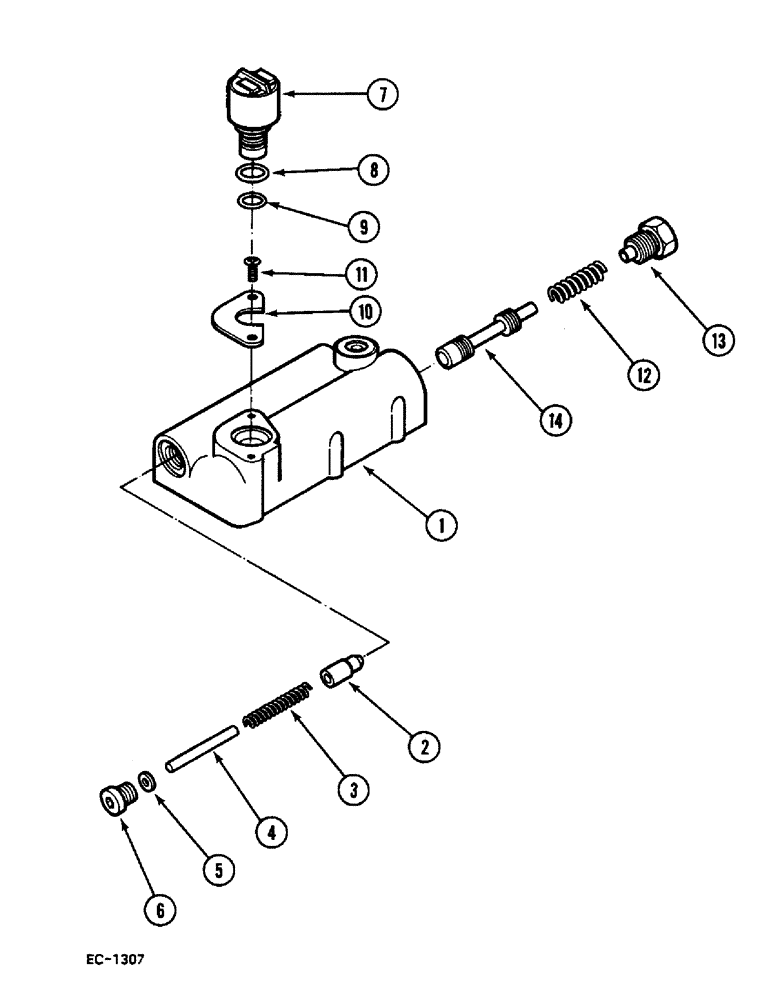
8
7
2
9
1
10
5
6
11
4
12
14
3
13
FIT
1:1
100%

Артикул

Название

Примечание

Количество

1

83006C93

VALVE

ASSEMBLY, with 2 thru 14

1шт.

2

399882R1

POPPET

1шт.

3

88426C1

SPRING

1шт.

1954071C1

WASHER

1шт.

4

399881R1

PIN

1шт.

5

363454R1

WASHER,8.33mm ID x 12.3mm OD x 0.81mm Thk

1шт.

6

87951C1

PLUG

1шт.

7

1958120C1

SOLENOID VALVE

with 8 and 9

1шт.

8

370920R1

O-RING,1/2" ID

1шт.

9

298385R1

O-RING,0.07" Thk x 0.676" ID, -17, Cl 5, 75 Duro

O

1шт.

10

1289695C1

COLLAR

1шт.

11

30827R1

SCREW,Cross Pan Hd, M4 x 8

M4 x 8 mm

2шт.

12

1289693C3

SPRING

1шт.

13

86398C2

PLUG

1шт.

14

SPOOL, not available separately

1шт.

Выбрано товаров: 15