Качественные детали и логистика
Оригинальные и аналоговые запчасти с доставкой по России, Казахстану и Беларуси
©2022 PartSell ООО "Система" ИНН 2463123282 ОГРН 1212400004838
Центральный офис: г. Красноярск, Академика Киренского, д.87, пом.4
Телефон: 8 (800) 777-65-74 Email: zakaz@partsell.ru
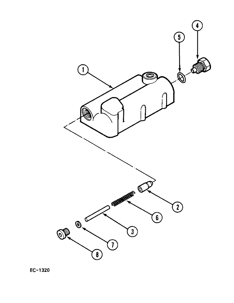
(8-722) - REGULATOR VALVE - FORWARD AND REVERSE, 248, 258: 18001-
№
Артикул
Название
Примечание
Количество
1
94121C92
VALVE
with 2 thru 8
1шт.
2
399882R1
POPPET
3
399881R1
PIN
4
86398C2
PLUG
5
364839R1
O-RING,0.078" Thk x 0.468" ID, -906, Cl 6, 90 Duro
6
88426C1
SPRING
7
1954071C1
WASHER
8
1954070C1
Выбрано товаров: 0