Запчасти Case IH 248 (2-050) - CYLINDER HEAD, VALVES AND STUDS, 258, 585 (02) - ENGINE

Схема запчастей Case IH 248 - (2-050) - CYLINDER HEAD, VALVES AND STUDS, 258, 585 (02) - ENGINE
23
13
18
9
17
1
22
20
18
16
5
15
6
24
16
4
17
13
19
14
12
7
15
3
10
8
14
11
2
FIT
1:1
100%

Артикул

Название

Примечание

Количество

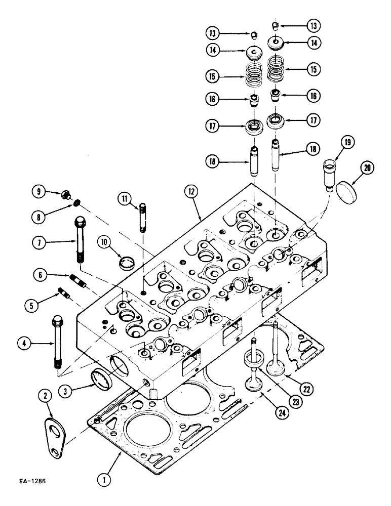
1

3228362R1

CYLINDER HEAD GASKET

1шт.

2

3055370R1

STIRRUP

SHACKLE

1шт.

13-1218

BOLT,Hex, 3/4" - 10 x 1-1/8", Gr 5

BOLT, 3/4 x 1-1/8 inch

1шт.

3

934003R1

PLUG,M52, Conical

1шт.

4

3138748R1

BOLT,Flng, 9/16" - 12 x 5-3/4"

9/16 x 146 mm

10шт.

5

179817

BOLT,Hex, 5/16" - 18 x 7/8", Gr 5, Full Thd

8шт.

6

3055663R1

STUD

3/8 x 38 mm

8шт.

7

3138747R1

BOLT,Cyl Hd, 9/16" - 12 x 123mm

9/16 x 123 mm

8шт.

8

718743R1

SEALING RING,M10 x 16 x 1

Ring

1шт.

9

934259R1

PLUG,Hex, M10 x 1

1шт.

10

933537R1

PLUG,M25, Conical

4шт.

11

179894

BOLT,Hex, 1/2" - 13 x 3 1/4", Gr 5

5шт.

12

3055367R97

HEAD (CYLINDER)

consists of: Ref. 10, 18 - 20

1шт.

13

3055057R91

ROCKER ARM COTTER

KEY ASSEMBLY

16шт.

14

3055058R2

SPRING CUP

CAP

8шт.

15

3055060R1

SPRING

8шт.

16

3228677R91

SEAL

PACKAGE

1шт.

17

3055059R91

CAP

ROTATOR

8шт.

18

3055022R2

VALVE GUIDE

8шт.

19

3055344R1

SLEEVE

4шт.

20

934003R1

PLUG,M52, Conical

1шт.

22

3055055R2

OVERSIZE INLET VALVE

4шт.

23

3132361R1

INSERT

0.40 mm oversize

4шт.

23

3132362R1

VALVE SEAT

0.15 mm oversize

4шт.

24

3055056R2

STD EXHAUST VALVE

STD ENGINE EXHAUST VALVE

4шт.

Выбрано товаров: 25