Запчасти Case IH 248 (9-908) - HEATER AND ROOF INNER - "SEKURA" (09) - CHASSIS

Схема запчастей Case IH 248 - (9-908) - HEATER AND ROOF INNER - "SEKURA" (09) - CHASSIS
5
1
13
31
17
11
15
23
36
2
25
33
20
26
32
18
21
19
14
27
24
3
30
7
12
6
22
8
28
10
16
9
34
4
29
35
FIT
1:1
100%

Артикул

Название

Примечание

Количество

3121589R92

TOP

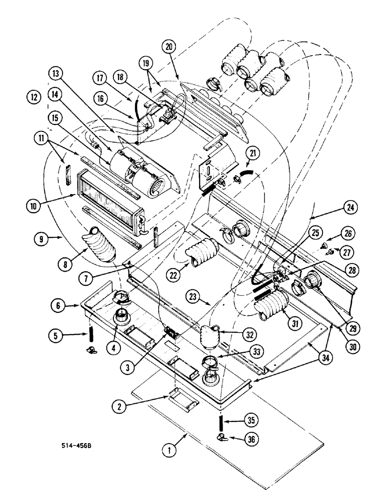
HEATER ASSEMBLY, consists of: Ref. 5, 7 thru 21 and 28 thru 33

1шт.

3121609R1

WASHER

4шт.

446363

WASHER,5/16"

4шт.

628-8020

BOLT,Hex, M8 x 20, 10.9, Full Thd

4шт.

1

3123851R1

INSULATOR

SPARE PART

1шт.

2

3123847R1

MUDFLAP

2шт.

414-420

BOLT,Hex, 1/4" - 28 x 1-1/4", Gr 5

4шт.

95-11028

WASHER,1/4"

1шт.

3123848R1

SPRING

4шт.

894178H1

NUT

4шт.

3

3125480R1

COURTESY LIGHT

DOME LIGHT

1шт.

3123846R1

LAMP

1шт.

4

3123849R1

VENT

2шт.

3123850R1

RIVET

SPARE PART

4шт.

5

3123285R1

RADIATOR HOSE,15.90 mm ID x 800.00 mm

Radiator to Frame

1шт.

6

3123845R91

PANEL

SPARE PART front, with 2-4

1шт.

7

3123287R1

CABLE

SPARE PART interior, Serial Range: light-earth

1шт.

8

3123282R1

HOSE,63.5 mm ID x 1000.00

right

1шт.

9

3123290R1

CABLE

SPARE PART, Serial Range: heater-earth

1шт.

10

3123861R91

RADIATOR

EXCHANGER heat, with 11

1шт.

11

3123862R1

SEALING STRIP

1шт.

3123863R91

VENTILATOR

SPARE PART FAN ASSEMBLY, consists: of Ref. 12 thru 16, 18 thru 20

1шт.

12

3123864R91

FAN

consists of: Ref. 13 thru 15

1шт.

13

3125495R1

HOUSING

1шт.

14

3125494R1

MOTOR, ELECTRIC

1шт.

15

3125496R1

HOUSING

1шт.

3125497R1

CLIP

2шт.

3125498R1

CLIP

SPARE PART

8шт.

16

HOUSING, not available separately

1шт.

17

3123291R1

HARNESS

1шт.

18

3123865R1

RESISTOR

1шт.

19

3123862R1

SEALING STRIP

1шт.

20

PANEL, not available separately

1шт.

21

3123281R1

HOSE

1шт.

22

3123283R1

HOSE,63.5 mm ID x 230.00

right

1шт.

23

3123288R1

CABLE

SPARE PART interior light feed

1шт.

24

3123289R1

CABLE

SPARE PART switch feed

1шт.

25

3123856R1

BLOWER SWITCH

1шт.

26

3123857R1

KNOB

1шт.

3123858R1

SCREW

SCREW

1шт.

27

3123761R1

BUTTON

KNOB

1шт.

28

3123760R1

VALVE

1шт.

3123855R1

SCREW

2шт.

29

3123849R1

VENT

2шт.

3123850R1

RIVET

SPARE PART

4шт.

30

3123852R91

PANEL

rear

1шт.

31

3123284R1

HOSE,63.5 mm ID x 700.00

rear, LH

1шт.

32

3123282R1

HOSE,63.5 mm ID x 1000.00

front, LH

1шт.

33

CLAMP hose

1шт.

34

3123086R91

PANEL ASSY.

with 6 and 30

1шт.

3123280R1

SCREW

5шт.

24418R1

SELF-TAP SCREW,Cross Oval Hd, #6 x 1/2"

1шт.

35

3123286R1

HOSE,15.9 mm ID x 1200.00 mm

valve to frame

1шт.

36

3066758R1

HOSE CLAMP

4шт.

1332774C1

ADAPTER

not illustrated

4шт.

705896R1

CONNECTOR, ELEC

CONNECTOR not illustrated

2шт.

Выбрано товаров: 56