Качественные детали и логистика
Оригинальные и аналоговые запчасти с доставкой по России, Казахстану и Беларуси
©2022 PartSell ООО "Система" ИНН 2463123282 ОГРН 1212400004838
Центральный офис: г. Красноярск, Академика Киренского, д.87, пом.4
Телефон: 8 (800) 777-65-74 Email: zakaz@partsell.ru
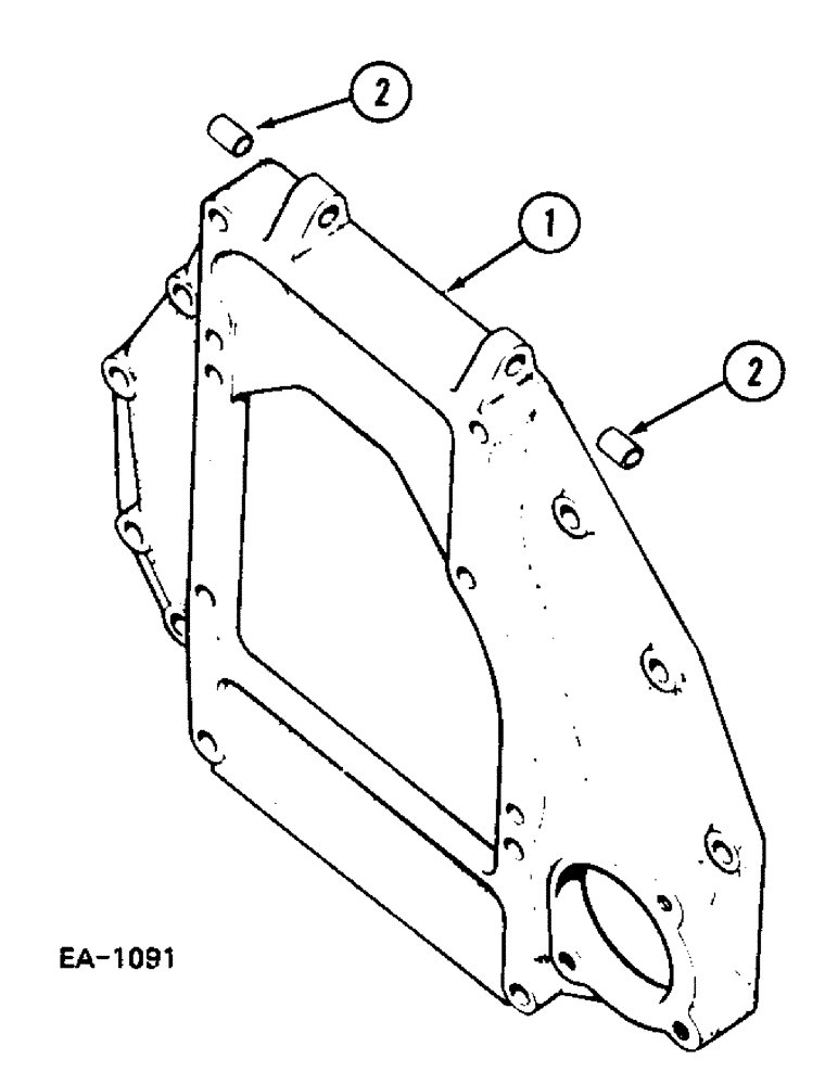
(2-100) - FLYWHEEL HOUSING
№
Артикул
Название
Примечание
Количество
1
3136059R22
PLATE ASSY.
HOUSING, with Ref. 2
1шт.
179885
BOLT,Hex, 1/2" - 13 x 1 1/2", Gr 5
4шт.
3050128R1
LOCK WASHER
2
3136060R2
BUSHING
2шт.
Выбрано товаров: 0