Запчасти Case IH 248 (3-154) - FUEL INJECTION NOZZLE HOLDER (03) - FUEL SYSTEM

Схема запчастей Case IH 248 - (3-154) - FUEL INJECTION NOZZLE HOLDER (03) - FUEL SYSTEM
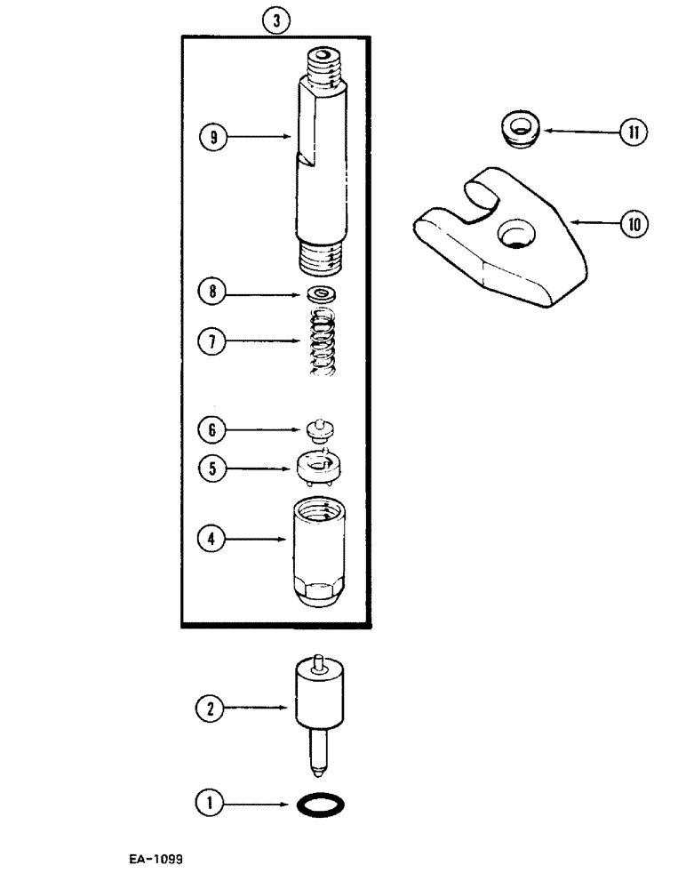
11
2
4
8
7
9
6
1
10
3
5
FIT
1:1
100%

Артикул

Название

Примечание

Количество

1

717203R1

O-RING,4mm Thk x 17mm ID, 72 Duro

models 248, 385. 485 tractor

3шт.

1

717203R1

O-RING,4mm Thk x 17mm ID, 72 Duro

model 258 and 585 tractor

4шт.

2

3218248R2

NOZZLE CAP

models 248, 385. 485 tractor

3шт.

2

3218248R2

NOZZLE CAP

model 258 and 585 tractor

4шт.

3

3218247R92

HOLDER

models 248, 385. 485 tractor

3шт.

3

3218247R92

HOLDER

model 258 and 585 tractor

4шт.

4

3218388R1

NUT

1шт.

5

3218387R1

SPACER

1шт.

6

3218386R2

SPACER

1шт.

7

3218385R2

SPRING

1шт.

8

3218657R1

SHIM

0.50 mm

1шт.

8

3218658R1

SHIM

0.52 mm

1шт.

8

3218659R1

SHIM

0.55 mm

1шт.

8

3218660R1

SHIM

0.57 mm

1шт.

8

3218661R1

SHIM

0.60 mm

1шт.

8

3218662R1

SHIM

0.70 mm

1шт.

8

3218663R1

SHIM

0.80 mm

1шт.

8

3218664R1

SHIM

0.90 mm

1шт.

9

3218389R1

BODY

1шт.

10

3218128R1

RETAINER

models 248, 385. 485 tractor

3шт.

10

3218128R1

RETAINER

model 258 and 585 tractor

4шт.

24477R1

BOLT,Hex, 5/16" - 18 x 1", Gr 8

Models 248, 385. 485 tractor

3шт.

24477R1

BOLT,Hex, 5/16" - 18 x 1", Gr 8

Model 258 and 585 tractor

4шт.

11

3218129R1

WASHER

models 248, 385. 485 tractor

3шт.

11

3218129R1

WASHER

model 258 and 585 tractor

4шт.

Выбрано товаров: 25