Запчасти Case IH 2504 (026) - DIESEL ENGINE, CYLINDER HEAD AND RELATED PARTS (01) - ENGINE

Схема запчастей Case IH 2504 - (026) - DIESEL ENGINE, CYLINDER HEAD AND RELATED PARTS (01) - ENGINE
13
30
3
1
32
17
31
20
18
2
29
7
34
5
21
19
28
12
19
23
17
33
22
10
25
11
20
26
6
27
35
34
18
8
15
16
24
9
4
14
FIT
1:1
100%

Артикул

Название

Примечание

Количество

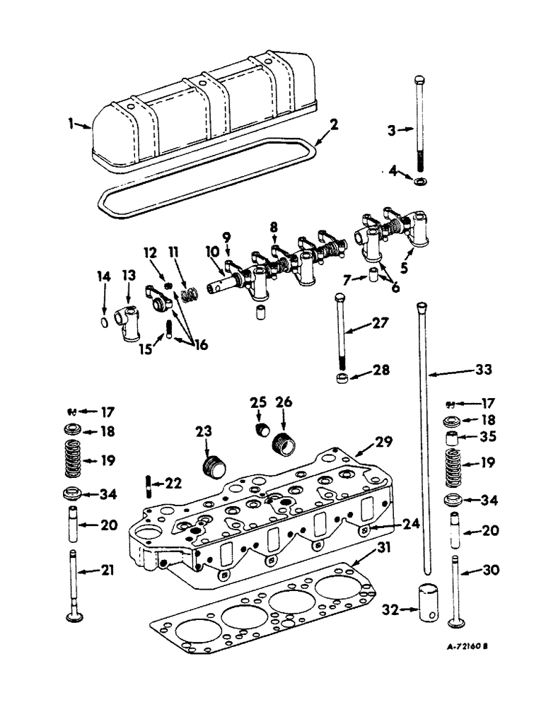
1

308381R1

COVER, valve

1шт.

313971R1

GROMMET

valve cover screw

3шт.

17718R1

SCREW, 5/16-18 x 4 hex-hd cap

3шт.

2

308382R1

GASKET

valve cover

1шт.

3

320097R1

BOLT (SPREADER),1/2" - 13 x 8"

BOLT, cylinder head, long

5шт.

4

345409R1

WASHER,13.84mm ID x 25.4mm OD x 2.34mm Thk

cylinder head bolt

5шт.

5

76858R1

BRACKET

valve lever shaft, nos. 3 & 5

2шт.

6

76860R11

BRACKET ASSY, valve lever shaft, nos. 2 & 4

2шт.

7

69500R1

SLEEVE

DOWEL, valve lever shaft

2шт.

8

278304R21

ARM

LEVER ASSY, exhaust valve RH

2шт.

9

323797R91

LEVER ASSY, intake valve

4шт.

10

308380R11

SHAFT W/PLUGS, valve lever

1шт.

11

35619H

SPRING

valve lever

4шт.

12

133093R1

NUT,Hex, 3/8" - 24

valve lever adjusting screw

8шт.

13

76859R1

BRACKET

valve lever shaft, front

1шт.

14

172528

PLUG,Exp, 9/16"

9/16 expansion

2шт.

15

16067DA

ADJUSTMENT SCREW,3/8" - 24

valve lever adjusting

8шт.

16

278303R21

ARM

LEVER ASSY, exhaust valve LH

2шт.

17

41339D

KEY

valve spring retainer

16шт.

18

151167R3

SEAT

RETAINER, valve spring

8шт.

19

315744R1

SPRING

valve

8шт.

20

278300R1

PILOT VALVE

GUIDE, valve

8шт.

21

278302R1

VALVE

exhaust

4шт.

22

303473R1

NUT

STUD, exhaust manifold

7шт.

23

601244C1

PLUG

1-1/4 ctsk-hdls pipe

3шт.

24

9409949

DRAIN PLUG

3/4 sq-soc pipe

8шт.

25

444588

PLUG,Sq Hd, 1/2"-14 NPTF

1-2/14 auto. sq-hd pipe

1шт.

26

142765

PLUG

BUSHING, 1-1/4 x 1/2 reducing pipe

1шт.

27

278305R1

BOLT,Hex, 1/2" - 13 x 6.03"

cylinder head short

5шт.

28

278306R1

WASHER

cylinder head bolt

5шт.

29

308378R51

HEAD (CYLINDER)

HEAD ASSY, cylinder, composed of (1) bushing 142765 (8) guide 278300R1 (1) head 308378R4 (NSS) (1) plug 444588 (3) plug 601244C1 (8) plug 9409949 (3) sleeve 278369R1 (NSS) (7) stud 303473R1

1шт.

30

278301R1

LOCK VALVE

VALVE, intake

4шт.

31

308379R3

GASKET

cylinder head

1шт.

32

75524R3

TAPPET

valve

8шт.

33

164436R91

PUSH ROD

ROD, valve push

8шт.

34

317935R91

SEAT

ROTO COIL, valve

8шт.

35

612107C1

BAFFLE

DEFLECTOR, intake valve stem oil

4шт.

Выбрано товаров: 37