Запчасти Case IH 2544 (F-16) - HYDRAULICS SYSTEM, OIL COOLER AND CONNECTIONS, INTERNATIONAL HYDROSTATIC DRIVE TRACTORS (07) - HYDRAULIC SYSTEM

Схема запчастей Case IH 2544 - (F-16) - HYDRAULICS SYSTEM, OIL COOLER AND CONNECTIONS, INTERNATIONAL HYDROSTATIC DRIVE TRACTORS (07) - HYDRAULIC SYSTEM
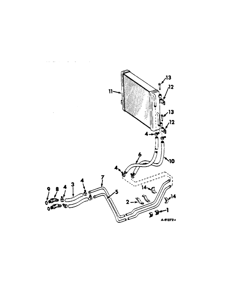
4
14
8
1
14
12
4
11
5
2
10
7
4
6
13
3
13
9
4
12
FIT
1:1
100%

Артикул

Название

Примечание

Количество

1

384855R11

CLAMP

oil cooler tubes

2шт.

413-412

BOLT,Hex, 1/4" - 20 x 3/4", Gr 5

SCREW, 1/4-20 x 3/4 hex-hd cap

2шт.

2

402740R1

BRACKET, oil cooler tubes, carbureted engine tractors

2шт.

2

532689R1

BRACKET, oil cooler tubes, diesel engine tractors

2шт.

179795

TILLAGE BLADE

SCREW, 1/4-20 x 3/4 hex-hd cap

2шт.

3

399682R2

HOSE

oil cooler return rear

2шт.

4

274085R91

HOSE CLAMP,#10, 0.56/1.06 Type F Worm

CLAMP, cooler return pipe hose

8шт.

5

403601R2

TUBE, oil cooler return front

1шт.

6

399684R1

HOSE, oil cooler supply front, Serial Range: -16234

1шт.

6

535115R2

HOSE, oil cooler supply front, Start Serial: 16235

1шт.

7

403602R1

TUBE ASSY, cooler supply front

1шт.

8

399705R1

ELBOW, adjustable 45 deg

2шт.

9

364879R1

O-RING,0.103" Thk x 0.862" ID, -118, Cl 5, 75 Duro

7/8 x 1-1/16 x 3/32

2шт.

10

399683R1

HOSE

oil cooler return front, Serial Range: -16234

1шт.

10

538669R1

HOSE, oil cooler return front, Start Serial: 16235

1шт.

11

399308R1

COOLER

ASSY, oil, order package, 535118R91, Serial Range: -16234

1шт.

11

535116R1

COOLER

ASSY, oil, Start Serial: 16235

1шт.

12

399243R1

PIVOT ASSY, oil cooler, Serial Range: -16234

2шт.

399479R1

NUT, oil cooler fastener

1шт.

451623

SCREW, 1/4-20 x 7/8 ZND slt hex-hd mach

1шт.

179833

BOLT,Hex, 3/8" - 16 x 1/2", Gr 5, Full Thd

2шт.

12

535117R1

PIVOT, oil cooler, Start Serial: 16235

2шт.

179833

BOLT,Hex, 3/8" - 16 x 1/2", Gr 5, Full Thd

2шт.

386858R1

SCREW,Hex Wshr Hd, 3/8" - 16 x 0.75"

3/8-16 x 3/4 CDP hex. washer hd cap

1шт.

13

555469R1

AXLE PIN

PIN, 5/16 x 2-1/8 headed, Serial Range: -16234

2шт.

13

478043R1

HEADED PIN,5/16" x 2 3/8"

PIN, 5/16 x 2-3/8 headed, Start Serial: 16235

2шт.

103384

COTTER PIN,1/8" x 3/4"

Pin, Split (Cotter), 1/8" x 3/4"

2шт.

14

382226R1

CLAMP, oil cooler tubes front

2шт.

109084

NUT,1/4"-20, G5

1шт.

413-412

BOLT,Hex, 1/4" - 20 x 3/4", Gr 5

SCREW, 1/4-20 x 3/4 hex-hd cap

1шт.

535118R91

PACKAGE, oil cooler service, consists of (1) bushing 538668R1, (1) hose 535115R2, (1) instruction 1082981R1 (NSS), (2) pin 478043R1, (2) pivot 535117R1, (2) screw 179833, (1) screw 368858R1, (1) support 538670R1, Serial Range: -16234

1шт.

Выбрано товаров: 31