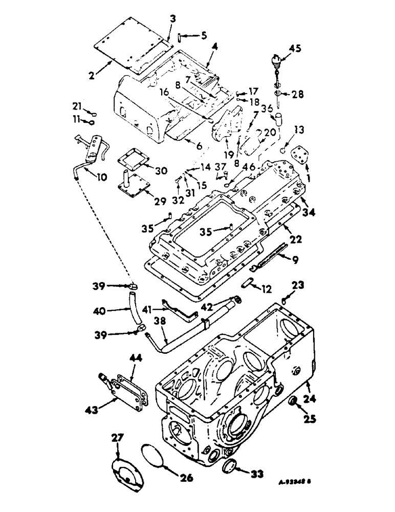
Запчасти Case IH 2544 (A-02) - CHASSIS, RADIATOR AND SHEET METAL, REAR FRAME COVER AND CONNECTIONS Chassis, Radiator & Sheet Metal

Схема запчастей Case IH 2544 - (A-02) - CHASSIS, RADIATOR AND SHEET METAL, REAR FRAME COVER AND CONNECTIONS Chassis, Radiator & Sheet Metal
41
43
30
13
26
23
7
18
31
19
46
4
35
22
12
9
39
20
7
37
29
40
35
21
28
1
25
42
10
14
8
38
15
6
3
5
8
33
39
17
1
2
16
45
36
32
44
34
24
27
FIT
1:1
100%

Артикул

Название

Примечание

Количество

1

406114R1

GASKET

breather

1шт.

2

393761R1

COVER, hyd unit housing, Farmall tractors

1шт.

2

376016R11

COVER ASSY, hyd unit housing, International tractors

1шт.

179817

BOLT,Hex, 5/16" - 18 x 7/8", Gr 5, Full Thd

5шт.

114663

SCREW,Sl Flat Hd, 5/16" - 18 x 3/4"

5/16-18 x 3/4 f-hd mach

6шт.

3

376018R1

GASKET

hyd unit housing cover

1шт.

4

389524R91

HOUSING ASSY, hyd draft control lift, Farmall tractors w/serial No. 14291 & below, International tractors w/serial no. 15786 & below, composed of (1) bearing 376009R1, (1) bearing 376011R11, (1) bushing 376010R1, (1) bushing 389525R1, (1) bushing 389526R1

1шт.

4

532508R92

HOUSING ASSY, hyd draft control lift, Farmall tractors w/serial No. 14292 & above, International tractors w/serial no. 15787 & above, composed of (1) bearing 376009R1, (1) bushing 376010R1, (1) bushing 537118R1, (1) housing 532510R1 (NSS), (1) retainer 37

1шт.

172557

PLUG

1-3/16 expansion, Farmall tractors

1шт.

179840

BOLT,Hex, 3/8" - 16 x 1 1/8", Gr 5

SCREW, 3/8-16 x 1-1/8 hex-hd cap

5шт.

179841

BOLT,Hex, 3/8" - 16 x 1 1/4", Gr 5

3/8-16 x 1-1/4 hex-hd cap, For use w/battery ground & Flasher, International tractors

2шт.

413-630

BOLT,Hex, 3/8" - 16 x 1-7/8", Gr 5

4шт.

179883

BOLT,Hex, 1/2" - 13 x 1 1/4", Gr 5

4шт.

9410358

PLUG

9/16-18 str o-ring boss, gear drive tractors

1шт.

364839R1

O-RING,0.078" Thk x 0.468" ID, -906, Cl 6, 90 Duro

6-1, 90 Duro, .468" ID x .078" Thk, gear drive tractors

1шт.

376015R1

BUSHING

RETAINER, suction port o-ring

1шт.

5

381747R1

PLUG, hydraulic unit housing drain

1шт.

6

375577R1

GASKET

hyd unit housing

1шт.

7

381885R1

O-RING,0.103" Thk x 1.362" ID, -126, Cl 6, 90 Duro

1-3/8 x 1-9/16 x 3/32, transfer block, large

2шт.

8

381884R1

O-RING,0.103" Thk x 0.987" ID, -120, Cl 6, 90 Duro

1 x 1-3/16 x 3/32, transfer block, small

4шт.

9

374959R1

TROUGH, oil, International tractors

1шт.

370345R2

SCREW, oil trough mtg

1шт.

114607

LOCK, Ext Tooth, 7/16"

1шт.

10

392643R91

PIPE

ASSY, differential lub and suction return, Farmall gear drive tractors

1шт.

10

396853R1

PIPE ASSY, differential lub and suction return, Farmall tractors w/hydrostatic drive

1шт.

10

380375R11

TUBE ASSY, differential lub and suction return, International tractors

1шт.

179816

BOLT,Hex, 5/16" - 18 x 3/4", Gr 5

SCREW, 5/16-18 x 5/8 hex-hd cap, International tractors

1шт.

615031R1

WASHER

3/8 x 7/8 x .083

3шт.

11

372821R1

O-RING,0.103" Thk x 1.049" ID, -121, Cl 5, 75 Duro

1-1/16 x 1-1/4 x 3/32, junction plate seal, Farmall tractors

1шт.

12

381443R1

PLATE, hyd unit hsg suction line cover, International tractors

1шт.

13-510

BOLT,Hex, 5/16" - 18 x 5/8", Gr 5, Full Thd

2шт.

13

41162D

PLUG, cup, hydrostatic drive tractors

1шт.

14

364879R1

O-RING,0.103" Thk x 0.862" ID, -118, Cl 5, 75 Duro

7/8 x 1-1/16 x 3/32, relief valve outer

1шт.

15

378985R2

BACK-UP RING

relief valve backup

1шт.

16

383440R91

LOCK VALVE

VALVE ASSY, check

1шт.

17

9410358

PLUG

9/16-18 str thd o-ring boss, hydraulic transfer block, small

1шт.

18

364839R1

O-RING,0.078" Thk x 0.468" ID, -906, Cl 6, 90 Duro

6-1, 90 Duro, .468" ID x .078" Thk, transfer block plug

1шт.

19

379293R2

BLOCK, hyd transfer, Farmall tractors

1шт.

61-33828

HEX SOC SCREW,3/8"-16 x 1 3/4"

SCREW, 3/8-16 x 1-3/4 hex-soc-hd cap

1шт.

179847

BOLT,Hex, 3/8" - 16 x 2", Gr 5

1шт.

179848

BOLT,Hex, 3/8" - 16 x 2 1/4", Gr 5

1шт.

103321

LOCK WASHER,3/8"

WASHER, LOCK, 3/8"

2шт.

19

381795R2

BLOCK, hyd transfer & extension return, International tractors

1шт.

9410363

PLUG

return port

1шт.

296247R1

O-RING,16-1, 90 Duro, 1.171" ID x .116" Thk

return port plug

1шт.

406508R1

PLUG

draft control shaft

1шт.

307915R1

O-RING,0.118" Thk x 1.475" ID, -920, Cl 6, 90 Duro

draft control shaft core plug

1шт.

20

376023R4

COVER

control valve end

1шт.

179850

BOLT,Hex, 3/8" - 16 x 2 3/4", Gr 5

SCREW, 3/8-16 x 2-3/4 hex-hd cap

3шт.

21

372764R1

O-RING,0.103" Thk x 1.11" ID, -122, Cl 5, 75 Duro

1-1/8 x 1-5/16 x 3/32, suction cover

1шт.

22

388136R1

GASKET

rear frame spacer, Farmall tractors

1шт.

22

400934R1

GASKET

rear frame spacer, International tractors

1шт.

23

24550D

PIN

rear frame cover dowel, Farmall tractors

2шт.

23

48651D

DOWEL, rear frame cover, International tractors

2шт.

24

401257R93

FRAME ASSY, rear, Farmall tractors, composed of (1) frame 397050R4 (NSS), (2) pin 24550D, (1) plug 9409947, (1) plug 445686, (2) plug 388134R1, (2) seal 380959R91

1шт.

9409947

DRAIN PLUG,Sq Soc, 3/4"-14 NPTF

PLUG, 3/4-14 auto. sq-soc-hd pipe

1шт.

445686

PLUG

3/8-18 auto. sq-hd pipe

2шт.

24

402478R92

FRAME ASSY, rear, all International gear drive tractors, International hydrostatic drive tractors w/serial no. 15657 & above, composed of (1) dowel 48651D, (1) frame 402361R2 (NSS), (1) plug 445751, (1) plug 444678, (1) plug 445686, (2) seal 380659R91

1шт.

24

402479R92

FRAME ASSY, rear, International hydrostatic drive tractors w/ serial no. 15656 & below, composed of (2) dowel 48651D, (1) frame 402361R2 (NSS), (1) plug 445751, (1) plug 444678, (5) stud 396626R1, (2) stud 66445D, (1) plug 445686, (2) seal 380959R91, (2)

1шт.

445751

1/2-14 auto. sq-soc-hd pipe

1шт.

444678

PLUG

1-11-1/2 auto. sq-soc-hd pipe

1шт.

445686

PLUG

3/8-18 auto. sq-soc-hd pipe

1шт.

380959R91

OIL SEAL,26.67mm ID x 46.53mm OD x 6.5mm Thk

brake pedal shaft oil

2шт.

396626R1

STUD, rear frame, short, hydrostatic drive tractors

5шт.

66445D

STUD, rear frame, medium, hydrostatic drive tractors

2шт.

396627R1

STUD

rear frame, long, hydrostatic drive tractors

2шт.

25

380959R91

OIL SEAL,26.67mm ID x 46.53mm OD x 6.5mm Thk

brake pedal shaft oil

2шт.

26

384398R1

SEALING RING,0.551" ID x 0.07" Width

O-RING, 7-1/8 x 7-17/32 x 13/64, PTO opening cover

1шт.

27

358841R1

COVER, PTO opening

1шт.

179881

BOLT,1/2" - 13 x 1", Gr 5

4шт.

28

350684R1

O-RING,0.139" Thk x 0.734" ID, -210, Cl 5, 75 Duro

3/4 x 1 x 1/8

2шт.

29

376040R11

COVER ASSY, hyd unit housing bottom

1шт.

179814

SPACER

8шт.

103320

LOCK WASHER,5/16"

WASHER, LOCK, 5/16"

8шт.

30

376983R1

GASKET

hyd unit housing bottom cover

1шт.

31

383219R1

O-RING,0.924" ID x 0.103" Width

15/16 x 1-1/8 x 3/32, relief valve inner

1шт.

32

389033R93

VALVE

ASSY, pilot operated relief, 1600 PSI, for components see list of parts under details of pilot relief valve

1шт.

33

388134R1

PLUG

torsion bar cup

2шт.

34

400736R11

SPACER ASSY, rear frame, order spacer assy, 529083R91, gasket, 403875R2 and shaft, 529082R1, International gear drive tractors

1шт.

34

529083R91

SPACER ASSY, rear frame, International gear drive tractors

1шт.

34

400933R93

SPACER ASSY, rear frame, International tractors with hydrostatic drive

1шт.

34

388117R11

SPACER ASSY, rear frame, Farmall gear drive tractors

1шт.

34

397051R3

SPACER ASSY, rear frame, Farmall tractors w/hydrostatic drive

1шт.

20975R1

DRAIN PLUG,Sq Soc, 1 1/4"-11 1/2, NTPF

PLUG, 1-1/4-11-1/2 auto. sq-soc pipe, International gear drive tractors

1шт.

445671

PLUG,Sq Hd, 1/8"-27 NPTF

1/8-27 auto. sq-hd, hydrostatic drive tractors

1шт.

413-724

BOLT,Hex, 7/16" - 14 x 1-1/2", Gr 5

SCREW, 7/16-14 x 1-1/2 hex-hd cap, International tractors

10шт.

179855

SCREW, 1/2-13 x 1-1/2 hex-hd cap, Farmall tractors

4шт.

179889

BOLT,Hex, 1/2" - 13 x 2", Gr 5

SCREW, 1/2-13 x 2 hex-hd cap

3шт.

413-836

BOLT,Hex, 1/2" - 13 x 2-1/4", Gr 5

SCREW, 1/2-13 x 2-1/4 hex-hd cap, Farmall hydrostatic drive tractors

2шт.

179866

BOLT,Hex, 7/16" - 14 x 2", Gr 5

International tractors Hex, 7/16"-14 x 2", G5

1шт.

413-840

BOLT,Hex, 1/2" - 13 x 2-1/2", Gr 5

SCREW, 1/2-13 x 2-1/2 hex-hd cap, International tractors

2шт.

35

357124R1

DOWEL

PIN, rear frame spacer dowel

2шт.

36

386450R1

GUIDE

oil level gauge

1шт.

37

406906R91

PACKAGE

rear frame spacer service, hydrostatic drive tractors, consists of (1) breather 405957R1 (NSS), (1) gasket 406114R1, (1) o-ring 355967R1, (1) plug 445671

1шт.

445671

PLUG,Sq Hd, 1/8"-27 NPTF

18/27 auto. sq-hd pipe

1шт.

37

152127H1

BREATHER,1/8"-27, Short

rear frame spacer, gear drive tractors

1шт.

38

403752R2

PIPE ASSY, oil suction, International tractors

1шт.

38

400887R2

PIPE ASSY, oil suction, Farmall gear drive tractors

1шт.

38

402666R2

TUBE

PIPE ASSY, oil suction, Farmall tractors w/hydrostatic drive

1шт.

231-1446

NUT,3/8" - 16, Gr 5

NUT LOCK, 3/8"-16, GB

1шт.

39

30522D

HOSE CLAMP

CLAMP, suction hose

2шт.

40

401511R1

HYDRAULIC HOSE,0.63" ID x 10.50"

HOSE, suction tube, gear drive tractors

1шт.

40

403796R1

HOSE, internal suction tube, Farmall tractors w/hydrostatic drive

1шт.

41

402667R2

SUPPORT TUBE

SUPPORT, oil suction tube

1шт.

42

610414C1

O-RING,0.21" Thk x 1.975" ID, -329, Cl 5, 75 Duro

oil suction tube, used w/rear frame, 401257R93

1шт.

42

396632R1

RING

oil suction tube seal, used w/rear frame, 401257R91

1шт.

43

388140R12

COVER

ASSY, draft control adj opening, Farmall tractors

1шт.

44

388144R2

GASKET

draft control opening cover, Farmall tractors

1шт.

13-1022

BOLT,Hex, 5/8" - 11 x 1-3/8", Gr 5, Full Thd

SCREW, 5/8-11 x 1-3/8 hex-hd cap

4шт.

45

388145R91

GAUGE

ASSY, oil level, Farmall gear drive tractors

1шт.

45

405917R91

GAUGE

ASSY, oil level, Farmall tractors w/hydrostatic drive

1шт.

45

403442R91

GAUGE

ASSY, oil level, International gear drive tractors

1шт.

45

405918R91

GAUGE

ASSY, oil level, International tractors with hydrostatic drive

1шт.

46

355967R1

O-RING,0.364" ID x 0.003" Width

3/8 x 1/2 x 1/16

1шт.

Выбрано товаров: 114