Запчасти Case IH 2544 (H-04) - CONTROLS, ENGINE CONTROLS AND INSTRUMENTS, INTERNATIONAL TRACTORS Controls

Схема запчастей Case IH 2544 - (H-04) - CONTROLS, ENGINE CONTROLS AND INSTRUMENTS, INTERNATIONAL TRACTORS Controls
13
14
7
5
26
28
10
38
19
40
27
20
32
18
36
25
34
1
9
29
16
24
23
21
27
29
6
39
12
13
33
42
3
43
11
41
22
2
35
15
30
4
31
37
8
17
FIT
1:1
100%

Артикул

Название

Примечание

Количество

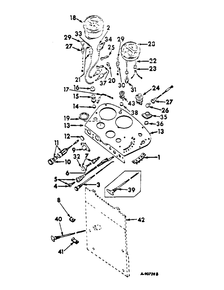
1

378336R91

BLOCK

ASSY, junction

1шт.

109084

NUT,1/4"-20, G5

2шт.

102614

NUT

10-32 C-Z hex. mach screw

2шт.

103319

LOCK WASHER,1/4"

WASHER, LOCK, 1/4"

2шт.

120217

LOCK WASHER,#10

WASHER, LOCK, #10

1шт.

2

404634R1

CORE, flexible drive cable

1шт.

3

369689R93

CABLE

CONTROL ASSY, choke, carbureted engine tractors

1шт.

124925

JAM NUT,Jam, 3/8"-24, G5

1шт.

138542

LOCK WASHER,Int Tooth, 3/8"

WASHER, LOCK, Int Tooth, 3/8"

1шт.

4

382458R2

KEY

switch

1шт.

5

403562R2

SWITCH

ASSY, key

1шт.

365502R1

NUT

key switch mounting

1шт.

375431R1

LOCK WASHER

key switch mounting

1шт.

6

432644

FUSE,20 Amp, Type SFE

cartridge type sfe 20

1шт.

7

376852R91

HOUSING

ASSY, fuse

1шт.

8

373373R1

CLIP

CLAMP, cable shut-off, diesel engine tractors

1шт.

134536

BOTTOM

NUT, 8-32 C-Z sq mach

1шт.

131979

SCREW,Sl Fil Hd, #8 - 32 x 3/4"

8-32 x 3/4 slt fil-hd mach

1шт.

121841

LOCK WASHER,#8

WASHER, LOCK, #8

1шт.

9

397940R93

SWITCH

push button starting

1шт.

120611

NUT,#10 - 32

10-32 C-Z sq-hd mach screw

2шт.

132903

ADAPTER

SCREW, 10-32 x 7/16 S-Z rd-hd mach

2шт.

120217

LOCK WASHER,#10

WASHER, LOCK, #10

2шт.

10

378781R91

PACKAGE

UNIT, pop out

1шт.

11

378338R91

CIGAR LIGHTER

CIGARETTE lighter parts accessory, 12 volt

1шт.

12

432281

HOLE PLUG BUTTON,29/32"

PLUG, cigarette lighter hole button

1шт.

13

402071R2

PANEL ASSY, instrument, for gear drive tractors also order plug, 432487

1шт.

120583

SCREW,Sl Rnd Hd, 1/4" - 20 x 5/8"

1/4-20 x 5/8 C-Z rdn-hd mach

10шт.

14

374342R1

PLUG

horn switch hole button

1шт.

15

393209R91

SWITCH

horn, less cap

1шт.

16

371487R1

CYLINDER END CAP

CAP, horn switch dust, gray

1шт.

17

404391R1

CABLE

ASSY, horn switch to junction block

1шт.

18

401833R1

SPEEDOMETER-TACHOMETER ASSY, gear drive tractors

1шт.

18

65324C1

SPEEDOMETER

-TACHOMETER ASSY, tractors w/hydrostatic drive

1шт.

18

402868R1

SPEEDOMETER-TACHOMETER ASSY, row crop tractors equipped w/torque amplifier

1шт.

18

402030R1

SPEEDOMETER-TACHOMETER ASSY, row crop tractors w/gear drive

1шт.

19

371052R11

COVER

ASSY, air indicator

1шт.

20

399139R2

SEAL

speedometer cable

1шт.

21

397016R91

CABLE

ASSY, tachometer flexible drive, carbureted engine tractors

1шт.

22

9412348

BULB,C2B, #257, 14V

LIGHT, no. 257, 12 volt

2шт.

23

376856R91

SOCKET

ASSY, oil and amp tellite

2шт.

24

403571R2

SWITCH

lighting

1шт.

25

370740R1

CLAMP

CLIP, tachometer cable, diesel engine tractors

1шт.

179837

BOLT,Hex, 3/8" - 16 x 3/4", Gr 5

1шт.

103321

LOCK WASHER,3/8"

WASHER, LOCK, 3/8"

1шт.

26

9417863

BULB,C2F, #1895, 14V

LIGHT, no. 1895, 12 volt

1шт.

27

363838R91

CABLE

SOCKET ASSY, instrument light

2шт.

28

397939R92

INDICATOR STRIP

CLUSTER ASSY, gauge

1шт.

29

9417863

BULB,C2F, #1895, 14V

LIGHT, no. 1895, 12 volt

4шт.

30

376853R91

SOCKET

ASSY, instrument light

2шт.

31

51510DA

RESTRICTOR

BUSHING, capillary tube bulb installation

1шт.

32

356445R91

KNOB

fuse holder

1шт.

33

397017R1

CORE

ASSY, tachometer flexible drive cable, carbureted engine tractors

1шт.

33

402240R1

NO LONGER SERVICED

CORE ASSY, tachometer flexible drive cable, diesel engine tractors

1шт.

34

400727R91

CABLE

ASSY, speedometer flexible drive, tractors w/hydrostatic drive

1шт.

35

NSS

NOT SOLD SEPARAT

SWITCH ASSY, push button, ether start, refer to ether starting listing, section E

1шт.

36

192105

HOLE PLUG BUTTON,1"

PLUG, ether start button hole, carbureted engine tractors

1шт.

37

370740R1

CLAMP

CLIP, tach flex drive cable, carbureted engine tractors

1шт.

38

432487

HOLE PLUG BUTTON,11/16"

PLUG, C-Z panel button, gear drive tractors

1шт.

39

403868R1

CABLE

ASSY, fuel shut-off, diesel engine tractors, Serial Range: -14271

1шт.

124925

JAM NUT,Jam, 3/8"-24, G5

1шт.

138542

LOCK WASHER,Int Tooth, 3/8"

WASHER, LOCK, Int Tooth, 3/8"

1шт.

40

530762R2

CABLE

ASSY, fuel shut-off, diesel engine tractors, Start Serial: 14272

1шт.

41

362123R1

CLIP

shut-off cable

1шт.

172852

SCREW, 7/16-14 x 1/2 hex-hd cap

1шт.

42

NSS

NOT SOLD SEPARAT

PANEL ASSY, platform front, refer to platforms and supports listing, section A

1шт.

43

NSS

NOT SOLD SEPARAT

LIGHT ASSY, transmission oil, temperature warning, hydrostatic drive tractors, refer to starting and lighting listing, section G

1шт.

366460R1

CABLE CLIP

CLIP, capillary tube on fuel tank LH front mounting bolt, carbureted engine tractors

1шт.

362123R1

CLIP

capillary tube on hood support RH rear mounting bolt, carbureted engine tractors

1шт.

363660R1

CLIP

capillary tube on air cleaner bracket LH mounting bolt, diesel engine tractors

1шт.

Выбрано товаров: 0