Запчасти Case IH 2544 (K-04) - DRAWBARS AND HITCHES, TWO POINT FAST HITCH Drawbars & Hitches

Схема запчастей Case IH 2544 - (K-04) - DRAWBARS AND HITCHES, TWO POINT FAST HITCH Drawbars & Hitches
4
32
49
31
51
34
11
33
36
49
40
23
50
19
1
21
20
22
41
26
39
15
3
47
43
33
38
9
51
16
34
26
15
24
25
3
10
3
13
4
28
44
27
14
44
6
18
31
7
5
37
42
26
5
17
3
35
6
3
7
40
1
26
10
8
19
22
16
27
14
18
2
20
32
17
3
2
45
29
9
35
30
48
12
23
11
8
21
FIT
1:1
100%

Артикул

Название

Примечание

Количество

NSS

NOT SOLD SEPARAT

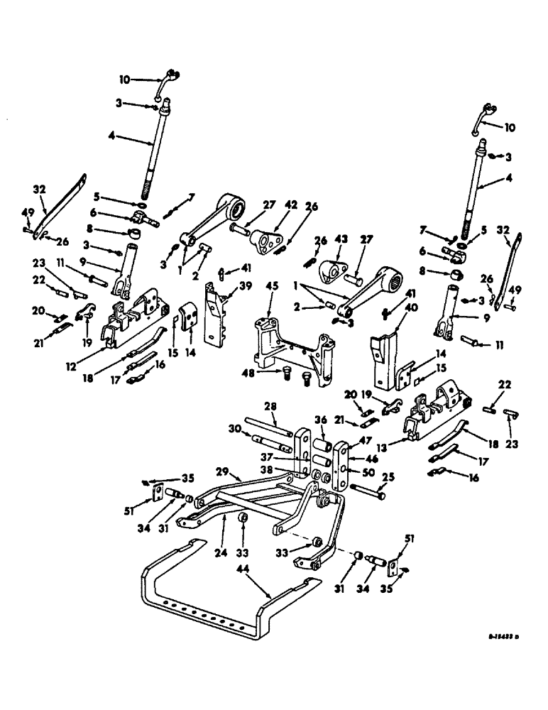
ATTACHMENT, two point fast hitch, 392078R94, less ref nos. 26, 27, 32, 42, 43, 44, 48 and 49, tractors with draft control and draft sensing unit

1шт.

1

391086R11

ARM ASSY, rockshaft

2шт.

2

383357R1

BUSHING,28.56mm ID x 33.38mm OD x 63.5mm L

rockshaft arm

2шт.

3

86504104

LUBE NIPPLE,1/4" x .56" lg, Drive

FITTING, 1/4 drive type str lub

6шт.

4

391089R11

SCREW

ASSY, leveling

2шт.

617057R1

PIN,1/4" x 1", Coiled

2шт.

5

382168R2

WASHER

pivot

2шт.

6

383990R2

PIVOT ASSY.

PIVOT, leveling screw

2шт.

Q3482

WASHER

1-5/32 x 1-3/4 x 11 ga

2шт.

7

520175R1

CLIP

PIN, quick attachable cotter, leveling screw pivot

2шт.

8

383982R1

COLLAR

COLLAR, vertical float lock

2шт.

113020

SET SCREW,Sq Hd, 5/8"-11 x 1"

SCREW, 5/8 x 1 cone-pt sq-hd set

2шт.

9

538970R1

YOKE

leveling screw, on orders for 389538R1, furnish yoke, 538970R1 and pin, 538971R1

2шт.

10

523861R2

HANDLE

HANDLE, leveling screw

2шт.

617939R1

PIN,5/16" x 1 1/2", Coiled

2шт.

11

538971R1

PIN

7/8 x 3-5/8 leveling screw yoke, use w/yoke, 538970R1

2шт.

PER PRINT THIS IS 7/8 DIA X 3 3/8" HEADED PIN. SAME AS

1шт.

11

383991R1

PIN,Headed, 7/8" x 3 3/8", Drilled

5/8 x 3-5/8 leveling screw yoke, use w/yoke, 389538R1

2шт.

432-1620

COTTER PIN,1/4" x 1 1/4"

Pin, Split (Cotter), 1/4" x 1 1/4"

2шт.

12

391096R91

SOCKET ASSY, LH beam

1шт.

13

391097R91

SOCKET ASSY, RH beam

1шт.

14

391100R1

SHOE, rub

2шт.

181427

BOLT,Hex, 1/2" - 20 x 1", Gr 5

SCREW, 1/2-20 x 1 hex-hd cap

4шт.

271640

ORIFICE

SCREW, 3/4-16 x 3-1/2 hex-hd cap

2шт.

103326

LOCK WASHER,3/4"

WASHER, LOCK, 3/4"

2шт.

15

383460R1

SHIM, rub plate (or as required)

4шт.

16

522834R1

VALVE SPRING

SPRING, beam socket leaf, short

2шт.

17

522835R1

SPRING

beam socket leaf, med

2шт.

18

522836R1

SPRING

beam socket leaf, long

2шт.

413-828

BOLT,Hex, 1/2" - 13 x 1-3/4", Gr 5

SCREW, 1/2-13 x 1-3/4 hex-hd cap

2шт.

19

393500R1

LATCH ASSY.

LATCH, beam coupling

2шт.

20

522839R1

VALVE SPRING

SPRING, latch

2шт.

21

522840R2

VALVE SPRING

SPRING, latch auxiliary

2шт.

179833

BOLT,Hex, 3/8" - 16 x 1/2", Gr 5, Full Thd

2шт.

22

383461R11

PIVOT PIN

PIN ASSY, beam socket pivot

2шт.

616254R1

LOCK PIN,3/8" x 1 5/8", Slotted

PIN, 3/8" x 1 5/8", Slotted

2шт.

23

522841R11

PIN

ASSY, quick attachable

2шт.

24

391090R91

BAIL ASSY, hitch

1шт.

24

389056R92

BAIL ASSY, hitch, heavy duty

1шт.

25

391095R1

BOLT, bail pivot

1шт.

427645

SLOTTED NUT,7/8"-14, G5

NUT, 7/8-14 slt hex.

1шт.

103388

COTTER PIN,1/8" x 1 3/4"

Pin, Split (Cotter), 1/8" x 1 3/4"

1шт.

26

520175R1

CLIP

PIN, quick attachable cot., drawbar lockout strap pin

4шт.

28

391115R1

SHAFT, upper pivot

1шт.

19479R1

PIN,1/4" x 2", Coiled

1шт.

29

401278R92

LINK AND BUSHING ASSY, sensing

1шт.

30

401283R1

AXLE PIN

SHAFT, sensing bar pivot

1шт.

577247R1

LOCK PIN,3/8" x 2", Slotted

PIN, 3/8" x 2", Slotted

1шт.

31

383487R1

BUSHING

sensing link, rear

2шт.

32

389096R1

STRAP, drawbar lockout

2шт.

33

384351R1

SPACER

sensing link

2шт.

34

406685R1

PIN,25.4mm OD x 101.6mm L

lower link, on orders for 382194R3 furnish pin, 406685R1 and retainer, 406687R1

1шт.

35

219-8

LUBE NIPPLE,1/4" - 28 NPTF

NIPPLE, LUBE, , Straight 1/4"-28 NPT x .54" lg

2шт.

36

391973R1

SPACER, upper pivot

1шт.

37

391113R1

SPACER, sensing shaft

1шт.

38

391974R1

SPACER

bail pivot bolt

2шт.

38

531269R1

SPACER, bail pivot bolt, tractors equipped w/heavy duty hitch bail

2шт.

39

385739R1

SUPPORT ASSY.

SUPPORT, lateral limiter, LH

1шт.

519417R1

HEADED PIN,3/4" x 3 11/16"

PIN, 3/4 x 3-11/16 headed

2шт.

108639

BRACKET

1/4 x 1-1/8 cotter

2шт.

40

385740R1

BRACKET

SUPPORT, lateral limiter, RH

1шт.

519417R1

HEADED PIN,3/4" x 3 11/16"

PIN, 3/4 x 3-11/16 headed

2шт.

NLS

NO LONGER SERVICED

1/4 x 1-1/8 cotter

2шт.

41

522841R11

PIN

ASSY, quick attachable

2шт.

42

389094R1

BRACKET, lockout LH

1шт.

271562

SHIELD,Hex, 5/8" - 11 x 2", Gr 5

SCREW, 5/8-11 x 2 hex-hd cap

3шт.

43

389095R1

BRACKET, lockout RH

1шт.

413-1032

BOLT,Hex, 5/8" - 11 x 2", Gr 5

SCREW, 5/8-11 x 2 hex-hd cap

3шт.

44

520969R91

DRAWBAR ASSY, cross

1шт.

45

391101R1

BRACKET, limiter and drawbar

1шт.

271562

SHIELD,Hex, 5/8" - 11 x 2", Gr 5

SCREW, 5/8-11 x 2 hex-hd cap

6шт.

271612

BOLT,Hex, 3/4" - 10 x 2 1/4", Gr 5

SCREW, 3/4-10 x 2-1/4 hex-hd cap

4шт.

46

391104R11

BAR, w/3 bushings, bail pivot

2шт.

46

531268R11

BAR, w/3 bushings, bail pivot, tractors equipped w/heavy duty hitch bail

2шт.

80722

LUBE NIPPLE,3/16" x .55" lg, Drive

FITTING, 3/16 drive type str lub

6шт.

47

391967R1

BUSHING

bail pivot bar

4шт.

48

NLS

NO LONGER SERVICED

SCREW, 7/8-9 x 2 hex-hd cap, swinging drawbar stop

2шт.

425-1014

NUT,7/8"-9, G5

NUT, 7/8"-9, G5

2шт.

103327

LOCK WASHER,7/8"

WASHER, LOCK, 7/8"

2шт.

49

520113R1

HEADED PIN,7/8" x 2 7/16"

PIN, 7/8 x 2-7/16 headed, drawbar lockout strap

1шт.

50

391108R1

BUSHING

bail pivot pivot bar center

2шт.

51

406687R1

RETAINER

lower link pin

2шт.

179882

PIN

SCREW, 1/2-13 x 1-1/8 hex-hd cap

2шт.

103323

LOCK WASHER,1/2"

WASHER, LOCK, 1/2"

2шт.

389093R91

ATTACHMENT, two point hitch cross drawbar, consists of (1) bracket 389094R1, (1) bracket 389095R1, (1) drawbar 520969R91, (4) pin 520175R1, (2) pin 383064R1, (2) pin 520113R1, (2) strap 389096R1

1шт.

Выбрано товаров: 85