Запчасти Case IH 258 (08-039) - REGISTRATION NUMBER PLATE AND LIGHT (06) - ELECTRICAL

Схема запчастей Case IH 258 - (08-039) - REGISTRATION NUMBER PLATE AND LIGHT (06) - ELECTRICAL
3
5
2
4
1
FIT
1:1
100%

Артикул

Название

Примечание

Количество

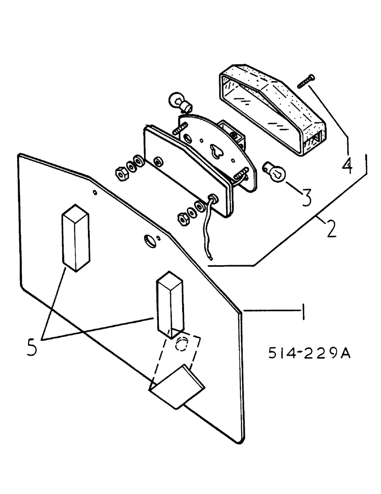
1

3113438R93

TYPE PLATE

ASSY, REGISTRATION NUMBER, INCLUDES WASHER

1шт.

619856R1

WASHER

406 X 1 00 X 058

1шт.

2

3113443R91

LIGHT ASSY.

REGISTRATION NUMBER PLATE, CONSISTS OF ITEMS 3 AND 4

1шт.

3

705757R91

LAMP

12V 5W MCC

2шт.

4

3115524R1

SCREW

SPARE PART COVER RETAINING

1шт.

5

3113442R1

BUMPER

REGISTRATION NUMBER PLATE

2шт.

Выбрано товаров: 6