Запчасти Case IH 258 (12-072) - CYLINDER HEAD, VALVES AND STUDS Power

Схема запчастей Case IH 258 - (12-072) - CYLINDER HEAD, VALVES AND STUDS Power
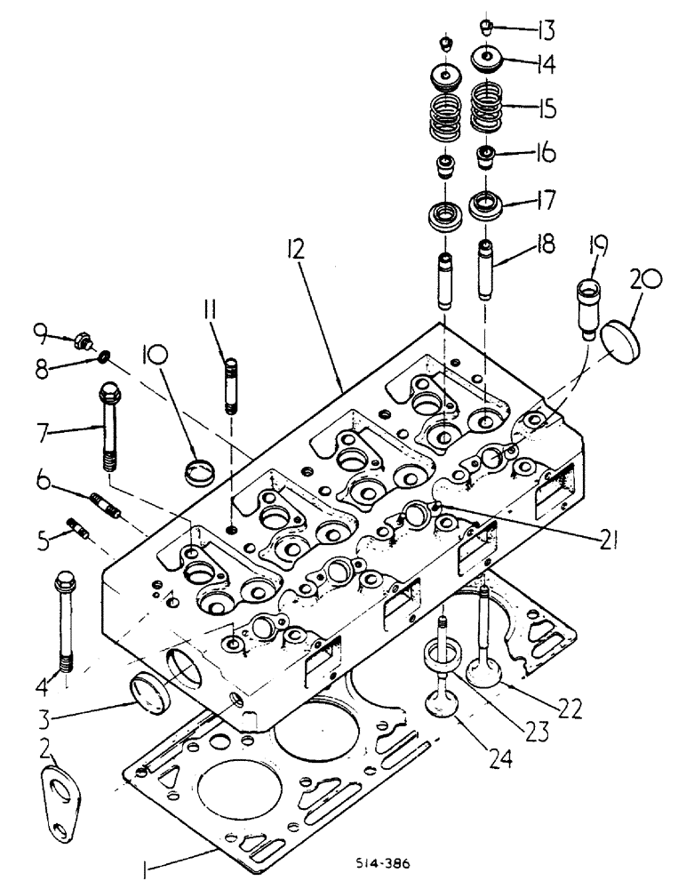
10
20
6
21
19
17
12
11
13
1
23
22
2
9
5
24
16
7
14
15
18
4
3
8
FIT
1:1
100%

Артикул

Название

Примечание

Количество

1

3138959R2

GASKET

CYLINDER HEAD

1шт.

1

3228362R1

CYLINDER HEAD GASKET

CYLINDER HEAD, NON-TORQUE

1шт.

2

3055370R1

STIRRUP

SHACKLE, ENGINE MTG FRONT, INCLUDES SCREW

1шт.

271604

BOLT,Hex, 3/4" - 10 x 1 1/8", Gr 5

3/4-10 X 1-1/8 HEX HD CAP

1шт.

3

934003R1

PLUG,M52, Conical

EXPANSION

1шт.

4

3138748R1

BOLT,Flng, 9/16" - 12 x 5-3/4"

CYLINDER HEAD 9/16-12 X 5-3/4 HEX HD

10шт.

5

3055221R1

STUD

WATER COLLECTING PIPE

8шт.

6

3055663R1

STUD

EXHAUST

8шт.

7

3138747R1

BOLT,Cyl Hd, 9/16" - 12 x 123mm

CYLINDER HEAD 9/16-12 X 5 HEX HD

8шт.

8

718743R1

SEALING RING,M10 x 16 x 1

Packing

1шт.

9

934259R1

PLUG,Hex, M10 x 1

1шт.

10

933750R1

PLUG,M32, Conical

EXPANSION

4шт.

11

3055220R1

STUD,1/2" - 20 x 3.18"

ROCKER SHAFT BRACKET

5шт.

12

3055367R97

HEAD (CYLINDER)

GUIDES AND STUDS

1шт.

13

3055057R91

ROCKER ARM COTTER

KEY ASSY, SPRING LOCK VALVE

16шт.

14

3055058R2

SPRING CUP

VALVE SPRING RETAINER

8шт.

15

3055060R1

SPRING

VALVE

8шт.

16

9218399R91

SEAL, VALVE STEM, PACKAGE

2шт.

17

3218069R1

SPACER

8шт.

18

3055022R2

VALVE GUIDE

VALVE STEM

8шт.

19

3055344R1

SLEEVE

INSERT, NOZZLE HOLDER

1шт.

20

934003R1

PLUG,M52, Conical

EXPANSION

1шт.

21

NOT APPLICABLE

1шт.

22

3055055R2

OVERSIZE INLET VALVE

INTAKE

4шт.

23

3132361R1

INSERT

INSERT, EXHAUST VALVE SEAT 16 O/S

4шт.

23

3132362R1

VALVE SEAT

EXHAUST VALVE SEAT 004 O/S

4шт.

24

3055056R2

STD EXHAUST VALVE

STD ENGINE EXHAUST VALVE

4шт.

Выбрано товаров: 27