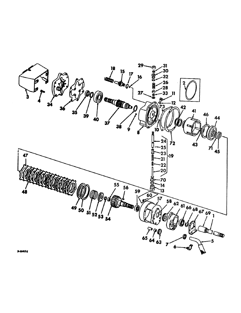
Запчасти Case IH 2656 (B-29) - POWER TRAIN, INDEPENDENT POWER TAKE-OFF (03) - POWER TRAIN

Схема запчастей Case IH 2656 - (B-29) - POWER TRAIN, INDEPENDENT POWER TAKE-OFF (03) - POWER TRAIN
62
28
43
66
37
70
13
39
51
10
21
12
2
71
29
67
47
68
34
55
20
57
9
4
7
59
31
22
41
19
42
11
26
46
3
40
48
45
8
15
5
63
35
6
50
1
49
33
58
54
73
44
36
53
24
27
64
52
65
25
17
14
72
69
60
16
38
56
18
30
23
61
32
FIT
1:1
100%

Артикул

Название

Примечание

Количество

ATTACHMENT, independent PTO, 540 RPM, 389119R92, Farmall tractors, 395874R91, International tractors, consist of all unmarked parts & those marked unit A, for independent power take-off lever and connections refer to section H

1шт.

Service parts for 1000 RPM independent PTO w/hand operated controls, consists of all unmarked parts & those marked unit B

1шт.

Service parts for 1000 RPM independent PTO w/foot pedal controls, consists of all unmarked parts & those marked unit C

1шт.

1

389141R11

SHAFT

ASSY, PTO extension

1шт.

2

384486R1

RING

PTO housing sealing, Farmall tractors, Serial Range: -42220

1шт.

2

384486R1

RING

PTO housing sealing, International tractors, Serial Range: -13254

1шт.

3

389143R11

SHIELD

ASSY, independent PTO safety

1шт.

4

340385R1

BOLT

independent PTO safety shield

4шт.

5

389142R11

TUBE

PIPE ASSEMBLY, suction, optional w/pipe 391031R91

1шт.

5

391031R91

PIPE

ASSY, suction, optional w/pipe 389142R11

1шт.

6

381525R1

SUPPORT TUBE,2.8" Length

SUPPORT, suction pipe

1шт.

109084

NUT,1/4"-20, G5

2шт.

179795

TILLAGE BLADE

SCREW, 1/4-20 x 3/4 hex-hd cap

2шт.

103319

LOCK WASHER,1/4"

WASHER, LOCK, 1/4"

2шт.

7

381526R1

SEAL,25.3mm ID x 36.2mm OD x 4.78mm Thk

suction tube

1шт.

8

530687R91

HOUSING, w/two balls, 16008R1 & ball, 16010R1, independent PTO, will work for housings, 389122R91 & 395324R91

1шт.

To rework hosuing, 389122R91, order package 395507R91.

1шт.

398329R1

CIRCLIP

PLUG, port reducer

1шт.

179883

BOLT,Hex, 1/2" - 13 x 1 1/4", Gr 5

4шт.

446229

WASHER,1/2" x 1 1/4" x .109"

9/16 x 1-1/4 x .109

1шт.

9

16008R1

BALL,1/4" Dia, Steel

1/4 dia cr-stl

2шт.

10

16010R1

BALL

5/16 dia cr-stl

1шт.

11

9410355

PLUG,Hex Hd, 3/8"-24 ORB

3/8-24 C-Z str thd-o-ring boss, gauge hole

1шт.

12

359158R1

O-RING,0.301" ID x 0.07" Width

-011, 70 Duro, .031" ID x .070" Thk, Gauge hole plug

1шт.

13

389126R2

PLUG, hydraulic

1шт.

14

368269R1

O-RING,0.116" Thk x 0.924" ID, -912, Cl 6, 90 Duro

59/64 x 1-1/16 x 7/64, valve stop plug

1шт.

15

381464R22

PISTON

ASSY, anti-creep brake

3шт.

16

370920R1

O-RING,1/2" ID

1/2 x 5/8 x 1/16, anti-creep brake piston

3шт.

17

293739R1

O-RING,0.139" Thk x 1.359" ID, -220, Cl 5, 75 Duro

1-3/8 x 1-5/8 x 1/16, anti-creep brake piston

3шт.

18

381466R1

SPRING

anti-creep brake piston

3шт.

19

528484R93

LOCK VALVE

VALVE ASSY, control, also order guide, 389129R3, nut, 102635 & stop, 528486R1

1шт.

20

381469R12

GUIDE

ASSY, control

1шт.

21

381760R1

SPRING

control valve light

1шт.

22

403905R2

VALVE SPRING

SPRING, control valve heavy, replaces 381761R1

1шт.

23

381472R1

VALVE

control

1шт.

24

528485R1

STEM

control valve guide, replaces 389153R2, also order guide, 389129R3, nut, 102635 & stop, 528486R1

1шт.

25

400518R1

PIN

control valve dowel, will work for 386193R1

1шт.

26

381762R1

VALVE SPRING

SPRING, control valve bumper

1шт.

27

384562R1

SHIM

bumper spring (or use as required)

5шт.

28

389128R1

CUP ASSY.

CUP, bumper spring pre-load

1шт.

29

528486R1

STOP

control valve stem, replaces 384876R1

1шт.

102635

NUT,3/8"-16, G5

1шт.

30

389129R3

GUIDE

control valve

1шт.

31

381477R91

SEAL,9.73mm ID x 22.33mm OD x 6.35mm Thk

control valve cover oil

1шт.

32

297459R1

O-RING,0.116" Thk x 1.048" ID, -914, Cl 6, 90 Duro

1-3/64 x 1-7/32 x 7/64, control valve cover

1шт.

33

384875R1

WASHER

control valve stem

1шт.

34

395327R1

COVER, independent PTO housing

1шт.

413-622

BOLT,Hex, 3/8" - 16 x 1-3/8", Gr 5

3/8-16 x 1-3/8 hex-hd cap

8шт.

35

381480R91

OIL SEAL

output shaft oil

1шт.

36

389131R1

GASKET

independent PTO housing cover

1шт.

37

389132R3

SHAFT

independent PTO, 540 RPM output, unit A, also order piston, 405473R1 and ring, 258400C1

1шт.

37

389133R2

SHAFT

independent PTO, 1000 RPM output, unit B, also order piston, 405473R1 and ring, 258400C1

1шт.

38

364145R1

O-RING,0.103" Thk x 2.112" ID, -138, Cl 5, 75 Duro

2-1/8 x 2-5/16 x 3/32, output shaft

1шт.

39

555570R1

SNAP RING

RING, output shaft rear brg retaining snap

1шт.

40

ST215

BEARING, BALL,40 mm ID x 80 mm OD x 18 mm

BEARING, output shaft rear ball

1шт.

41

381484R1

DISC

CUP, clutch

1шт.

42

381485R1

RING,67.13mm ID x 72.21mm OD x 3.12mm Thk

clutch cup seal

2шт.

43

258400C1

SNAP RING,#187, Ext

Ring, Snap, , clutch cup #187, Ext

1шт.

44

405473R1

PISTON

clutch, replaces 381487R1

1шт.

45

558636R1

O-RING

1-7/8 x 2-1/4 x 3/16, clutch piston

1шт.

46

381488R1

RING,120.78mm ID x 134.34mm OD x 4.78mm Thk

SEAL, clutch piston oil

1шт.

47

381489R2

DISC

clutch driven

12шт.

48

381490R91

DISC

PLATE ASSY, clutch

5шт.

49

381491R1

RETAINER

clutch driven disc

1шт.

50

381492R1

CIRCLIP,M137.16 x 3.07mm Thk, Int

RING, clutch driven disc retainer snap

1шт.

51

381493R1

SPRING

clutch release

1шт.

52

381494R1

RETAINER

clutch release spring

1шт.

53

370504R1

RING

clutch release spring retainer snap

1шт.

54

389529R1

SHAFT

drive, for 540 & or 1000 RPM

1шт.

55

10026R1

BEARING

drive shaft front needle

1шт.

56

218211

DRIVING SPROCKET

1/4 x 3/4 Woodruff 91, drive shaft, unit A

1шт.

56

124545

WOODRUFF KEY,#5, 1/8" x 5/8", HT

Unit B & C #5, 1/8" x 5/8", HT

1шт.

57

529564R11

CARRIER

ASSY, independent PTO clutch, replaces 381496R11, also order gasket, 529565R1

1шт.

179849

BOLT,Hex, 3/8" - 16 x 2 1/2", Gr 5

4шт.

58

19879R1

SPLIT PIN/SAFETY PIN

PIN, 5/16 x 3/4 dowel

2шт.

59

359950R91

NEEDLE BEARING

BEARING, drive shaft rear

1шт.

60

375271R1

O-RING,0.426" ID x 0.07" Width

7/16 x 9/16 x 1/16, clutch pressure tube, used only with carrier, 381496R11

1шт.

61

389136R1

HOUSING

pump, unit A

1шт.

61

381498R1

HOUSING

pump, unit B & C

1шт.

NLS

NO LONGER SERVICED

2шт.

179847

BOLT,Hex, 3/8" - 16 x 2", Gr 5

3шт.

62

389137R1

GEAR

pump driver, 25T, unit A

1шт.

62

381499R1

PINION

GEAR, pump driver, 25 T, unit B & C

1шт.

63

389138R1

GEAR

pump idler, 15 T, unit A

1шт.

63

381500R1

PINION

GEAR, pump idler, 15 T, unit B & C

1шт.

64

389139R91

BEARING, NEEDLE

BEARING, pump idler gear needle, unit B & C

1шт.

65

389140R1

PIN

SHAFT, pump idler gear, unit A

1шт.

65

381502R1

SHAFT

pump idler gear, unit B & C

1шт.

66

ST568

BALL BEARING,35 mm ID x 62 mm OD x 14 mm

BEARING, drive shaft front ball

1шт.

67

381503R1

RETAINER

drive shaft front bearing

1шт.

179793

BOLT,Hex, 1/4" - 20 x 5/8", Gr 5, Full Thd

4шт.

103319

LOCK WASHER,1/4"

WASHER, LOCK, 1/4"

4шт.

68

359141R1

RING, SNAP

RING, drive shaft front bearing snap

1шт.

69

360168R1

COUPLING,12T

extension shaft

1шт.

70

395328R2

SPACER

valve control

1шт.

71

258400C1

SNAP RING,#187, Ext

Ring, Snap, , clutch piston stop #187, Ext

1шт.

72

529565R1

GASKET

independent PTO clutch carrier

1шт.

73

530690R1

GASKET

independent PTO housing, Farmall tractors, Start Serial: 42221

1шт.

73

530690R1

GASKET

independent PTO housing, International tractors, Start Serial: 13255

1шт.

395507R91

PACKAGE

to rework housing 389122R91, consists of

1шт.

1082558R1

INSTRUCTIONS, installing

1шт.

Included in 395507R91 package.

1шт.

395329R1

PLUG, port reducer

1шт.

Included in 395507R91 package.

1шт.

395328R2

SPACER

valve control independent PTO

1шт.

Included in 395507R91 package.

1шт.

395514R1

WIRE, center punch, Farmall tractors w/540 RPM

1шт.

Included in 395507R91 package.

1шт.

Выбрано товаров: 108