Запчасти Case IH 268 (07-141) - TUBES AND VALVES, FOOT SPEED CONTROLS (04) - Drive Train

Схема запчастей Case IH 268 - (07-141) - TUBES AND VALVES, FOOT SPEED CONTROLS (04) - Drive Train
22
24
12
26
10
32
13
7
18
9
28
34
4
25
37
21
1
17
6
15
38
30
36
39
8
40
19
27
5
11
31
44
14
33
2
16
3
41
43
29
20
23
42
FIT
1:1
100%

Артикул

Название

Примечание

Количество

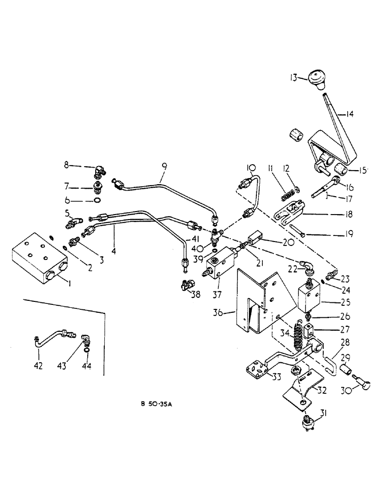
1

MANIFOLD ASSY, CHECK VALVE, FOR COMPONENTS SEE LIST OF PARTS UNDER DETAILS OF MANIFOLD CHECK VALVE, INCLUDES SCREWS

1шт.

180130

BOLT,Hex, 3/8" - 16 x 2", Gr 5

SCREW 3/8 X 2 HEX HD CAP

2шт.

3

9410200

HYD CONNECTOR,7/16" - 20 JIC x 7/16" - 20 ORB

7/16-20 C-Z 37 DEG HYD FLARED TUBE

1шт.

4

537924R1

TUBE ASSY.

FOOT-N-INCH PRESSURE

1шт.

5

9411102

ELBOW,45 Degree, 7/16"-20, 37 Degree x 7/16"-20, O-Ring

7/16-20 C-Z 37 DEG HYD FLARED TUBE

1шт.

6

570828R1

O-RING,0.087" Thk x 0.644" ID, -908, Cl 6, 90 Duro

1/2 OD TUBE

1шт.

7

24900R1

HYD CONNECTOR,1/2"-20, 37 Degree x 3/4"-16, O-Ring

1шт.

8

9410279

ELBOW,90 Degree, 1/2"-20, 37 Degree x 1/2"-20, 37 Degree Fem Sw

1/2-20 C-Z 37 DEG HYD FLARED TUBE

1шт.

9

537927R1

TUBE ASSY.

SPARE PART DECELERATOR VALVE DUMP

1шт.

10

537925R1

TUBE ASSY.

SPARE PART FOOT-N-INCH DUMP

1шт.

11

404290R1

SPRING

DECELERATOR VALVE CLEVIS

1шт.

12

319565C1

WASHER

3/8 X 5/8 X 16 GA

1шт.

13

3121549R1

KNOB

KNOB, RANGE SHIFT LEVER

1шт.

14

3121766R1

LEVER ASSY.

SPARE PART RANGE SHAFT

1шт.

15

539245R1

BUSHING

RANGE SHIFT LEVER

2шт.

16

537940R1

ROD

SPARE PART DECELERATOR VALVE CLEVIS

1шт.

17

19372R1

PIN,3.17mm OD x 22.23mm L, Coiled

1шт.

18

537939R1

CLEVIS

DECELERATOR VALVE

1шт.

19

22751R1

HEADED PIN,5/16" x 1 5/8"

1шт.

103384

COTTER PIN,1/8" x 3/4"

1шт.

20

398766R1

UNION

BLOCK, DECELERATOR VALVE ADJUSTING

1шт.

21

120368

NUT,5/16"-24, G5

1шт.

22

9410278

ELBOW,90 Degree, 7/16"-20, 37 Degree x 7/16"-20, 37 Degree Fem Sw

7/16-20 C-Z 37 DEG HYD FLARED TUBE

1шт.

23

9410201

HYD CONNECTOR,1/2"-20, 37 Degree x 1/2"-20, O-Ring

1/2-20 C-Z 37 DEG HYD FLARED TUBE

1шт.

25

398705R91

VALVE

ASSY, FOOT-N-INCH, FOR COMPONENTS SEE LIST OF PARTS UNDER DETAILS OF FOOT-N-INCH VALVE, INCLUDES NUTS, SCREWS AND WASHERS

1шт.

120377

NUT,3/8" - 16, Gr 5

2шт.

180130

BOLT,Hex, 3/8" - 16 x 2", Gr 5

SCREW 3/8-16 X 2 HEX HD CAP

2шт.

120382

LOCK WASHER,Helical Spring, 3/8"

2шт.

26

120368

NUT,5/16"-24, G5

1шт.

27

398766R1

UNION

BLOCK, FOOT-N-INCH VALVE ADJUSTING

1шт.

28

534463R1

NO LONGER SERVICED

LINK ASSY, FOOT-N-INCH VALVE PEDAL, INCLUDES PIN

1шт.

103384

COTTER PIN,1/8" x 3/4"

1шт.

24

369384R1

O-RING,0.072" Thk x 0.414" ID, -905, Cl 6, 90 Duro

5/16 OD tube

1шт.

29

537936R1

BUSHING

SPARE PART

1шт.

30

532965R3

BOLT,3/8" - 16 x 1.7"

FOOT-N-INCH PEDAL PIVOT SHOULDER, INCLUDES NUT AND WASHER

1шт.

39

369384R1

O-RING,0.072" Thk x 0.414" ID, -905, Cl 6, 90 Duro

5/16 OD tube

1шт.

120377

NUT,3/8" - 16, Gr 5

1шт.

120382

LOCK WASHER,Helical Spring, 3/8"

1шт.

31

3072122R91

IGNITION SWITCH

ASSY, NEUTRAL START, INCLUDES NUT

1шт.

3112570R1

NUT

1шт.

32

3121107R1

BRACKET

SPARE PART SWITCH, INCLUDES NUTS, SCREWS AND WASHERS

1шт.

120375

NUT,Hex, 1/4" - 20, Gr 5

2шт.

413-412

BOLT,Hex, 1/4" - 20 x 3/4", Gr 5

2шт.

492-11025

LOCK WASHER,1/4"

Machine Fitted w/cab

2шт.

32

539595R1

BRACKET

NEUTRAL START SWITCH, INCLUDES NUTS, SCREWS AND WASHERS

1шт.

539596R1

SUPPORT ASSY.

SPARE PART NEUTRAL START SWITCH

1шт.

120375

NUT,Hex, 1/4" - 20, Gr 5

1шт.

413-412

BOLT,Hex, 1/4" - 20 x 3/4", Gr 5

1шт.

492-11025

LOCK WASHER,1/4"

4шт.

33

3123924R91

PEDAL ASSY.

SPARE PART FOOT-N-INCH, MACHINE FITTED W/CAB

1шт.

33

537933R92

PEDAL

ASSY, FOOT-N-INCH

1шт.

34

537938R1

SPRING

FOOT-N-INCH PEDAL RETURN

1шт.

35

NOT USED

1шт.

36

3121435R1

BRACKET

SPARE PART ASSY, VALVE MOUNTING, MACHINE FITTED W/CAB

1шт.

36

537928R2

BRACKET

ASSY, VALVE MOUNTING, INCLUDES SCREWS

1шт.

186282

BOLT,Hex, 3/8" - 16 x 3 1/4", Gr 5

SCREW 3/8-16 X 3-1/4 HEX HD CAP

2шт.

37

404211R91

VALVE

ASSY, DECELERATOR, FOR COMPONENTS SEE LIST OF PARTS UNDER DETAILS OF DECELERATOR VALVE, INCLUDES NUTS, SCREWS AND WASHERS

1шт.

120377

NUT,3/8" - 16, Gr 5

2шт.

180130

BOLT,Hex, 3/8" - 16 x 2", Gr 5

SCREW 3/8-16 X 2 HEX HD CAP

2шт.

120382

LOCK WASHER,Helical Spring, 3/8"

2шт.

38

9410278

ELBOW,90 Degree, 7/16"-20, 37 Degree x 7/16"-20, 37 Degree Fem Sw

7/16-20 37 DEG HYD FLARED TUBE 90

1шт.

40

9411129

TEE,1/2"-20, 37 Degree x 1/2"-20, O-Ring Run

1/2-20 C-Z 37 DEG HYD FLARED TUBE

1шт.

41

537926R1

TUBE ASSY.

DECELERATOR VALVE PRESSURE

1шт.

42

539461R1

TUBE ASSY.

SPARE PART BRAKE RESERVOIR DUMP

1шт.

43

9411103

ELBOW,45 Degree, 1/2"-20, 37 Degree x 1/2"-20, O-Ring

1/2-20 C-Z 37 DEG HYD FLARED TUBE ADJ STR THD 45 DEG HS DRIVE UNIT

1шт.

44

369384

O-RING 9/16 X 3/4 X 3/32

1шт.

2

369751R1

O-RING,0.072" Thk x 0.351" ID, -904, Cl 6, 90 Duro

1/4 OD tube

2шт.

Выбрано товаров: 67