Запчасти Case IH 268 (08-028) - FENDER WIRING AND LIGHTS, TRACTORS WITH CROWN FENDERS (06) - ELECTRICAL

Схема запчастей Case IH 268 - (08-028) - FENDER WIRING AND LIGHTS, TRACTORS WITH CROWN FENDERS (06) - ELECTRICAL
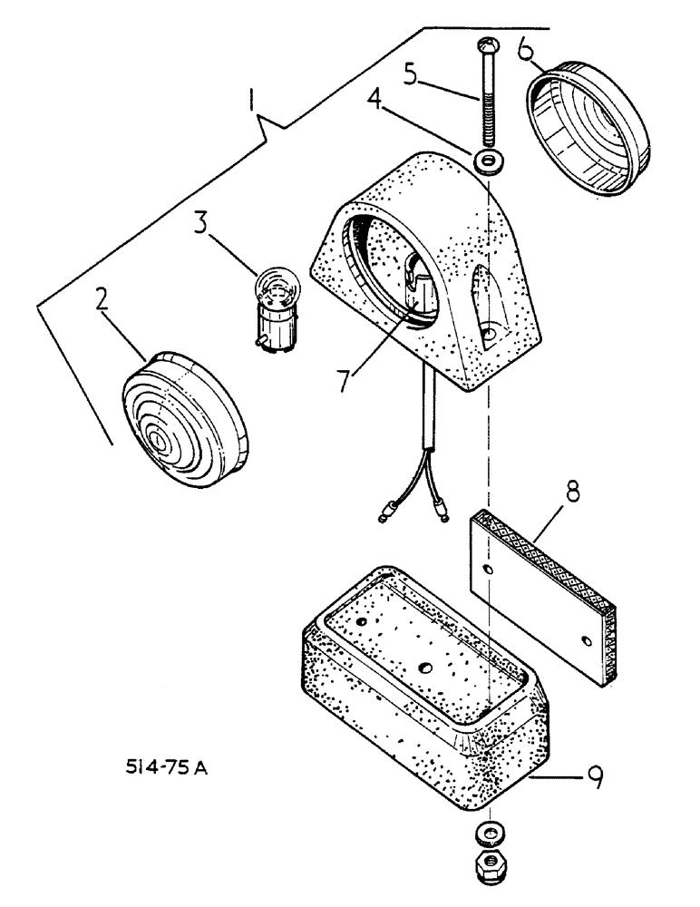
5
1
2
7
4
9
8
6
3
FIT
1:1
100%

Артикул

Название

Примечание

Количество

1

3123175R91

LIGHT ASSY.

SIDE AND TAIL FENDER

2шт.

2

3113396R1

LENS

CLEAR

2шт.

3

894879H1

BULB

LAMP 12V 5W SBC BULB

2шт.

4

446152

HYD CONNECTOR

PLAIN

4шт.

5

3121291R1

SCREW

2BA X 2-1/4 PAN HD

4шт.

5

3062475R1

NUT

2BA, INCLUDES WASHER

4шт.

121801

LOCK WASHER,Int Tooth, #10

4шт.

6

3112860R1

LENS

RED

2шт.

7

3074005R1

HOLDER, LAMP BRACKET

2шт.

8

530041R1

REFLECTOR

FENDER

2шт.

9

NS

NOT SERVICED

BASE, FENDER SIDE AND TAIL

2шт.

705897R1

CONNECTOR, ELEC

CONNECTOR 1-WAY FENDER L.H., NOT ILLUSTRATED

2шт.

705897R1

CONNECTOR, ELEC

CONNECTOR 1-WAY FENDER R.H., NOT ILLUSTRATED

4шт.

705897R1

CONNECTOR, ELEC

CONNECTOR 1-WAY NO. PLATE, NOT ILLUSTRATED

1шт.

705896R1

CONNECTOR, ELEC

CONNECTOR 2-WAY NO. PLATE, NOT ILLUSTRATED

1шт.

3123188R1

HARNESS

FENDER, NOT ILLUSTRATED

1шт.

Выбрано товаров: 16