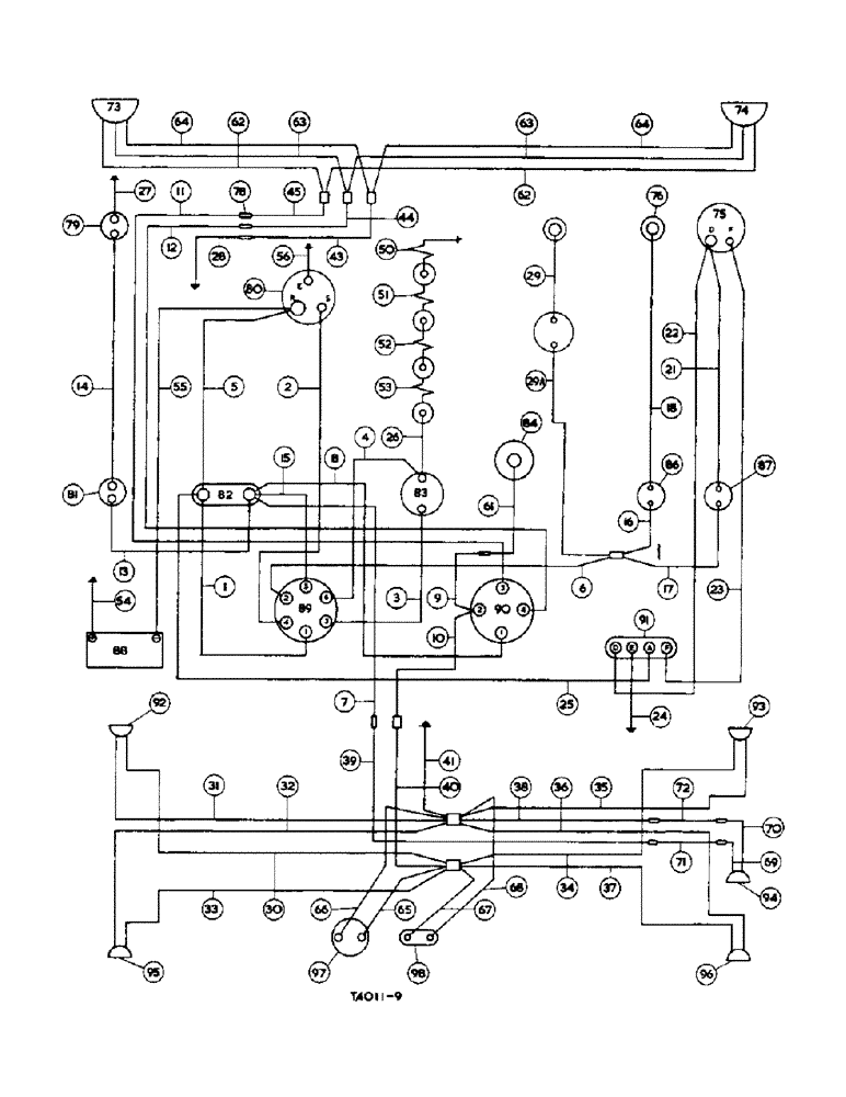
Запчасти Case IH 276 (7-14) - ELECTRICAL SYSTEM, HI-CLEAR, DIESEL (04) - ELECTRICAL SYSTEMS

Схема запчастей Case IH 276 - (7-14) - ELECTRICAL SYSTEM, HI-CLEAR, DIESEL (04) - ELECTRICAL SYSTEMS
44
31
50
10
54
37
93
4
8
96
5
32
87
98
35
65
5
62
52
33
15
29
70
84
36
41
86
45
26
1
16
67
4
64
63
12
92
76
75
91
56
66
2
88
13
68
4
39
28
38
53
78
3
43
74
69
95
34
83
55
73
9
25
21
22
61
71
94
17
1
14
62
64
89
11
79
51
63
82
80
40
97
72
6
27
23
2
7
30
81
3
29a
24
FIT
1:1
100%

Артикул

Название

Примечание

Количество

3072685R92

HARNESS

main cable, comprising

1шт.

1

CABLE, key switch term. 1 tocircuit

1шт.

2

CABLE, key switch term. 4 tocircuit

1шт.

3

CABLE, key switch term. 3 tocircuit

1шт.

4

CABLE, key switch term. 6 tocircuit

1шт.

5

CABLE, starter "B", Serial Range: term.-circuit

1шт.

6

CABLE, key switch term. 2 toar rear

1шт.

7

CABLE, circuit breaker to rear rear

1шт.

8

CABLE, light switch term., Serial Range: 1-rear

1шт.

9

CABLE, light switch term., Serial Range: 2-rear

1шт.

10

CABLE, light switch term., Serial Range: 2-rear

1шт.

11

CABLE, light switch term. 3 tofront

1шт.

12

CABLE, light switch term, Serial Range: 4-front

1шт.

13

CABLE, circuit, Serial Range: breaker-hornmingg

1шт.

14

CABLE, horn to horn buttonkeyrmingg

1шт.

15

CABLE, circuit, Serial Range: breaker-keyrmingg

1шт.

16

CABLE, oil warning, Serial Range: lamp-warmingg

1шт.

17

CABLE, gen. warning, Serial Range: lamp-warning

1шт.

18

CABLE, oil warning light to oil. 4t

1шт.

19

NOT USED

1шт.

20

NOT USED

1шт.

21

CABLE, gen. warning lamp to gen. 4t

1шт.

22

CABLE, reg. "D" term to gen. "D" 4t

1шт.

23

CABLE, reg. "F" term to gen. "F" 4t

1шт.

24

CABLE, reg. "E" term to earthit. 4t

1шт.

25

CABLE, reg. "A" term to circuit. 4t

1шт.

26

CABLE, indicator resistor to No. 4t

1шт.

27

CABLE, horn to earth (Black)

1шт.

28

CABLE, front conn. to earth (Black)

1шт.

29

CABLE, temp. trans. to heat indic.t

1шт.

29a

CABLE, heat indic. to warning light

1шт.

30716796R91

CABLE, assy., lights side and rear

1шт.

30

CABLE, rear lights feed conn. tooow

1шт.

31

CABLE, rear lights earth conn. toow

1шт.

32

CABLE, rear lights earth conn. toow

1шт.

33

CABLE, rear lights feed conn. tooow

1шт.

34

CABLE, rear lights feed conn. tooow

1шт.

35

CABLE, rear lights earth conn. toow

1шт.

36

CABLE, rear lights earth conn. toow

1шт.

37

CABLE, rear lights feed conn. tooow

1шт.

38

CABLE, rear lights earth conn. toow

1шт.

39

CABLE, rear conn. to plough lampoow

1шт.

40

CABLE, rear conn. to rear lightsoow

1шт.

41

CABLE, rear lights earth conn. toow

1шт.

42

NOT USED

1шт.

43

LEAD, raised head light conn. tolow

1шт.

44

LEAD, raised head light conn. tolow

1шт.

45

LEAD, raised head light conn. tolow

1шт.

46

NOT USED

1шт.

47

NOT USED

1шт.

48

NOT USED

1шт.

49

NOT USED

1шт.

50

3065070R1

ELECTRICAL WIRE

WIRE, earth to No. 1 glow plug glow

1шт.

51

708127R2

ELECTRICAL WIRE

WIRE, No. 1 glow plug to No. 2 glow

1шт.

52

708128R1

SPARE PART

WIRE, No. 2 glow plug to No. 3 glow

1шт.

53

708127R2

ELECTRICAL WIRE

WIRE, No. 3 glow plug to No. 4 glow

1шт.

54

3071051R92

CABLE

battery, Serial Range: positive-eartherg

1шт.

55

3070496R91

CABLE

battery, Serial Range: negative-starterg

1шт.

56

3061346R91

CABLE, starter "E", Serial Range: term-earthing

1шт.

57

NOT USED

1шт.

58

NOT USED

1шт.

59

NOT USED

1шт.

60

NOT USED

1шт.

61

CABLE, panel lamp, Serial Range: conn.-paneling

1шт.

62

CABLE, head lamp, Serial Range: main-fronttrl

1шт.

63

CABLE, head lamp, Serial Range: dip-frontntrl

1шт.

64

CABLE, head lamp, Serial Range: earth-frontrl

1шт.

65

CABLE, rear light, Serial Range: conn.-powerl

1шт.

66

CABLE, rear light, Serial Range: conn.-powerl

1шт.

67

CABLE, rear light, Serial Range: conn.-reg.il

1шт.

68

CABLE, rear light, Serial Range: conn.-reg.il

1шт.

69

CABLE, plough lamp conn. tomainil

1шт.

70

CABLE, plough lamp conn. tomainil

1шт.

3071675R91

CABLE, assy., plough, Serial Range: lamp-mainil

1шт.

71

CABLE, R.H. fender conn. todetail

1шт.

72

CABLE, R.H. fender conn. todetail

1шт.

73

HEADLAMP, w/CABLE, L.H. (see detail, COMPONENTS

1шт.

74

HEADLAMP, w/CABLE, R.H. (see detail, COMPONENTS

1шт.

75

GENERATOR (see detail list), COMPONENTS

1шт.

76

SWITCH, oil pressure, COMPONENTS

1шт.

See Electrical Instruments

1шт.

77

NOT USED, COMPONENTS

1шт.

78

CONNECTOR, two way, COMPONENTS

5шт.

79

HORN (see detail list), COMPONENTS

1шт.

80

MOTOR, starter (see detail list), COMPONENTS

1шт.

81

HORN, push, COMPONENTS

1шт.

See Electrical Instruments

1шт.

82

BREAKER, circuit, COMPONENTS

1шт.

See Electrical Instruments

1шт.

83

RESISTOR, indicator, COMPONENTS

1шт.

See Electrical Instruments

1шт.

84

LAMP, panel, COMPONENTS

1шт.

See Electrical Instruments

1шт.

85

NOT USED, COMPONENTS

1шт.

86

LAMP, oil pressure warning, COMPONENTS

1шт.

See Electrical Instruments

1шт.

87

LAMP, generator warning, COMPONENTS

1шт.

See Electrical Instruments

1шт.

88

BATTERY, 12 volt, COMPONENTS

1шт.

89

SWITCH, key, COMPONENTS

1шт.

See Electrical Instruments

1шт.

90

SWITCH, light, COMPONENTS

1шт.

See Electrical Instruments

1шт.

91

REGULATOR, (see Regulator) 12 volt., COMPONENTS

1шт.

92

LAMP, side L.H. 12 V 6 W, COMPONENTS

1шт.

See Lamps, Side and Rear, Hi-Clear

1шт.

93

LAMP, side R.H. 12 V 6 W, COMPONENTS

1шт.

See Lamps, Side and Rear, Hi-Clear

1шт.

94

LAMP, plough (see detail list), COMPONENTS

1шт.

95

LAMP, rear L.H. 12 V 6 W, COMPONENTS

1шт.

See Lamps, Side and Rear, Hi-Clear

1шт.

96

LAMP, rear R.H. 12 V 6 W, COMPONENTS

1шт.

See Lamps, Side and Rear, Hi-Clear

1шт.

97

SOCKET, power, COMPONENTS

1шт.

See Registration Lamp and Reflectors

1шт.

98

LAMP, registration, COMPONENTS

1шт.

See Registration Lamp and Reflectors

1шт.

3040886R91

CONDUIT, cable front, COMPONENTS

1шт.

3040887R91

CONDUIT, cable L.H., COMPONENTS

1шт.

705897R1

CONNECTOR, ELEC

COMPONENTS

1шт.

708113R1

CLIP

cable, COMPONENTS

2шт.

708114R1

CLIP, cable, COMPONENTS

1шт.

708115R1

PLATE ASSY.

CLIP, cable, COMPONENTS

7шт.

708117R1

NO LONGER SERVICED

CLIP, cable, COMPONENTS

2шт.

3067821R1

CLIP, cable, COMPONENTS

3шт.

179793

BOLT,Hex, 1/4" - 20 x 5/8", Gr 5, Full Thd

Components Hex, 1/4"-20 x 5/8", G5, Full Thd

1шт.

120375

NUT,Hex, 1/4" - 20, Gr 5

Components 1/4"-20, G5

1шт.

103319

LOCK WASHER,1/4"

WASHER, LOCK, , w/Clips on at., components 1/4"

1шт.

179196

BOLT, hex-hd., 1/4" x 7/8", COMPONENTS

2шт.

120375

NUT,Hex, 1/4" - 20, Gr 5

Components 1/4"-20, G5

2шт.

103319

LOCK WASHER,1/4"

WASHER, LOCK, , Components 1/4"

1шт.

88542

BOLT,Hex, 1/4"-20 x 1/2", Gr 5

hex-hd., 1/4" x 1/2", COMPONENTS

4шт.

120375

NUT,Hex, 1/4" - 20, Gr 5

Components 1/4"-20, G5

4шт.

103380

COTTER PIN,3/32" x 2 1/2"

COMPONENTS

1шт.

NLS

NO LONGER SERVICED

Components Hex, 3/8"-16 x 1", G5

1шт.

102635

NUT,3/8"-16, G5

Components 3/8"-16, G5

1шт.

103321

LOCK WASHER,3/8"

WASHER, LOCK, (w/clips onat., Components) 3/8"

1шт.

117974

GROMMET, 3/8" (fenders), COMPONENTS

5шт.

Выбрано товаров: 0