Запчасти Case IH 276 (6-38) - BOSTROM SEAT ATTACHMENT (09) - CHASSIS

Схема запчастей Case IH 276 - (6-38) - BOSTROM SEAT ATTACHMENT (09) - CHASSIS
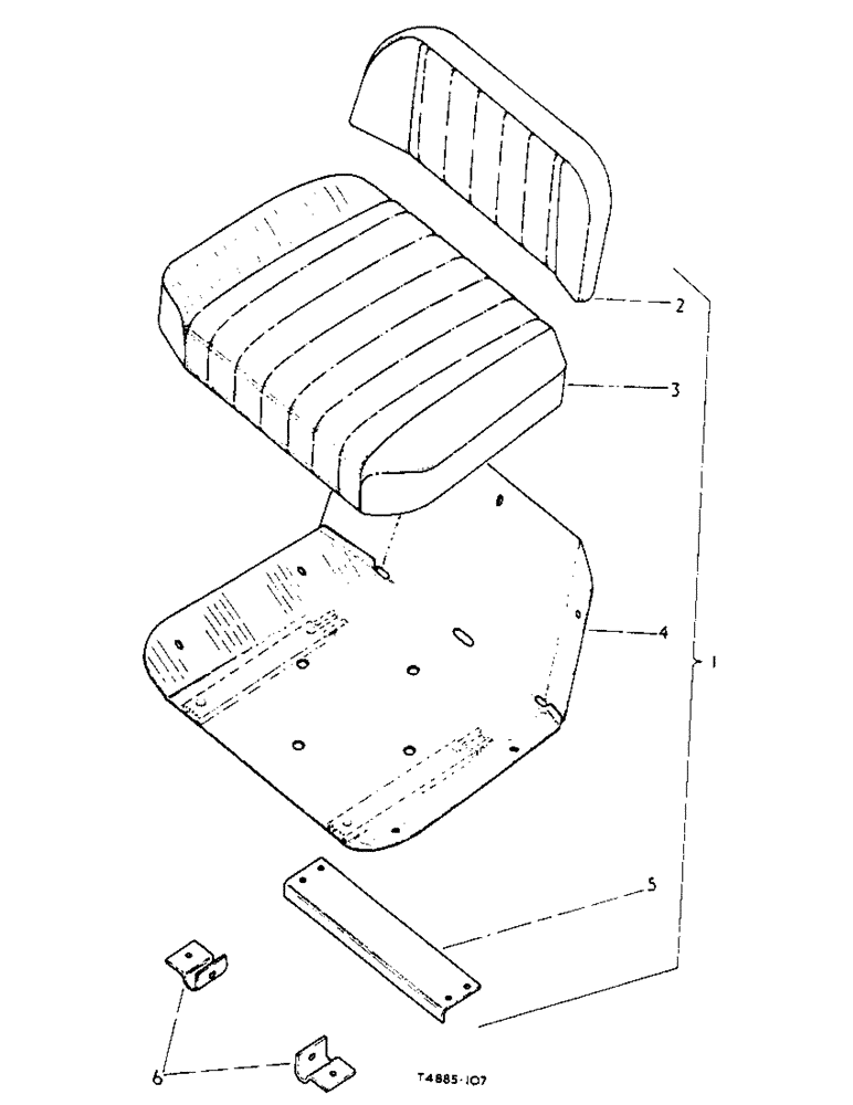
6
2
1
5
4
3
FIT
1:1
100%

Артикул

Название

Примечание

Количество

3064747R91

ATTACHMENT, de-luxe seat, comprising

1шт.

1

3064746R91

SEAT, de-luxe cpte., comprising

1шт.

2

3068213R91

ARMREST

REST, back-assy.

1шт.

3

3068212R91

CUSHION

SEAT, plate assy.

1шт.

4

3068211R91

SEAT

PAN, seat assy.

1шт.

5

3071396R1

ANGLE

rear adjuster

1шт.

6

3067850R1

BRACKET, seat

2шт.

3067849R1

RAIL, slide (R.H.)

1шт.

3067848R1

RAIL, slide (L.H.)

1шт.

3070942R1

SPACER

4шт.

120376

NUT,5/16"-18, G5

10шт.

155338

SCREW, rd-hd., mach., 1/4" x 1/2"

8шт.

80681

LOCK WASHER,5/16"

WASHER, LOCK, 5/16"

10шт.

180179

BOLT,Hex, 1/2" - 13 x 1 3/4", Gr 5

hex-hd., 1/2" x 1-3/4"

2шт.

3065389R1

NUT, lock, Philidas

2шт.

120396

WASHER

plain, 17/32" x 1-1/16" x .095

2шт.

Выбрано товаров: 16