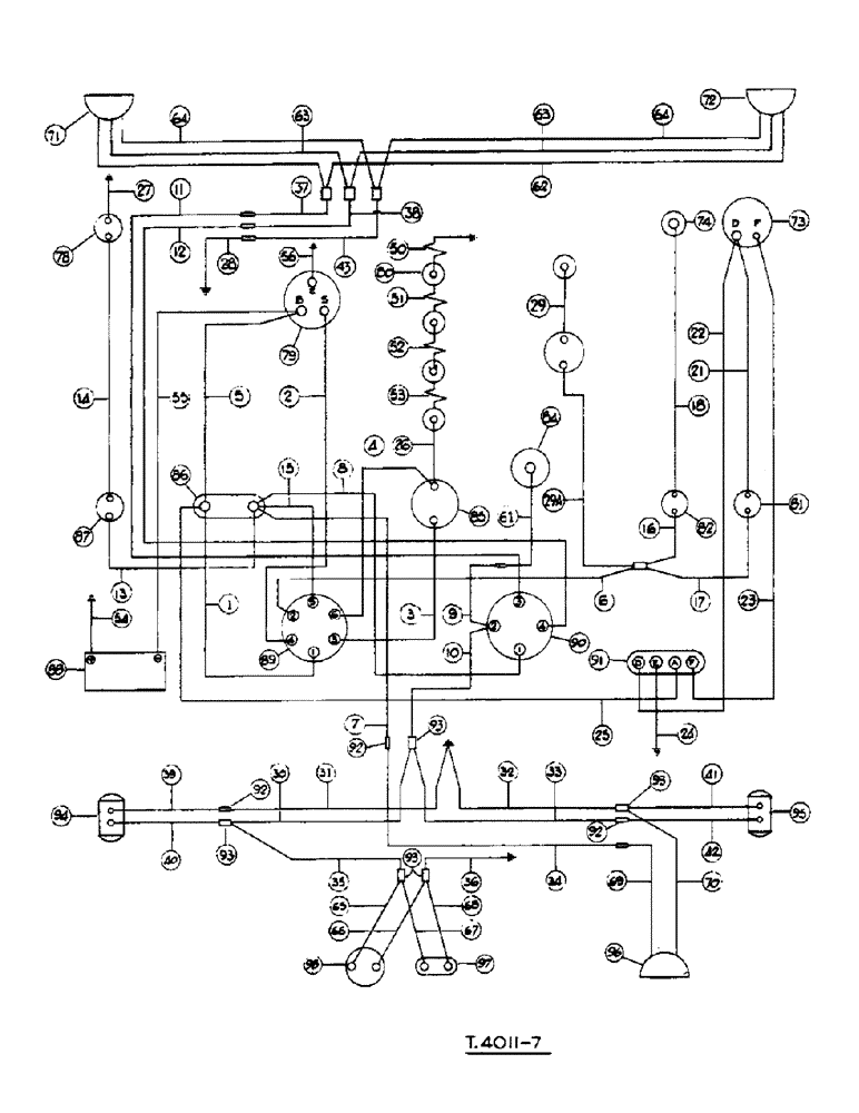
Запчасти Case IH 276 (3-02) - ELECTRICAL SYSTEM, DIESEL (04) - ELECTRICAL SYSTEMS

Схема запчастей Case IH 276 - (3-02) - ELECTRICAL SYSTEM, DIESEL (04) - ELECTRICAL SYSTEMS
30
27
70
6
39
68
40
85
41
55
93
74
26
80
11
15
62
1
32
88
64
43
23
63
10
29
16
21
33
22
72
63
92
89
42
17
84
4
12
64
8
96
98
36
25
56
79
31
81
93
52
3
93
50
78
90
9
94
66
5
54
92
71
37
86
53
14
29a
51
34
24
38
93
67
95
91
97
82
65
69
73
13
87
35
2
92
18
61
28
7
FIT
1:1
100%

Артикул

Название

Примечание

Количество

3072685R92

HARNESS

main cable, comprising Ref. 1 - 29A

1шт.

1

CABLE, key switch term. 1 to circuit breaker, red

1шт.

2

CABLE, key switch term. 4 to starter "S"term, red / black

1шт.

3

CABLE, key switch term. 3 to indicator resistor, brown

1шт.

4

CABLE, key switch term. 6 to indicator resistor, brown / yellow

1шт.

5

CABLE, starter "B" term. to circuit breaker, red

1шт.

6

CABLE, key switch term. 2 to warning light, brown / white

1шт.

7

CABLE, circuit breaker to rear conns., red / white

1шт.

8

CABLE, light switch term. 1 to circuit breaker, green

1шт.

9

CABLE, light switch term. 2 to panel lamp, blue / green

1шт.

10

CABLE, light switch term. 2 to rear conns., red

1шт.

11

CABLE, light switch term. 3 to front conns., blue / red

1шт.

12

CABLE, light switch term. 4 to front cxonns., blue / yellow

1шт.

13

CABLE, circuit breaker to horn button, green

1шт.

14

CABLE, horn to horn button, violet / black

1шт.

15

CABLE, circuit breaker to key switch term. 5, green

1шт.

16

CABLE, oil waring lamp to warning light conn., green

1шт.

17

CABLE, gen. warning lamp to warning light conn., green

1шт.

18

CABLE, oil warning lamp to oil pressure switch, green / yellow

1шт.

19

NOT USED

1шт.

20

NOT USED

1шт.

21

CABLE, gen. warning lamp to gen. "D" term., yellow

1шт.

22

CABLE, regulator "D" term. to gen. "D" term., yellow

1шт.

23

CABLE, regulator "F" term to gen. "F" term., yellow / green

1шт.

24

CABLE, regulator "E" term. to earth, black

1шт.

25

CABLE, regulator "A" term. to circuit breaker, brown / red

1шт.

26

CABLE, indicator resistor to No.4 glow plug, black

1шт.

27

CABLE, horn to earth, black

1шт.

28

CABLE, front conns. to earth, black

1шт.

29a

CABLE, heat indicator to warning lt. conn., green

1шт.

3072987R91

HARNESS ASSY., side and tail, comprising Ref. 30 - 36

1шт.

30

CABLE, rear conns. to L.H. fender conns., red

1шт.

31

CABLE, earth to L.H. fender conns.,m black

1шт.

32

CABLE, earth to R.H. fender conns., black

1шт.

33

CABLE, rear conns. to R.H. fender conns., red

1шт.

34

CABLE, rear conns. to R.H. fender conns., green

1шт.

35

CABLE, L.H. fender conns. to reg. plate conns., red

1шт.

36

CABLE, reg. plate conns. to earth, black

1шт.

CABLE ASSY., Canada only, see special part attach., comprising Ref. 36 and 38

1шт.

37

CABLE, raised headlamp conns. to front conns., red

1шт.

38

CABLE, raised headlamp conns. to front conns., green

1шт.

CABLE, raised headlamp conns. to front conns., see Ref. 43, black

1шт.

CABLE ASSY., prewired, side and tail, comprising Ref. 39 - 40

1шт.

39

CABLE, L.H. fender conns. to side and tail lamp, L.H., black

1шт.

40

CABLE, L.H. fender conns. to side and tail lamp, L.H., red

1шт.

CABLE ASSY., prewired side and tail, comprising Ref 41 and 42

1шт.

41

CABLE, R.H. fender conns. to side and tail lamp, R.H., black

1шт.

42

CABLE, R.H. fender conns. to side and tail lamp, R.H., red

1шт.

43

CABLE, raised headlamp conns. to front conns.

1шт.

44

NOT USED

1шт.

45

NOT USED

1шт.

46

NOT USED

1шт.

47

NOT USED

1шт.

48

NOT USED

1шт.

49

NOT USED

1шт.

50

3065070R1

ELECTRICAL WIRE

CABLE, earth to No. 1 glow plug

1шт.

51

708127R2

ELECTRICAL WIRE

CABLE, No. 1 glow plug to No. 2 glow plug

1шт.

52

708128R1

SPARE PART

CABLE, No. 2 glow plug to No. 3 glow plug

1шт.

53

708127R2

ELECTRICAL WIRE

CABLE, No. 3 glow pug to No. 4 glow plug

1шт.

54

3071051R92

CABLE

positive to earth battery

1шт.

55

3070496R91

CABLE

regative to starter "B" term. battery

1шт.

56

3061346R91

CABLE, starter "E", Serial Range: term.-earth

1шт.

57

NOT USED

1шт.

58

NOT USED

1шт.

59

NOT USED

1шт.

60

NOT USED

1шт.

61

CABLE, panel lamp conn. to panel lamp, black

1шт.

CABLE ASSY. headlamp, comprising Ref. 62 - 66

1шт.

62

CABLE, headlamp main to front conns., blue / red

1шт.

63

CABLE, headlamp dip to front conns., blue / yellow

1шт.

64

CABLE, headlamp earth to front conns., black

1шт.

CABLE ASSY., power socket, comprising Ref. 65 and 66

1шт.

65

CABLE, reg. plate conns. to power socket, red

1шт.

66

CABLE, reg. plate conns. to power socket, black

1шт.

CABLE, reg. plate, comprising Ref. 67 and 68

1шт.

67

CABLE, reg. plate conns. to reg.no. plate lamp, red

1шт.

68

CABLE, reg. plate conns. to reg. no. plate lamp, black

1шт.

CABLE, plough lamp, comprising Ref. 69 and 70

1шт.

69

CABLE, R.H. fender conns. to plough lamp, red

1шт.

70

CABLE, R.H. fender conns. to plough lamp, black

1шт.

COMPONENTS

1шт.

71

HEADLAMP, with CABLES L.H., see detail list , COMPONENTS

1шт.

72

HEADLAMP, with CABLES R.H., see detail list , COMPONENTS

1шт.

73

GENERATOR, see detail list , COMPONENTS

1шт.

74

SWITCH, oil pressure , COMPONENTS

1шт.

See Electrical Instruments or Electrical Miscellaneous

1шт.

75

NOT USED , COMPONENTS

1шт.

76

CONNECTOR, two way , COMPONENTS

3шт.

77

CONNECTOR, single , COMPONENTS

2шт.

78

HORN, see reg. Plate and Horn , COMPONENTS

1шт.

79

MOTOR, starter, see detail list , COMPONENTS

1шт.

80

710348R1

GLOW PLUG

PLUG, glow , COMPONENTS

4шт.

710474R1

ISOLATOR

INSULATOR, glow plug , COMPONENTS

4шт.

3047624R1

NUT

terminal , COMPONENTS

1шт.

81

LIGHT, generator warning , COMPONENTS

1шт.

See Electrical Instruments or Electrical Miscellaneous

1шт.

82

LIGHT, oil warning , COMPONENTS

1шт.

See Electrical Instruments or Electrical Miscellaneous

1шт.

83

NOT USED , COMPONENTS

1шт.

84

LAMP, panel , COMPONENTS

1шт.

See Electrical Instruments or Electrical Miscellaneous

1шт.

85

RESISTOR, indicator , COMPONENTS

1шт.

See Electrical Instruments or Electrical Miscellaneous

1шт.

86

BREAKER, circuit , COMPONENTS

1шт.

See Electrical Instruments or Electrical Miscellaneous

1шт.

87

BUTTON, horn , COMPONENTS

1шт.

See Electrical Instruments or Electrical Miscellaneous

1шт.

88

BATTERY, 12 v , COMPONENTS

1шт.

89

SWITCH, key , COMPONENTS

1шт.

See Electrical Instruments or Electrical Miscellaneous

1шт.

90

SWITCH, light , COMPONENTS

1шт.

See Electrical Instruments or Electrical Miscellaneous

1шт.

91

REGULATOR, 12 v, see Reguator , COMPONENTS

1шт.

92

CONNECTOR, single with Harness , COMPONENTS

4шт.

93

CONNECTOR, two way with Harness , COMPONENTS

5шт.

94

LAMP, side and tail L.H., see detail list , COMPONENTS

1шт.

95

LAMP, side and tail R.H., see detail list , COMPONENTS

1шт.

96

LAMP, plough, see detail list , COMPONENTS

1шт.

97

LIGHT, reg. No. plate , COMPONENTS

1шт.

See Side Lamps and Miscellaneous

1шт.

98

SOCKET, power , COMPONENTS

1шт.

See Side Lamps and Miscellaneous

1шт.

3040886R1

CONDUIT, cable front , COMPONENTS

1шт.

3040887R1

CONDUIT, cable, L.H. , COMPONENTS

1шт.

3067821R1

CLIP, cable , COMPONENTS

3шт.

3067819R1

CLIP, cable , COMPONENTS

1шт.

3070930R1

CLIP

cable , COMPONENTS

4шт.

708113R1

CLIP

cable , COMPONENTS

4шт.

708114R1

CLIP, cable , COMPONENTS

8шт.

708115R1

PLATE ASSY.

CLIP, cable , COMPONENTS

8шт.

708117R1

NO LONGER SERVICED

CLIP, cable , COMPONENTS

2шт.

179793

BOLT,Hex, 1/4" - 20 x 5/8", Gr 5, Full Thd

Components Hex, 1/4"-20 x 5/8", G5, Full Thd

1шт.

120375

NUT,Hex, 1/4" - 20, Gr 5

Components 1/4"-20, G5

1шт.

103319

LOCK WASHER,1/4"

WASHER, LOCK, , with Clip on volt, reg. support plate, components 1/4"

1шт.

88542

BOLT,Hex, 1/4"-20 x 1/2", Gr 5

hex-hd., 1/4" x 1/2" , COMPONENTS

4шт.

120375

NUT,Hex, 1/4" - 20, Gr 5

Components 1/4"-20, G5

4шт.

492-11025

LOCK WASHER,1/4"

WASHER, LOCK, , (w/Clip on Instrument Shroud), components 1/4"

1шт.

179839

BOLT,Hex, 3/8" - 16 x 1", Gr 5

Components Hex, 3/8"-16 x 1", G5

1шт.

102635

NUT,3/8"-16, G5

Components 3/8"-16, G5

1шт.

103321

LOCK WASHER,3/8"

WASHER, LOCK, , w/Clips on L.H. fender, Components 3/8"

1шт.

117974

Grommet, 3/8", Fenders , COMPONENTS

2шт.

Выбрано товаров: 0