Запчасти Case IH 276 (3-05) - REGULATOR AND SUPPORT PLATE (04) - ELECTRICAL SYSTEMS

Схема запчастей Case IH 276 - (3-05) - REGULATOR AND SUPPORT PLATE (04) - ELECTRICAL SYSTEMS
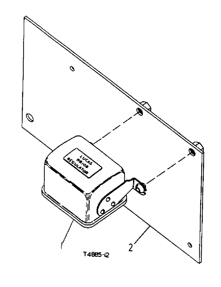
1
2
FIT
1:1
100%

Артикул

Название

Примечание

Количество

1

3043187R92

REGULATOR

voltage

1шт.

700489R1

SLEEVE

terminal

4шт.

103319

LOCK WASHER,1/4"

WASHER, LOCK, 1/4"

2шт.

133043

SCREW,Sl Rnd Hd, 1/4" - 20 x 3/4"

rd-hd., 1/4" x 3/4"

1шт.

2

3070497R21

PLATE, voltage regulator, support, cpte. (Pertol) (Illustrated)

1шт.

179838

BOLT,Hex, 3/8" - 16 x 7/8", Gr 5, Full Thd

2шт.

103321

LOCK WASHER,3/8"

WASHER, LOCK, 3/8"

2шт.

2

3072664R91

PLATE, voltage regulator, support, cpte. (Diesel)

1шт.

179838

BOLT,Hex, 3/8" - 16 x 7/8", Gr 5, Full Thd

2шт.

103321

LOCK WASHER,3/8"

WASHER, LOCK, 3/8"

2шт.

Выбрано товаров: 10