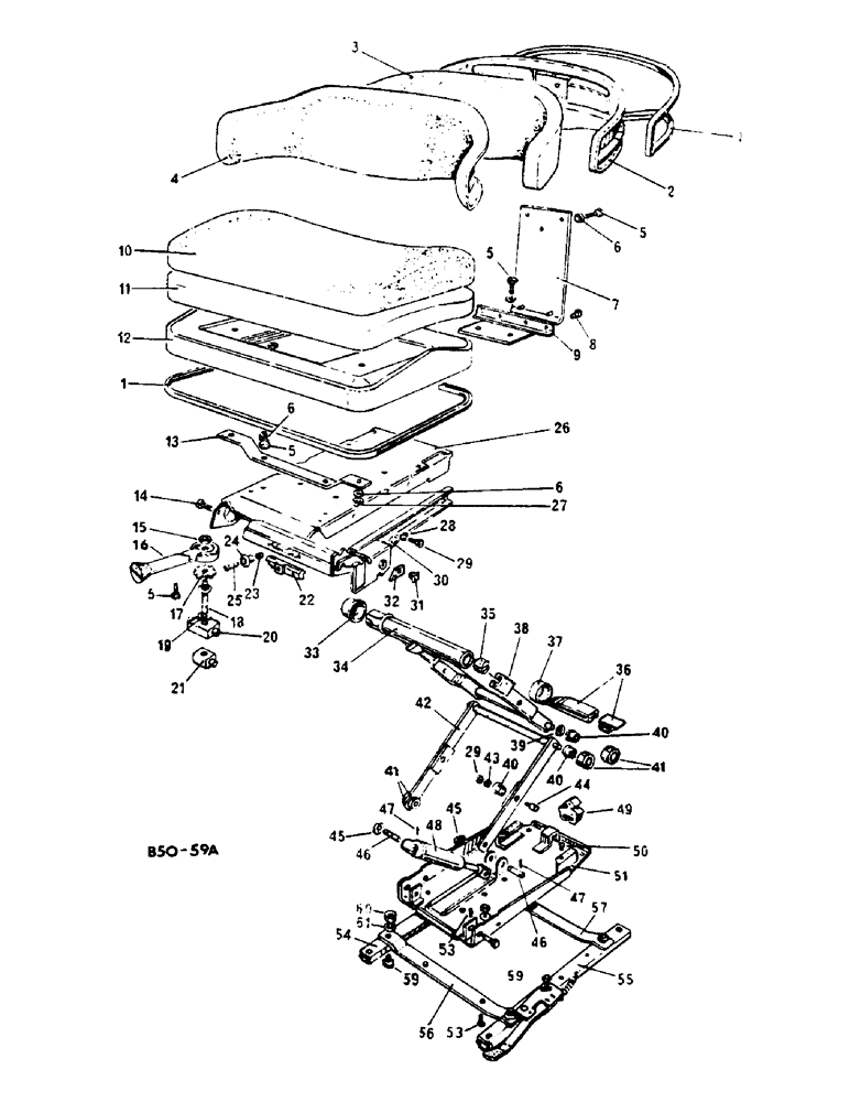
Запчасти Case IH 278 (13-034) - SUSPENSION SEAT DE-LUXE (05) - SUPERSTRUCTURE

Схема запчастей Case IH 278 - (13-034) - SUSPENSION SEAT DE-LUXE (05) - SUPERSTRUCTURE
23
28
24
53
51
18
59
49
37
1
47
25
29
21
55
36
61
43
5
50
38
8
54
33
20
44
41
40
45
42
29
32
4
39
13
3
19
6
57
16
1
5
11
10
15
47
26
536
40
48
45
46
12
7
46
31
35
40
60
5
41
6
6
22
9
2
17
27
6
59
30
34
14
56
FIT
1:1
100%

Артикул

Название

Примечание

Количество

3121421R91

SEAT

ASSY, SUSPENSION, P.V.C.,BOSTROM

1шт.

3121422R91

DRIVER SEAT

ASSY, SUSPENSION, FABRIC, BOSTROM

1шт.

3123336R1

BACKREST

CUSHION ASSY, BACK, P.V.C.

1шт.

3123337R1

BACKREST

CUSHION ASSY, FABRIC, EACH CONSISTS ITEMS 1 - 4 INCL

1шт.

1

NSS

NOT SOLD SEPARAT

STRIP, EDGING

1шт.

2

NSS

NOT SOLD SEPARAT

PAN, SEAT BACK

1шт.

3

NSS

NOT SOLD SEPARAT

CUSHION, FOAM SEAT BACK

1шт.

4

NSS

NOT SOLD SEPARAT

COVER, SEAT BACK CUSHION, PVC/FABRIC

1шт.

5

30001R1

BOLT,Hex, M8 x 1.25 x 16mm, Cl 10.9, Full Thd

M8-16

9шт.

6

112723

LOCK WASHER,5/16"

11шт.

7

3123331R1

SUPPORT

SEAT BACK

1шт.

8

3125163R1

RIVET

POP

4шт.

9

3125164R1

BRACKET

1шт.

3123332R1

CUSHION, SEAT

ASSY, P.V.C.

1шт.

3123333R1

CUSHION, SEAT

ASSY, FABRIC, EACH CONSISTS ITEMS 1,10 - 12 INCL

1шт.

10

NSS

NOT SOLD SEPARAT

COVER, SEAT, PVC OR FABRIC

1шт.

11

NSS

NOT SOLD SEPARAT

CUSHION, FOAM SEAT

1шт.

12

NSS

NOT SOLD SEPARAT

PAN, SEAT

1шт.

13

3123334R1

SUPPORT

BRACKET, SEAT TILT

1шт.

14

3123312R1

SCREW

M8 X 1.25 X 16 TAPTITE

1шт.

15

3123326R1

NUT

CLAMP

1шт.

16

3123327R1

HANDLE

ASSY

1шт.

17

538570R1

GEAR

1шт.

18

3123325R1

BOLT

ADJUSTER

1шт.

19

3123322R1

THRUST WASHER

1шт.

20

3123323R1

TRUNNION

ADJUSTER, LARGE

1шт.

21

3123324R1

TRUNNION

ADJUSTER, SMALL

1шт.

22

3123307R1

SLIDE

SEAT ADJUSTING

1шт.

23

3123330R1

SPRING

SLIDER

1шт.

24

3123309R1

BUTTON

KNOB, SLIDER

1шт.

25

3220548R1

SCREW

M6 X 25

1шт.

26

3123313R1

SEAT PLATE

TOP

1шт.

27

934310R1

NUT,M8, Cl 8

M8 HEX

4шт.

28

933965R1

LOCK WASHER,M10

2шт.

29

3123317R1

BOLT

2шт.

30

3123314R1

SHROUD ASSY.

R.H.

1шт.

31

538695R1

PLUG

END

1шт.

32

3220525R1

INDICATOR

1шт.

33

3123316R1

BUSHING

BEARING, 4 MM

1шт.

34

3123315R1

LEVER

CENTRE

1шт.

35

3220529R1

RETAINER

1шт.

36

3129922R1

BAR

TORSION, SET OF 5

1шт.

37

3109331R1

FLANGED BEARING

1шт.

38

3220519R1

STOP

LIMIT

2шт.

39

538565R1

WASHER

4шт.

40

3123319R1

BUSHING

BEARING

8шт.

41

3123320R1

ROLLER BEARING

4шт.

42

3220517

LEVER, OUTER

1шт.

43

934309R1

LOCK WASHER,M8

2шт.

44

3123321R1

PIVOT PIN

2шт.

45

934309R1

LOCK WASHER,M8

2шт.

46

538578R1

PIN

DAMPER

2шт.

47

538579R1

PIN, ROLL

2шт.

48

3123329R1

SHOCK ABSORBER

DAMPER

1шт.

49

3220516R1

STOP

BUMPER

1шт.

50

3123308R1

BUMPER

BUTTON

2шт.

51

3220524R1

PLATE

BASE

1шт.

52

3123318R1

PIVOT PIN

2шт.

53

3125165R1

PIN, ROLL

3 MM

2шт.

54

3123303R1

RAIL

SLIDE, ADJ

1шт.

55

3123304R1

RAIL

SLIDE, FREE

1шт.

56

3123305R1

BRACKET

STRAP, MOUNTING -FRONT-

1шт.

57

3123306R1

BRACKET

STRAP, MOUNTING -REAR-

1шт.

58

931237R1

HEX SOC SCREW,Flat Hd, CSK, M8 x 20mm, Cl 8.8

M8 X 20 CSK

4шт.

59

30001R1

BOLT,Hex, M8 x 1.25 x 16mm, Cl 10.9, Full Thd

M8 X 16

3шт.

60

43362

NUT,M8 x 1.25, Cl 10

4шт.

61

112723

LOCK WASHER,5/16"

3шт.

Выбрано товаров: 67