Запчасти Case IH 2806 (E-10) - FUEL SYSTEM, FUEL TANK SUPPORTS AND PIPING, DIESEL ENGINE TRACTORS (02) - FUEL SYSTEM

Схема запчастей Case IH 2806 - (E-10) - FUEL SYSTEM, FUEL TANK SUPPORTS AND PIPING, DIESEL ENGINE TRACTORS (02) - FUEL SYSTEM
23
39
30
6
4
40
7
34
37
15
30
15
27
25
33
28
2
20
16
38
26
14
35
12
10
36
32
21
20
17
29
1
17
41
22
33
19
11
8
9
31
18
3
24
5
13
FIT
1:1
100%

Артикул

Название

Примечание

Количество

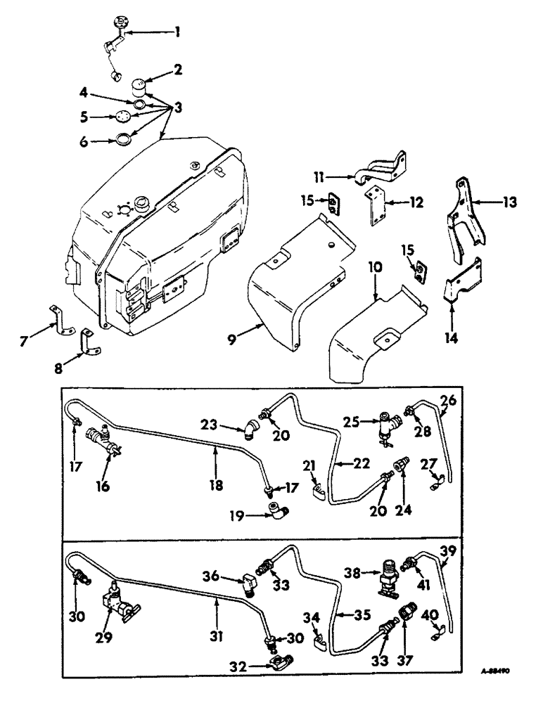
1

378427R91

GAUGE

SENDING UNIT ASSY, electric fuel gauge

1шт.

1310675C1

CAPTIVE WASHER SCREW,Sl Truss Hd, #10 - 24 x 0.75"

SCREW, LOCK, , Sending unit mounting Sltd Truss Hd, #10-24 x 3/4", w/nylon LW

5шт.

2

361910R91

PLUG

CAP W/GASKET, fuel tank filler

1шт.

3

381379R92

TANK ASSY, fuel

1шт.

131-883

SPRING NUT,Rtnr, 5/16" - 18

5/16-18 floating cage, used with .543-.548 square holes

4шт.

389117R91

NUT

5/16-18 floating cage, used with .582-.587 square holes

4шт.

179837

BOLT,Hex, 3/8" - 16 x 3/4", Gr 5

1шт.

4

23977DB

GASKET

fuel tank filler cap

1шт.

5

369155R1

COVER, fuel gauge sending unit opening, tractors w/o electric fuel gauge

1шт.

1310675C1

CAPTIVE WASHER SCREW,Sl Truss Hd, #10 - 24 x 0.75"

SCREW, LOCK, , Cover mounting Sltd Truss Hd, #10-24 x 3/4", w/nylon LW

5шт.

6

369154R1

GASKET

sending unit and cover

1шт.

7

384196R1

BRACKET, fuel tank rear support, LH

1шт.

114503

JAM NUT,Jam, 3/8"-16, G5

2шт.

179837

BOLT,Hex, 3/8" - 16 x 3/4", Gr 5

1шт.

179838

BOLT,Hex, 3/8" - 16 x 7/8", Gr 5, Full Thd

3/8-16 x 7/8 hex-hd cap

2шт.

8

384197R1

BRACKET, fuel tank rear support, RH

1шт.

114503

JAM NUT,Jam, 3/8"-16, G5

2шт.

179837

BOLT,Hex, 3/8" - 16 x 3/4", Gr 5

1шт.

179838

BOLT,Hex, 3/8" - 16 x 7/8", Gr 5, Full Thd

3/8-16 x 7/8 hex-hd cap

2шт.

9

386117R31

SHIELD ASSY, lower LH heat

1шт.

Also order tab assy, 386119R11 if tractor is already not so equipped

1шт.

369222R1

BOLT,Hex Wshr Hd, 5/16" - 18 x 5/8"

SCREW, 5/16-18 x 5/8 hex-washer-hd cap

1шт.

179816

BOLT,Hex, 5/16" - 18 x 3/4", Gr 5

4шт.

10

386118R21

SHIELD ASSY, lower RH heat

1шт.

Also order tab assy, 386119R11 if tractor is already not so equipped

1шт.

131-883

SPRING NUT,Rtnr, 5/16" - 18

5/16-18 floating cage

3шт.

369222R91

SCREW, 5/16-18 x 5/8 hex-easher-hd cap

1шт.

179816

BOLT,Hex, 5/16" - 18 x 3/4", Gr 5

1шт.

11

382365R11

SUPPORT ASSY, fuel tank LH front

1шт.

179837

BOLT,Hex, 3/8" - 16 x 3/4", Gr 5

4шт.

Q1597

WASHER

13/32 x 3/4 x 16 ga

2шт.

12

(Not used in this application)

1шт.

13

382367R11

SUPPORT ASSY, fuel tank RH front

1шт.

179879

BOLT,Hex, 1/2" - 13 x 3/4", Gr 5

2шт.

14

(Not used in this application)

1шт.

15

386119R11

TAB ASSY, lower heat shield

2шт.

16

384151R91

VALVE

w/nut, 19986R1, fuel tank shut-off, Farmall tractor serial no. 33162 & below, International tractor serial no. 7100 & below

1шт.

17

19986R1

TUBE NUT,9/16"-20

NUT, 9/16-20 hi-duty pipe fitting, Farmall tractor serial no. 33162 & below, International tractor serial no. 7100 & below

2шт.

18

383170R11

PIPE ASSY, fuel tank to fuel filter, Farmall tractor serial no. 33162 & below, International tractor serial no. 7100 & below

1шт.

19

37323D

ELBOW,90 Degree x 1/4" NPT x 9/16"-20

9/16-20 hi-duty pipe fitting male pipe, Farmall tractor serial no. 33162 & below, International tractor serial no. 7100 & below

1шт.

20

19986R1

TUBE NUT,9/16"-20

NUT, 9/16-20 hi-duty tube fitting, Farmall tractor serial no. 33162 & below, International tractor serial no. 7100 & below

2шт.

21

383186R2

CLIP, fuel return pipe

1шт.

22

383172R11

PIPE ASSY, fuel return, Farmall tractor serial no. 33162 & below, International tractor serial no. 7100 & below

1шт.

23

42411D

ELBOW,90 Degree x 3/8" NPT x 9/16"-20

fuel return pipe, Farmall tractor serial no. 33162 & below International tractor serial no. 7100 & below

1шт.

24

38026DM

HYD CONNECTOR,1/4" NPT x 9/16"-20

CONNECTOR, fuel return pipe male, Farmall tractor serial no. 33162 & below, International tractor serial no. 7100 & below

1шт.

25

384277R91

VALVE

fuel tank drain, Farmall tractor serial no. 33162 & below, International tractor serial no. 7100 & below

1шт.

26

384275R11

PIPE ASSY, fuel tank drain, Farmall tractor serial no. 33162 & below, International tractor serial no. 7100 & below

1шт.

27

370740R1

CLAMP

CLIP, fuel tank water drain

1шт.

28

19984R1

TUBE NUT,7/16"-24

NUT, 7/16-24 hi-duty pipe fitting, Farmall tractor serial no. 33162 & below, International tractor serial no. 7100 & below

1шт.

29

390069R91

SHUT-OFF VALVE

VALVE, fuel tank shut-off, Farmall tractor serial no. 33163 & above, International tractor serial no. 7101 & above

1шт.

30

222-1004

TUBE NUT,5/8" - 18

NUT, 5/8-18 inverted flared tube, Farmall tractor serial no. 33163 & above, International tractor serial no. 7101 & above

1шт.

31

PIPE ASSY, fuel tank to fuel filter, use 22 inches of 3/8 OD copper tubing from 50 ft roll marked 995063R1 & two nuts 137999, Farmall tractor serial no. 33163 & above, International tractor serial no. 7101 & above

1шт.

32

193004

ELBOW

1/4-18 90 deg BRS inverted flared tube, Farmall tractor serial no. 33163 & above, International tractor serial no. 7101 & above

1шт.

33

222-1002

TUBE NUT,1/4" Tube, Inv Fl

NUT, 7/16-24 inverted flared tube, Farmall tractor serial no. 33163 & above, International tractor serial no. 7101 & above

1шт.

34

383186R2

CLIP, fuel return pipe

1шт.

Q5035

WASHER

17/32 x 1 x .060

1шт.

35

PIPE ASSY, fuel return, use 44 inches of 1/4 OD copper tubing from 50 ft roll marked 995061R1 & two nuts, 137397, Farmall tractor serial no. 33163 & above, International tractor serial no. 7101 & above

1шт.

36

225810

ELBOW UNION

ELBOW, 7/16-24 90 deg inverted flared tube, Farmall tractor serial no. 33163 & above, International tractor serial no. 7101 & above

1шт.

37

137405

CONNECTOR, ELEC

CONNECTOR, 1/8-27 BRS inverted flared tube, Farmall tractor serial no. 33163 & above, International tractor serial no. 7101 & above.

1шт.

38

390076R91

VALVE

fuel tank drain, Farmall tractor serial no. 33163 & above, International tractor serial no. 7101 & above

1шт.

39

390075R11

PIPE ASSY, fuel tank drain, includes nut, 137397, Farmall tractor serial no. 33163 & above, International tractor serial no. 7101 & above

1шт.

40

370740R1

CLAMP

CLIP, fuel tank water drain

1шт.

41

222-1002

TUBE NUT,1/4" Tube, Inv Fl

NUT, 7/16-24 inverted flared tube, Farmall tractor serial no. 33163 & above, International tractor serial no. 7101 & above

1шт.

Выбрано товаров: 63