Запчасти Case IH 2806 (F-17) - HYDRAULIC SYSTEM, DRAFT SENSING (07) - HYDRAULIC SYSTEM

Схема запчастей Case IH 2806 - (F-17) - HYDRAULIC SYSTEM, DRAFT SENSING (07) - HYDRAULIC SYSTEM
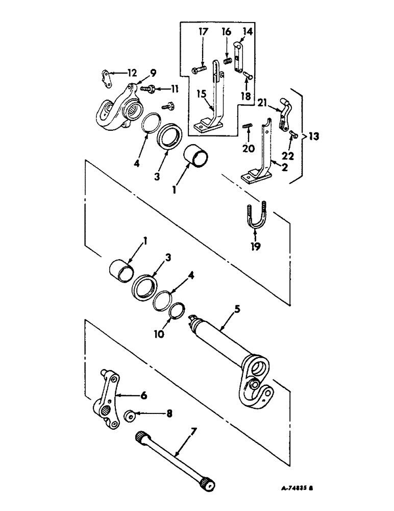
22
14
10
9
15
13
4
18
3
7
6
3
8
19
11
1
2
17
16
20
1
5
21
4
12
FIT
1:1
100%

Артикул

Название

Примечание

Количество

381910R91

PARTS ACCESSORY, draft sensing, tractors with draft control and two or three point hitch, Farmall tractors up to serial no. 20381 International tractors up to serial no. 5008

1шт.

392098R91

PARTS ACCESSORY, draft sensing, tractors with draft control and two or three point hitch, Farmall tractors with serial no. 20382 & above, International tractors with serial no. 5009 & above

1шт.

1

394887R91

BUSHING

ASSY, liner & case, will work for 381916R1 & 383258R1, Farmall tractors up to serial no. 20381, International tractors up to serial no. 5008

2шт.

1

394838R91

BUSHING

ASSY, liner & case, will work for 392075 & 383258R1, Farmall tractors with serial no. 20382 & above, International tractors with serial no. 5009 & above

1шт.

2

391055R11

ARM

ASSY, sensing lower, Farmall tractors with serial no. 20926 & above, International tractors with serial no. 5171 & above

1шт.

456197R1

NUT, 3/8-16 hex. lock

2шт.

3

385099R1

RETAINER

crank arm o-ring

2шт.

4

468335R1

O-RING,0.21" Thk x 3.25" ID, -340, Cl 5, 75 Duro

3-3/8 x 3-3/4 x 3/16, crank arm o-ring retainer

2шт.

5

381921R12

ARM

ASSEMBLY, RH crank

1шт.

6

381923R11

KIT

BRACKET ASSY, torsion bar anchor

1шт.

NLS

NO LONGER SERVICED

SCREW, 5/8-11 x 3-3/4 hex-hd cap

2шт.

106267

WASHER,5/8"

11/16 x 1-3/4 x .134

2шт.

7

381925R1

SPRING

BAR, torsion spring, optional with 393243R1

1шт.

7

393243R1

SHAFT

BAR, torsion spring, optional with 381925R1

1шт.

8

381926R1

SPACER

RETAINER, torsion bar

1шт.

179882

PIN

SCREW, 1/2-13 x 1-1/8 hex-hd cap

1шт.

103323

LOCK WASHER,1/2"

WASHER, LOCK, 1/2"

1шт.

9

381927R1

ARM

LH crank

1шт.

10

383260R1

O-RING,0.21" Thk x 2.475" ID, -333, Cl 5, 75 Duro

2-1/2 x 2-7/8 x 3/16

1шт.

11

383261R1

BOLT

SCREW, stop adjusting

2шт.

114507

JAM NUT,Jam, 5/8"-11, G5

2шт.

12

383262R1

SUPPORT

RETAINER, crank arm

1шт.

179839

BOLT,Hex, 3/8" - 16 x 1", Gr 5

2шт.

103321

LOCK WASHER,3/8"

WASHER, LOCK, 3/8"

2шт.

13

391054R91

ARM ASSY.

ARM ASSY, sensing

1шт.

14

383264R1

ARM, sensing upper, order arm assy, 391054R91, Farmall tractors up to serial no. 20825, International tractors up to serial no. 5170

1шт.

15

381929R11

ARM

ASSY, sensing lower, order arm assy, 391054R91, Farmall tractors up to serial no. 20925, International tractors up to serial no. 5170

1шт.

231-1446

NUT,3/8" - 16, Gr 5

NUT LOCK, 3/8"-16, GB

2шт.

16

862351R1

SPRING, adjusting screw, Farmall tractor up to serial no. 20925, International tractors up to serial no. 5170

1шт.

17

383266R1

SCREW, adjusting, Farmall tractors up to serial no. 20925, International tractors up to serial no. 5170

1шт.

109084

NUT,1/4"-20, G5

1шт.

615009R1

WASHER

17/64 x 3/4 x 16 ga

2шт.

18

PO13669

PIN,1/4" x 1 1/8"

1/4 x 1-1/8 headed, Farmall tractors up to serial no. 20925, International tractors up to serial no. 5170

1шт.

103383

COTTER PIN,1/8" x 1/2"

Pin, Split (Cotter), , Ext prong 1/8" x 1/2"

1шт.

95-11028

WASHER,1/4"

9/32 x 5/8 x .065

1шт.

19

381931R1

BOLT (SPREADER),3/8" - 16 x 3.05" W x 3.40" L

U-BOLT, sensing arm

1шт.

20

SCREW, 1/4-20 hex-soc-hd ov-pt set, Farmall tractors with serial no. 20926 & above, International tractors with serial no. 5171 & above

1шт.

109084

NUT,1/4"-20, G5

1шт.

21

390118R1

ARM

sensing upper, Farmall tractors with serial no. 20926 & above, International tractors with serial no. 5171 & above

1шт.

22

427-5094

CLEVIS PIN,7.92mm OD x 23.88mm L

Rod end, Farmall tractors with S/N 20926 & above, International tractors with S/N 5171 & above 5/16" x .940", HDN

1шт.

107762

WASHER,3/32" x 5/8"

PIN, SPLIT, (COTTER), , Extended prong 3/32" x 5/8"

1шт.

Выбрано товаров: 41