Запчасти Case IH 2806 (H-07) - CONTROLS, POWER TAKE-OFF LEVER AND CONNECTIONS Controls

Схема запчастей Case IH 2806 - (H-07) - CONTROLS, POWER TAKE-OFF LEVER AND CONNECTIONS Controls
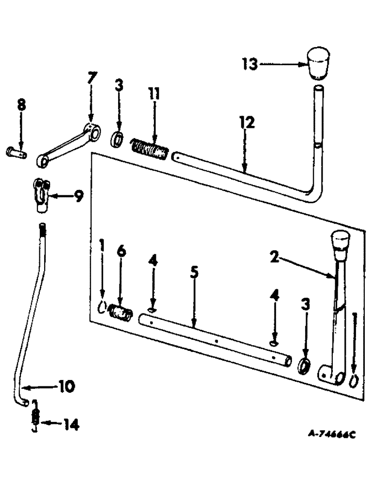
4
3
8
10
4
3
2
6
1
5
14
12
7
9
11
13
FIT
1:1
100%

Артикул

Название

Примечание

Количество

1

204502R1

SNAP RING,#43, Ext

PTO handle rod, Used with rod, 382481R1 #43, Ext

2шт.

2

382480R1

HANDLE

PTO

1шт.

For service replacement of arm, handle & rod held in place by keys & snap rings or pins order (1) handle 387884R1, (1) knob 387885R1, (1) spring 387886R1.

1шт.

2

385519R1

HANDLE

PTO

1шт.

3

382483R1

WASHER

DISC, PTO handle friction

1шт.

4

NLS

NO LONGER SERVICED

1/8 x 5/8 woodruff 5, used with rod, 382481R1

2шт.

5

382481R1

ROD

PTO handle

1шт.

For service replacement of arm, handle & rod held in place by keys & snap rings or pins order (1) handle 387884R1, (1) knob 387885R1, (1) spring 387886R1.

1шт.

5

385518R1

ROD

PTO handle

1шт.

103385

COTTER PIN,1/8" x 1"

PIN, SPLIT (COTTER), 1/8" x 1"

1шт.

443023

GROOVED PIN,3/16" x 1", Type F

Pin, Grooved, 3/16" x 1", Type F

1шт.

615063R1

WASHER

15/32 x 7/8 x 16 ga

3шт.

6

303799R1

SPRING, PTO handle friction disc

1шт.

7

382482R1

ARM

PTO, used with rod, 382481R1

1шт.

For service replacement of arm, handle & rod held in place by keys & snap rings or pins order (1) handle 387884R1, (1) knob 387885R1, (1) spring 387886R1.

1шт.

7

385517R1

ARM

PTO

1шт.

8

103496

CLEVIS PIN,3/8" x 1.060"

PIN, CLEVIS, , PTO actuating rod end 3/8" x 1.060"

1шт.

107762

WASHER,3/32" x 5/8"

PIN, SPLIT, (COTTER), 3/32" x 5/8"

1шт.

95-11041

WASHER,3/8"

(13/32 x 13/16 x .065) 3/8"

1шт.

9

104038

ADJUSTABLE CLEVIS,3/8"-24 x 2 1/2"

CLEVIS, 3/8-24 PTO actuating rod end

1шт.

114494

NUT,Jam, 3/8"-24, G5

1шт.

10

382485R1

ROD

PTO acutating

1шт.

11

387886R1

SPRING

PTO handle rod

1шт.

12

387884R1

STEM

ROD, PTO handle

1шт.

443023

GROOVED PIN,3/16" x 1", Type F

Pin, Grooved, 3/16" x 1", Type F

1шт.

13

387885R1

KNOB

PTO handle rod

1шт.

14

401222R1

VALVE SPRING

SPRING, IPTO linkage anti-friction

1шт.

Выбрано товаров: 27