Запчасти Case IH 2826 (13-02) - SUPERSTRUCTURE, HOOD AND PANELS (05) - SUPERSTRUCTURE

Схема запчастей Case IH 2826 - (13-02) - SUPERSTRUCTURE, HOOD AND PANELS (05) - SUPERSTRUCTURE
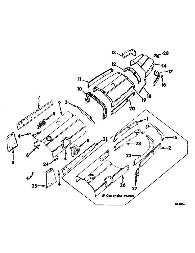
28
4
18
23
16
1
7
8
9
11
5
26
27
19
10
4
21
15
4
24
14
25
20
4
12
8
6
22
2
13
3
4
17
FIT
1:1
100%

Артикул

Название

Примечание

Количество

1

378639R1

PANEL, RH, rear hood side, Farmall tractors

1шт.

1

378671R1

PANEL

RH rear hood side, International tractors, Farmall tractors w/deluxe flat top fenders

1шт.

385157R1

SCREW,Bevel Wshr Hd, 5/16" - 18 x 5/8"

5/16-18 x 5/8 hex, washer-hd. bevel cap

2шт.

2

378638R1

PANEL, LH rear hood side, Farmall tractors

1шт.

2

378670R1

PANEL, LH rear hood side, International tractors, Farmall tractors w/deluxe flat top fenders

1шт.

385157R1

SCREW,Bevel Wshr Hd, 5/16" - 18 x 5/8"

5/16-18 x 5/8 hex, washer-hd. bevel cap

2шт.

3

406440R1

EXTENSION ASSY, upper heat shield, gasoline and diesel engine tractors

1шт.

4

376787R1

WASHER

RETAINER, screw

10шт.

5

397926R1

PANEL ASSY, RH radiator support

1шт.

385157R1

SCREW,Bevel Wshr Hd, 5/16" - 18 x 5/8"

5/16-18 x 5/8 hex, washer hd. bevel cap

2шт.

6

369180R1

PRODUCT GRAPHIC

ORNAMENT, hood

1шт.

6

369180R1GV

DECAL

Value, Ornament, Hood

1шт.

423324

SCREW,Hex L/Wshr Hd, #10-24 x 7/16"

w/ext tooth lock washer assy, 10-24 x 7/16 hex-hd. mach

2шт.

7

399542R11

PANEL ASSY.

PANEL, RH front hood side, Farmall tractors

1шт.

7

397885R1

PANEL, RH front hood side, International tractors

1шт.

389872R1

THUMB SCREW,Knurled Head, 5/16"-18 x 3/4"

SCREW, front hood side panel thumb

2шт.

432327

HOLE PLUG BUTTON,1"

PLUG, 1 inch button

2шт.

8

397881R1

GRILLE

COVER, front hood access

1шт.

389872R1

THUMB SCREW,Knurled Head, 5/16"-18 x 3/4"

SCREW, front hood access cover thumb

1шт.

9

397875R91

HOOD ASSY, front, gasoline

1шт.

9

397877R91

HOOD ASSY, front, diesel

1шт.

363886R91

NUT, 5/16-18 floating cage

2шт.

389427R91

CAPTIVE WASHER SCREW,Hex, 5/16" - 18 x 3/4"

SCREW, 5/16-18 x 3/4 hex, washer-hd. cap

8шт.

10

400442R91

REINFORCEMENT ASSY, rear hood front, gasoline and diesel engine tractors

1шт.

131-883

SPRING NUT,Rtnr, 5/16" - 18

5/16-18 floating cage

6шт.

179814

SPACER

4шт.

11

406678R1

PANEL, RH rear hood side, Farmall gasoline and diesel engine tractors

1шт.

11

406680R1

PANEL, RH rear hood side, International gasoline and diesel engine tractors, Farmall tractors w/cab or deluxe flat top fenders

1шт.

385157R1

SCREW,Bevel Wshr Hd, 5/16" - 18 x 5/8"

5/16-18 x 5/8 hex, washer-hd. bevel cap

2шт.

12

378640R11

REINFORCEMENT ASSY, rear hood rear, gasoline and diesel engine tractors

1шт.

131-883

SPRING NUT,Rtnr, 5/16" - 18

5/16-18 floating cage

2шт.

179812

GEAR

SCREW, 5/16-18 x 1/2 hex-hd. cap

4шт.

13

406065R1

HOUSING, steering support lower RH, carbureted engine tractors

1шт.

13

527782R1

HOUSING, steering support lower RH, hydrostatic drive, diesel engine tractors

1шт.

13

527261R1

HOUSING, steering support lower RH, gear drive tractors

1шт.

432478

HOLE PLUG BUTTON,5/8"

PLUG, 5/8 C-Z button, diesel engine tractors

1шт.

385157R1

SCREW,Bevel Wshr Hd, 5/16" - 18 x 5/8"

5/16-18 x 5/8 hex, washer-hd. bevel cap

1шт.

14

534511R1

HOUSING, steering and gear selector support w/liner, 534439R1, hydrostatic drive tractors

1шт.

14

534508R1

HOUSING, steering and gear selector support w/liner, 534437R1, gear drive tractors

1шт.

14

534438R1

HOUSING, steering and gear selector support w/liner, 534439R1, tractors w/cab

1шт.

14

534410R1

HOUSING, steering and gear selector support w/liner, 534439R1, hydrostatic drive tractors w/all wheel drive

1шт.

14

534509R1

HOUSING, steering and gear selector support w/liner, 534437R1, gear drive tractors w/all wheel drive

1шт.

372784R1

SCREW,Hex Wshr Hd, 1/4" - 20 x 3/4"

1/4-20 x 3/4 hex-hd. cap, hydrostatic drive tractors

1шт.

385157R1

SCREW,Bevel Wshr Hd, 5/16" - 18 x 5/8"

5/16-18 x 5/8 hex, washer-hd. bevel cap, 6 used for Farmall tractors, 8 used for International tractors

1шт.

15

380461R11

REINFORCEMENT ASSY, rear hood, rear

1шт.

131-883

SPRING NUT,Rtnr, 5/16" - 18

5/16-18 floating cage

2шт.

179812

GEAR

SCREW, 5/16-18 x 1/2 hex-hd. cap

4шт.

16

187758

PLUG,2 1/2"

torque amplifier opening button

1шт.

17

406064R1

HOUSING, steering support lower LH, carbureted engine tractors

1шт.

17

530328R1

HOUSING, steering support lower LH, hydrostatic drive, diesel engine tractors

1шт.

17

530326R1

HOUSING, steering support lower LH, gear drive tractors

1шт.

385157R1

SCREW,Bevel Wshr Hd, 5/16" - 18 x 5/8"

5/16-18 x 5/8 hex, washer-hd. bevel cap

1шт.

18

406067R2

HANDLE

operators mounting assist LH, hydrostatic drive tractors

1шт.

18

394820R2

HANDLE

operators mounting assist RH, Farmall hydrostatic drive tractors

1шт.

18

397890R2

HANDLE

operators mounting assist LH, gear drive tractors

1шт.

18

399306R2

HANDLE

operators mounting assist RH, Farmall gear drive tractors

1шт.

21534R1

BOLT,Hex, 5/16" - 18 x 1"

SCREW, 5/16-18 x 1 CDP hex-hd. cap

1шт.

21535R1

SCREW, 5/16-18 x 1-1/4 CDP hex-hd., 2 for Farmall tractors, 1 for International tractors, cap, 2 for Farmall tractors, 1 for International tractors

1шт.

19

378637R1

HOOD

rear, gasoline and diesel engine tractors

1шт.

385157R1

SCREW,Bevel Wshr Hd, 5/16" - 18 x 5/8"

5/16-18 x 5/8 hex, washer hd. bevel cap

2шт.

20

406677R1

PANEL, LH rear hood side, Farmall gasoline and diesel engine tractors

1шт.

20

406679R1

PANEL, LH rear hood side, International gasoline and diesel engine tractors, Farmall tractors w/cab or deluxe flat top fenders

1шт.

385157R1

SCREW,Bevel Wshr Hd, 5/16" - 18 x 5/8"

5/16-18 x 5/8 hex, washer-hd. bevel cap

2шт.

21

399541R11

PANEL, LH front hood side, Farmall tractors

1шт.

21

397884R1

PANEL ASSY.

PANEL, LH front hood side, International tractors

1шт.

389872R1

THUMB SCREW,Knurled Head, 5/16"-18 x 3/4"

SCREW, front hood side panel thumb

2шт.

432327

HOLE PLUG BUTTON,1"

PLUG, 1 inch button

2шт.

22

383840R1

HOOD, LH rear

1шт.

23

383841R1

HOOD, RH rear

1шт.

24

369173R1

SPRING

hood panel

5шт.

110633

NUT,#10-24

5шт.

25

397925R1

PANEL ASSY, LH radiator support

1шт.

385157R1

SCREW,Bevel Wshr Hd, 5/16" - 18 x 5/8"

5/16-18 x 5/8 hex, washer hd. bevel cap

2шт.

26

406438R91

HOOD ASSY, front

1шт.

131-883

SPRING NUT,Rtnr, 5/16" - 18

5/16-18 floating cage

2шт.

389427R91

CAPTIVE WASHER SCREW,Hex, 5/16" - 18 x 3/4"

SCREW, 5/16-18 x 3/4 hex, washer-hd. cap

8шт.

27

380423R11

SUPPORT ASSY, rear hood front

2шт.

131-883

SPRING NUT,Rtnr, 5/16" - 18

5/16-18 floating cage

6шт.

179814

SPACER

4шт.

28

397888R1

BRACKET, support housing mounting, gear drive tractors

1шт.

NLS

NO LONGER SERVICED

2шт.

Выбрано товаров: 0