Запчасти Case IH 2826 (12-05) - POWER, FUEL TANK, SUPPORTS AND PIPING, LP GAS ENGINE TRACTORS Power

Схема запчастей Case IH 2826 - (12-05) - POWER, FUEL TANK, SUPPORTS AND PIPING, LP GAS ENGINE TRACTORS Power
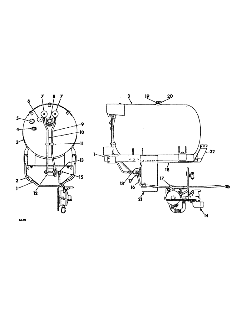
17
4
22
12
13
2
1
16
5
13
17
18
3
9
3
19
14
21
11
20
6
7
15
8
1
10
7
FIT
1:1
100%

Артикул

Название

Примечание

Количество

1

381530R92

SUPPORT ASSY, fuel tank

1шт.

179894

BOLT,Hex, 1/2" - 13 x 3 1/4", Gr 5

4шт.

179837

BOLT,Hex, 3/8" - 16 x 3/4", Gr 5

2шт.

446229

WASHER,1/2" x 1 1/4" x .109"

9/16 x 1-1/4 x .109

4шт.

131-883

SPRING NUT,Rtnr, 5/16" - 18

5/16-18 floating cage, 11/16 in. wide

2шт.

389117R91

NUT

5/16-18 floating cage, 13/16 in. wide

2шт.

2

383805R1

BRACE, fuel tank rear support

1шт.

179839

BOLT,Hex, 3/8" - 16 x 1", Gr 5

2шт.

95-11041

WASHER,3/8"

(13/32 x 13/16 x .065) 3/8"

2шт.

3

381528R91

TANK W/VALVES, fuel, composed of (1) cap 363692R1, (1) gauge 363693R91, (1) gauge 384398R91, (1) valve 109567R91, (2) valve 400678R91, (1) valve 363688R91, (1) valve 363690R91

1шт.

18601R1

NUT,7/16"-20, GC

7/16-20 nylon insert

4шт.

80298R1

BOLT,Hex, 7/16" - 20 x 1 1/2", Gr 8

SCREW, 7/16-20 x 1-1/2 hex-hd. cap

4шт.

369324R1

WASHER, .472 x .88 x .18

8шт.

4

109567R91

VALVE ASSY, vapor return, optional w/376517R91, for components see list of parts under details of fuel valves

1шт.

4

376517R91

VALVE ASSY, vapor return, optional w/109657R91, for components see list of parts under details of fuel valves

1шт.

5

363688R91

VALVE ASSY, 3/4 NPT filler, optional w/376516R91, for components see list of parts under details of fuel valves

1шт.

5

376516R91

VALVE ASSY, 3/4 NPT filler, optional w/363688R91, for components see list of parts under details of fuel valves

1шт.

6

363693R91

GAUGE W/DIAL, 369049R1 ring, 369050R1 and stem assy, 369048R91, fixed liquid level, bastian blessing co, optional with 376514R91

1шт.

6

376514R91

GAUGE W/DIAL, 376524R1 ring, 369050R1 and stem assy, 369048R91, fixed liquid level, fisher governor, optional with 363693R91

1шт.

7

400678R91

VALVE ASSY, service, optional with 376515R91, for components see list of parts under details of fuel valves

2шт.

7

376515R91

VALVE ASSY, service, optional with 400678R91, for components see list of parts under details of fuel valves

1шт.

8

384698R91

GAUGE W/CHAMBER, 369381R91, gasket, 364263R1, four screws, 225593 and two screws, 264314, liquid level magnetic

1шт.

164314

SCREW, 6-32 x 1/4 C-Z cr-rec-pan-hd. tap

2шт.

225593

SCREW, 5/16-24 x 7/8 CDP slt-fil-hd. mach

4шт.

9

380331R11

LINE ASSY, filter to liquid valve fuel

1шт.

10

380335R11

LINE ASSY, filter to vapor valve fuel

1шт.

11

380334R1

CLAMP, fuel line

1шт.

179797

BOLT,Hex, 1/4" - 20 x 1", Gr 5

1шт.

12

346818R91

FILTER ASSY, fuel, for components see list of parts under details of fuel filter

1шт.

9635082

NUT,5/16" - 18, Gr 5

5/16-18 hex

2шт.

179817

BOLT,Hex, 5/16" - 18 x 7/8", Gr 5, Full Thd

2шт.

103320

LOCK WASHER,5/16"

WASHER, LOCK, 5/16"

2шт.

13

364598R1

TEE, 2 way right angle flared tube, at filter

2шт.

14

NSS

NOT SOLD SEPARAT

CARBURETOR ASSY, 1-1/2 updraft, for components see list of parts under details of carburetor, in eng.

2шт.

103026

NUT,3/8"-24, G5

2шт.

15

357495R1

CAP, fuel line tee

1шт.

16

NSS

NOT SOLD SEPARAT

TUBE, regulator to fuel filter, use 18 inches of 3/8 OD copper tubing from 50 ft. roll marked 995063R1, 13.5 inches of insulating loom from 100 ft. roll marked 995074R1 and 2 nuts, 361533R1

1шт.

17

361533R1

NUT, fuel line tee cap

1шт.

18

381534R11

SHIELD ASSY, lower heat

1шт.

256873

BOLT,Hex Serr, 5/16" - 18 x 1/2", 5SPL, Full Thd

4шт.

19

376512R91

VALVE, 1 in. NPT relief, optional with 363690R91

1шт.

19

363690R91

VALVE, 1 in. NPT relief, optional with 376512R91

1шт.

20

363692R1

CAP, relief valve, used with valve, 363690R91

1шт.

20

376513R1

CAP, relief valve, used with valve, 376512R91

1шт.

21

378661R1

SPACER, fuel tank support

1шт.

22

381535R1

SHIELD, lower front heat

1шт.

179812

GEAR

SCREW, 5/16-18 x 1/2 hex-hd. cap

5шт.

95-11034

WASHER,1/4"

11/32 x 11/16 x .065 ga.

5шт.

381532R11

SUPPORT ASSY, fuel tank LH front

1шт.

413-716

BOLT,Hex, 7/16" - 14 x 1", Gr 5

SCREW, 7/16-14 x 1 hex-hd. cap

2шт.

103322

LOCK WASHER,7/16"

WASHER, LOCK, 7/16"

2шт.

Выбрано товаров: 51