Запчасти Case IH 2826 (07-09) - DRIVE TRAIN, MULTIPLE CONTROL VALVE, HYDROSTATIC DRIVE TRACTORS (04) - Drive Train

Схема запчастей Case IH 2826 - (07-09) - DRIVE TRAIN, MULTIPLE CONTROL VALVE, HYDROSTATIC DRIVE TRACTORS (04) - Drive Train
20
18
19
21
11
8
22
5
7
14
15
4
17
3
10
2
9
6
12
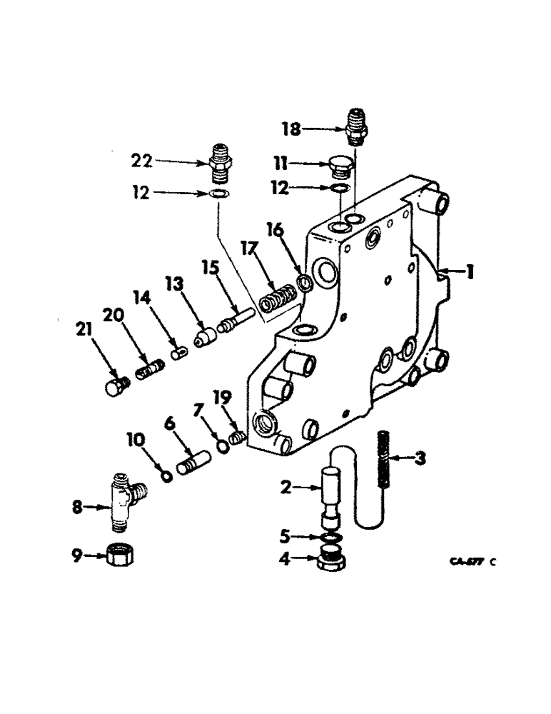
1
13
16
12
FIT
1:1
100%

Артикул

Название

Примечание

Количество

1

406478R91

BODY

ASSY, multiple control valve, composed of (2) pin 20556R1, (2) pin 384116R1, (1) orifice 406481R1, (1) valve 406480R1

1шт.

384116R1

PIN

5/16 x 9/16 dowel

2шт.

20556R1

DOWEL,1/2" x 3/4"

PIN, 1/2 x 3/4 dowel

2шт.

2

406480R1

VALVE

flow control

1шт.

3

379211R1

SPRING

flow control valve

1шт.

4

9410360

PLUG

7/8-14 C-Z hyd. str. thd. o-ring boss

1шт.

5

364885R1

O-RING,0.097" Thk x 0.755" ID, -910, Cl 6, 90 Duro

3/4 x 15/16 x 3/32

1шт.

6

384444R92

VALVE

ASSY, safety, 1500 PSI

1шт.

7

702788R1

O-RING,0.103" Thk x 0.362" ID, -110, Cl 6, 90 Duro

3/8 x 9/16 x 3/32

1шт.

8

9411118

TEE,3/4"-16, 37 Degree x 3/4"-16, O-Ring Br

3/4-16 37 deg. hyd. flared tube adj. str. thd., power steering return

1шт.

9

9403372

CAP,37 Degree, 3/4"-16

3/4-16 37 deg. hyd. flared tube

1шт.

10

570828R1

O-RING,0.087" Thk x 0.644" ID, -908, Cl 6, 90 Duro

.644 x .818 x .087

2шт.

11

9410358

PLUG

9/16-18 C-Z hyd. str. thd. o-ring boss

1шт.

12

364839R1

O-RING,0.078" Thk x 0.468" ID, -906, Cl 6, 90 Duro

6-1, 90 Duro, .468" ID x .078" Thk

3шт.

13

406482R1

NO LONGER SERVICED

POPPET, servo reg. valve

1шт.

14

406483R1

SEAT

servo reg. valve

1шт.

15

406486R1

GUIDE

spring

1шт.

16

406487R1

SPRING WASHER

spring guide

1шт.

17

406488R1

SPRING

servo reg.

1шт.

18

527357R1

LOCK VALVE

VALVE ASSY, brake check

1шт.

19

406481R1

ORIFICE

flow control

1шт.

20

406489R1

STUD

ash

1шт.

21

406490R1

NUT

lock

1шт.

22

9410202

HYD CONNECTOR,9/16"-18, 37 Degree x 9/16"-18, O-Ring

UNION, 9/16-18 37 deg. hyd. flare tube short swivel

1шт.

Выбрано товаров: 24