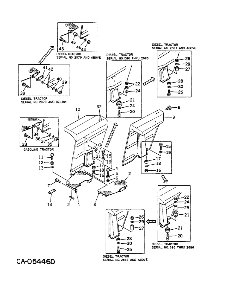
Запчасти Case IH 284 (13-08) - SUPERSTRUCTURE, FENDERS AND PLATFORM (05) - SUPERSTRUCTURE

Схема запчастей Case IH 284 - (13-08) - SUPERSTRUCTURE, FENDERS AND PLATFORM (05) - SUPERSTRUCTURE
26
26
16
22
10
39
17
32
14
15
36
27
42
40
18
23
19
30
7
12
29
24
5
34
2
1
25
38
13
16
20
21
2
19
21
33
11
31
25
4
21
45
29
35
27
9
44
30
18
8
24
43
46
3
22
15
28
37
6
17
28
20
41
FIT
1:1
100%

Артикул

Название

Примечание

Количество

1

1004906C3

STEP

RH, gasoline tractors

1шт.

1

1434033R1

STEP

RH, diesel tractors

1шт.

2

974719C2

INSULATOR

CUSHION

2шт.

3

974571C6

STEP

LH, gasoline tractors

1шт.

3

1062168C2

STEP

LH, diesel tractors

1шт.

4

1014932C1

BOLT, M12 x 20, gasoline tractors w/serial no. 011676 and below

1шт.

5

1014942C1

NUT

M12, gasoline tractors w/serial no. 011676 and below

1шт.

6

25742R1

WASHER

.531 x .750 x .105, gasoline tractors w/serial no. 011676 and below

1шт.

7

1438464R1

BOLT (SPREADER)

BOLT, M10 x 20

3шт.

8

983876C1

REFLECTOR

2шт.

978170C1

NUT

M5

2шт.

978125C1

WASHER

M5 lock

2шт.

9

1004574C92

FENDER ASSY.

FENDER W/PRODUCT GRAPHICS, LH, gasoline tractors

1шт.

9

1064986C93

FENDER

W/PRODUCT GRAPHICS, LH, diesel tractors

1шт.

10

1004575C92

FENDER ASSY.

FENDER W/PRODUCT GRAPHICS, RH, gasoline tractors

1шт.

10

1064987C93

FENDER

W/PRODUCT GRAPHICS, RH, diesel tractors

1шт.

11

1064694C1

BOLT

M8 x 35

1шт.

12

43362

NUT,M8 x 1.25, Cl 10

M8, Cl 10

1шт.

13

25533R1

WASHER

.344 x .688 x .065 PHC hdn, gasoline tractors w/serial no. 011676 and below, diesel tractors w/serial no. 002878 and below

1шт.

14

1003982C1

STOPPER, foot throttle, gasoline tractors

1шт.

86508568

BOLT,Hex, M6 x 1 x 16mm, Cl 8.8

M6 x 16 class 8.8

2шт.

25551R1

WASHER

.281 x .875 x .098 PHC hdn

1шт.

15

1014924C1

BOLT

M12 x 40, gasoline tractors

8шт.

15

1012983C1

BOLT

M12 x 45, diesel tractors

8шт.

16

1014942C1

NUT

M12

8шт.

17

984399C1

INSULATOR

CUSHION

8шт.

18

988891C1

WASHER

M12 lock

8шт.

19

26273R1

WASHER

.531 x 1.062 x .134 PHC hdn, diesel tractors

8шт.

20

1062772C1

BOLT

M12 x 60

8шт.

21

1057974C1

PAD

12шт.

22

1014942C1

NUT

M12

12шт.

23

1057973C1

SPACER

4шт.

24

1064842C1

WASHER

flat

12шт.

25

1012984C1

BOLT

M12 x 50

8шт.

26

1014942C1

NUT

M12

8шт.

27

1430503R2

SPACER

8шт.

28

1430505R1

PAD

8шт.

29

1064842C1

WASHER

flat

8шт.

30

988891C1

WASHER

M12 spring

8шт.

31

1064470C1

GROMMET

3шт.

32

979736C1

PLUG

4шт.

33

30003R1

BOLT,Hex, M8 x 1.25 x 25mm, Cl 10.9, Full Thd

M8 x 25 PHC class 10.9, gasoline tractors w/serial no. 010308 and below

4шт.

33

980496C1

BOLT,M8

BOLT, M8 x 16, gasoline tractors w/serial no. 010309 and above

4шт.

34

983748C1

CUSHION, gasoline tractors w/serial no. 010308 and below

4шт.

35

43362

NUT,M8 x 1.25, Cl 10

M8, Cl 10

4шт.

36

27326R1

WASHER,.344" x 11/16" x .089", HDN

.344 x .688 x .089 PHC hdn

4шт.

37

WASHER, M8 lock, purchase locally, gasoline tractors w/serial no. 010309 and above

4шт.

38

1060479C1

BOLT

M8 x 35

4шт.

39

43362

NUT,M8 x 1.25, Cl 10

M8, Cl 10

8шт.

40

27326R1

WASHER,.344" x 11/16" x .089", HDN

.344 x .688 x .089 PHC hdn

4шт.

41

1062193C1

PLATE

SPACER

2шт.

42

983748C1

CUSHION

4шт.

43

1060479C1

BOLT

M8 x 35

2шт.

44

43362

NUT,M8 x 1.25, Cl 10

M8, Cl 10

2шт.

45

401941R1

SPACER

2шт.

46

27326R1

WASHER,.344" x 11/16" x .089", HDN

.344 x .688 x .089 PHC hdn

2шт.

Выбрано товаров: 56