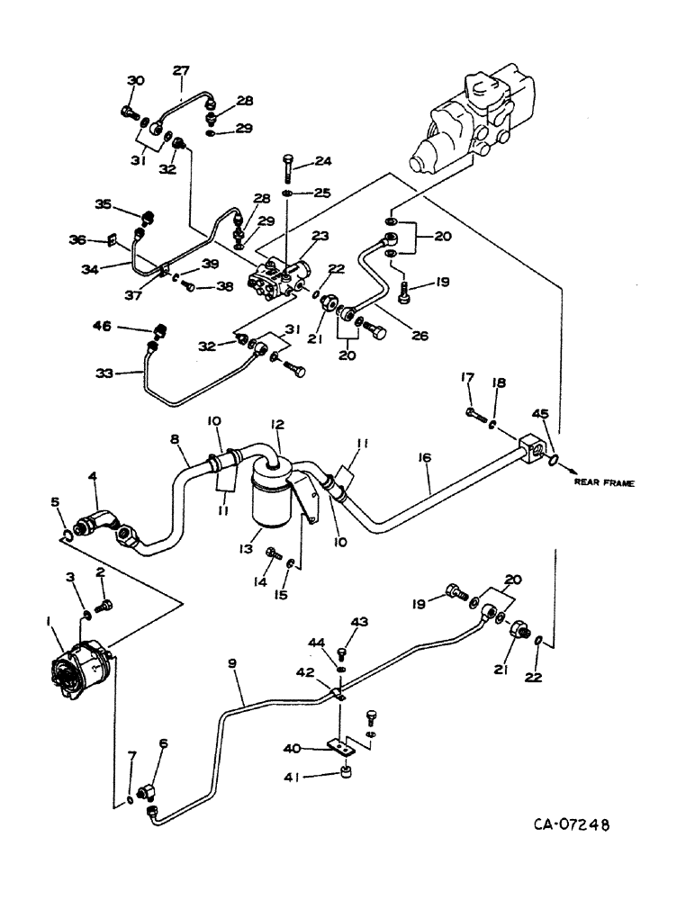
Запчасти Case IH 284 (10-10) - HYDRAULICS, HYDRAULIC PIPING, DIESEL ENGINE TRACTORS WITH POWER STEERING (07) - HYDRAULICS

Схема запчастей Case IH 284 - (10-10) - HYDRAULICS, HYDRAULIC PIPING, DIESEL ENGINE TRACTORS WITH POWER STEERING (07) - HYDRAULICS
21
19
10
25
4
24
13
19
26
20
38
31
33
42
39
20
36
45
46
28
22
30
5
44
11
28
31
16
21
11
18
43
27
22
10
7
12
41
8
20
3
40
32
6
34
17
2
15
29
29
9
14
32
1
35
37
23
FIT
1:1
100%

Артикул

Название

Примечание

Количество

1

1059701C91

PUMP

ASSY, hydraulic, see detail list, 4 wheel drive diesel engine tractors w/serial no. 002972 and below, 2 wheel drive diesel engine tractors w/serial no. 002974 and below

1шт.

1

1437108R91

PUMP

ASSY, hydraulic, see detail list, 4 wheel drive diesel engine tractors w/serial no. 002973 and above, 2 wheel drive diesel engine tractors w/serial no. 002975 and above

1шт.

2

1060581C1

BOLT

2шт.

3

989464C1

WASHER

M10 x M22 x M3.2

2шт.

4

1059939C2

ELBOW

low pressure, used w/pump assy, 1059701C91

1шт.

4

1437070R1

ELBOW

low pressure, used w/pump assy, 1437108R91

1шт.

5

1004456C1

O-RING,23.7mm ID x 3.5mm Width

O-RING

1шт.

6

1061207C1

ELBOW

high pressure, used w/pump assy, 1059701C91

1шт.

6

9410977

ELBOW,90 Degree, 3/4"-16, 37 Degree x 3/4"-16, O-Ring

1/2 C-Z hyd fld adj 90D, high pressure, used w/pump assy, 1437108R91

1шт.

7

1019543C1

OIL SEAL

O-RING, used w/pump assy, 1059701C91

1шт.

7

570828R1

O-RING,0.087" Thk x 0.644" ID, -908, Cl 6, 90 Duro

1/2 OD tube class 6, used w/pump assy, 1437108R91

1шт.

8

1059943C1

PIPE

low pressure front

1шт.

9

1430077R2

PIPE

high pressure

1шт.

10

1059980C1

HOSE

2шт.

11

CLAMP, purchase locally

4шт.

12

1059945C1

CAP

oil filter

1шт.

13

1004366C1

FILTER ASSY

oil

1шт.

14

980490C1

BOLT

M8 x 25

2шт.

15

25552R1

WASHER,.344" x 1" x .098", HDN

.344 x 1.000 x .098 PHC hdn

2шт.

16

1059940C1

PIPE

low pressure rear

1шт.

17

1012978C1

BOLT

M8 x 50

2шт.

18

897948C1

WASHER

M8 lock

2шт.

19

974112C1

FITTING,Hex, 30mm, Drilled

BOLT, joint

3шт.

20

973254C1

GASKET

6шт.

21

1059908C1

BOLT

joint

2шт.

22

1004456C1

O-RING,23.7mm ID x 3.5mm Width

O-RING

2шт.

23

1063532C92

DIVIDER

FLOW DIVIDER ASSY

1шт.

23

1432174R92

DIVIDER

FLOW DIVIDER ASSY, tractors w/all wheel drive

1шт.

24

1012974C1

BOLT

M6 x 55

2шт.

25

978171C1

WASHER

M6 lock

2шт.

26

1059914C1

TUBE

ASSY

1шт.

27

1430388R1

TUBE

flow divider drain

1шт.

28

1060578C1

NIPPLE, LUBE

NIPPLE

2шт.

29

979819C1

WASHER

GASKET

2шт.

30

1059971C1

BOLT

JOINT

2шт.

31

1059909C1

WASHER

4шт.

32

1059910C1

CONNECTOR, ELEC

CONNECTOR

2шт.

33

1059963C1

TUBE

1шт.

34

1430390R1

TUBE,322, 113 mm Length

1шт.

35

1059907C2

NIPPLE, LUBE

NIPPLE

1шт.

36

1430012R1

CLAMP

1шт.

37

384891R1

CLAMP

1шт.

38

980495C1

SCREW

BOLT, M6 x 12

1шт.

39

798084C1

WASHER, M6 lock

1шт.

40

1059965C1

PLATE

1шт.

41

401941R1

SPACER

tractors w/all wheel drive

1шт.

42

773940R1

CLAMP

HOLDER, pipe

1шт.

43

1012976C1

BOLT

1шт.

44

897948C1

WASHER

1шт.

45

974111C1

O-RING

1шт.

46

1431679R91

VALVE

ASSY, check

1шт.

Выбрано товаров: 51