Запчасти Case IH 284 (10-19) - HYDRAULICS, HYD. PUMP, 4WD ENGINE TRACTORS W/ S/N 002972 & BELOW, 2WD TRACTORS W/ S/N 002974 & BELOW (07) - HYDRAULICS

Схема запчастей Case IH 284 - (10-19) - HYDRAULICS, HYD. PUMP, 4WD ENGINE TRACTORS W/ S/N 002972 & BELOW, 2WD TRACTORS W/ S/N 002974 & BELOW (07) - HYDRAULICS
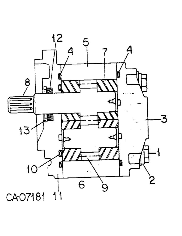
2
3
7
8
13
5
11
12
9
12
10
1
6
4
FIT
1:1
100%

Артикул

Название

Примечание

Количество

1061551C93

PUMP

ASSY, hydraulic

1шт.

1059701C91

PUMP

ASSY, hydraulic tractors w/power steering

1шт.

1

1430355R1

BOLT

for pump 1061551C93

4шт.

1

1430643R1

BOLT, for pump 1059701C91

4шт.

2

1430356R1

WASHER

plain

4шт.

3

1430354R1

COVER

rear

1шт.

4

1430350R1

GASKET

2шт.

5

BODY (NSS)

1шт.

6

BEARING (NSS)

2шт.

7

BEARING (NSS)

2шт.

8

GEAR, drive (NSS)

1шт.

9

GEAR, driven (NSS)

1шт.

10

1430351R1

SEAL

1шт.

11

1430353R1

COVER ASSY

COVER, front

1шт.

12

1430349R1

SEAL ASSY.

SEAL, shaft

1шт.

13

1430352R1

RING

snap

1шт.

Выбрано товаров: 16