Запчасти Case IH 284 (04-04) - BRAKES, PARKING BRAKE, GASOLINE ENGINE TRACTORS (5.1) - BRAKES

Схема запчастей Case IH 284 - (04-04) - BRAKES, PARKING BRAKE, GASOLINE ENGINE TRACTORS (5.1) - BRAKES
30
2
24
28
14
26
29
11
7
3
22
1
10
20
16
19
15
25
5
17
12
23
8
21
a
13
4
23
6
27
9
26
18
FIT
1:1
100%

Артикул

Название

Примечание

Количество

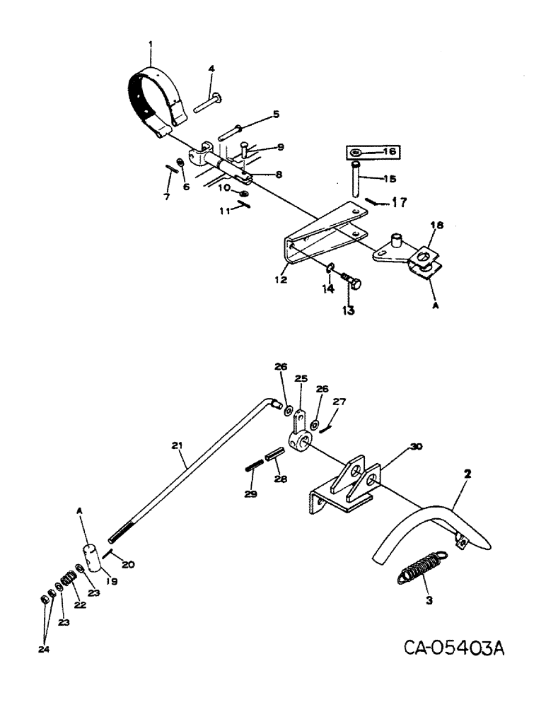
1

973918C93

BAND

BRAKE BAND ASSY, composed of band, brake (NSS), lining (NSS), (5) rivet (NSS)

1шт.

2

984385C1

LEVER

1шт.

3

984738C1

VALVE SPRING

SPRING

1шт.

4

973923C1

PIN

1шт.

5

973922C1

AXLE PIN

PIN

1шт.

6

978085C1

WASHER

M6 x M11.5 x M0.8

1шт.

7

988231C1

PIVOT

PIN, cotter

1шт.

8

973924C2

ROD

brake

1шт.

9

1014984C1

PIN

1шт.

10

897179C1

WASHER

1шт.

11

934787R1

COTTER PIN,M1.6 x 10

PIN, 1.6 x 10mm pln cot

1шт.

12

984392C1

BRACKET

1шт.

13

1014920C1

BOLT

SCREW

2шт.

14

897948C1

WASHER

2шт.

15

22963R1

HEADED PIN,5/16" x 2 1/4"

PIN, 5/16 x 2.250 hd type 5, (replaces 984391C1)

1шт.

When pin 22963R1 is furnished on orders for pin, 984391C1, cotter pin, 103384 must also be furnished on tractors with serial no. 012108 and below

1шт.

16

980491C1

WASHER

M8 x M16 x M1.2, 2 used with serial no. 012108 and below

1шт.

17

PIN, 2 x 12mm pln cot., purchase locally, serial no. 012108 and below

2шт.

17

103384

COTTER PIN,1/8" x 3/4"

Pin, Split (Cotter), , S/N 012109 and above 1/8" x 3/4"

1шт.

18

984388C1

LEVER

1шт.

19

984389C1

PIN

parking

1шт.

20

PIN, 3.2 x 25mm pln cot., purchase locally

2шт.

21

984387C2

ROD

parking

1шт.

22

979404C2

VALVE SPRING

SPRING

1шт.

23

27326R1

WASHER,.344" x 11/16" x .089", HDN

.344 x .688 x .089 PHC hdn

2шт.

24

43362

NUT,M8 x 1.25, Cl 10

M8, Cl 10

2шт.

25

984390C2

LEVER

1шт.

26

978080C1

WASHER

M10 x M18 x M1.6

2шт.

27

PIN, cotter, purchase locally

1шт.

28

1014974C1

PIN

8mm roll

1шт.

29

1014971C1

PIN

5mm roll serial no. 012253 and below

1шт.

30

984386C3

BRACKET

1шт.

1064659C1

BOLT

park brake bracket

2шт.

Выбрано товаров: 33